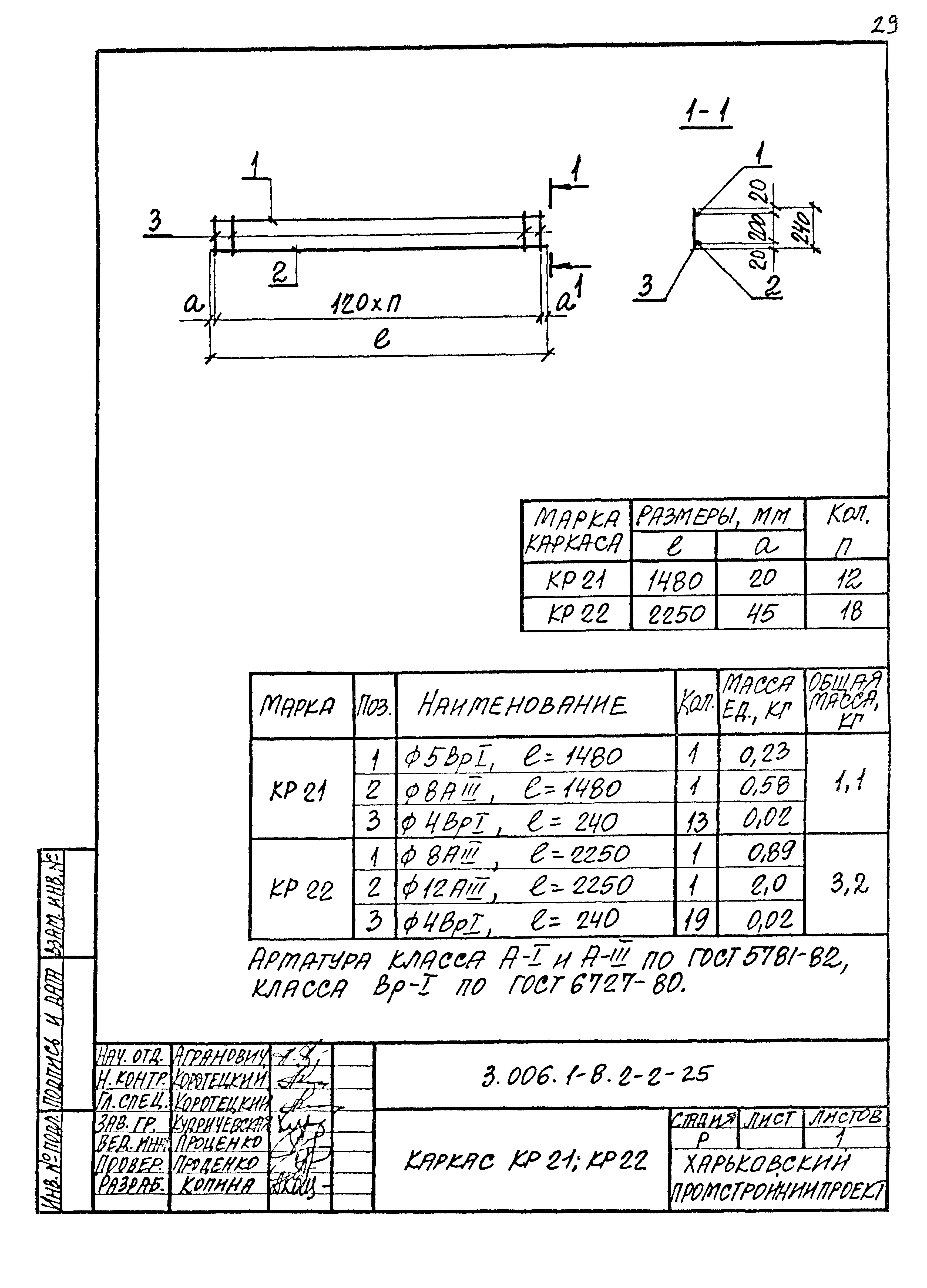
Скачать Серия 3.006.1-8 Выпуск 2-2. Узлы трасс. Лотки, плиты, балки. Арматурные и закладные изделия. Рабочие чертежиДата актуализации: 10.08.2017 Серия 3.006.1-8
Выпуск 2-2. Узлы трасс. Лотки, плиты, балки. Арматурные и закладные изделия. Рабочие чертежи| Обозначение: | Серия 3.006.1-8 | | Обозначение англ: | Series 3.006.1-8 | | Статус: | не определен законодательством | | Название рус.: | Выпуск 2-2. Узлы трасс. Лотки, плиты, балки. Арматурные и закладные изделия. Рабочие чертежи | | Дата добавления в базу: | 01.09.2013 | | Дата актуализации: | 05.05.2017 | | Дата введения: | 01.04.1993 | | Разработан: | ЦНИИпромзданий Харьковский Промстройниипроект
| | Утверждён: | 20.11.1992 Минстрой России (Russian Federation Minstroy 9-1/361)
| | Расположен в: |
|
                                      
|