Скачать Серия 2.420-5 Выпуск 3. Детали каркасов зданий со структурными блоками покрытия из прокатных стальных профилей (типа ЦНИИСК)Дата актуализации: 10.08.2017 Серия 2.420-5
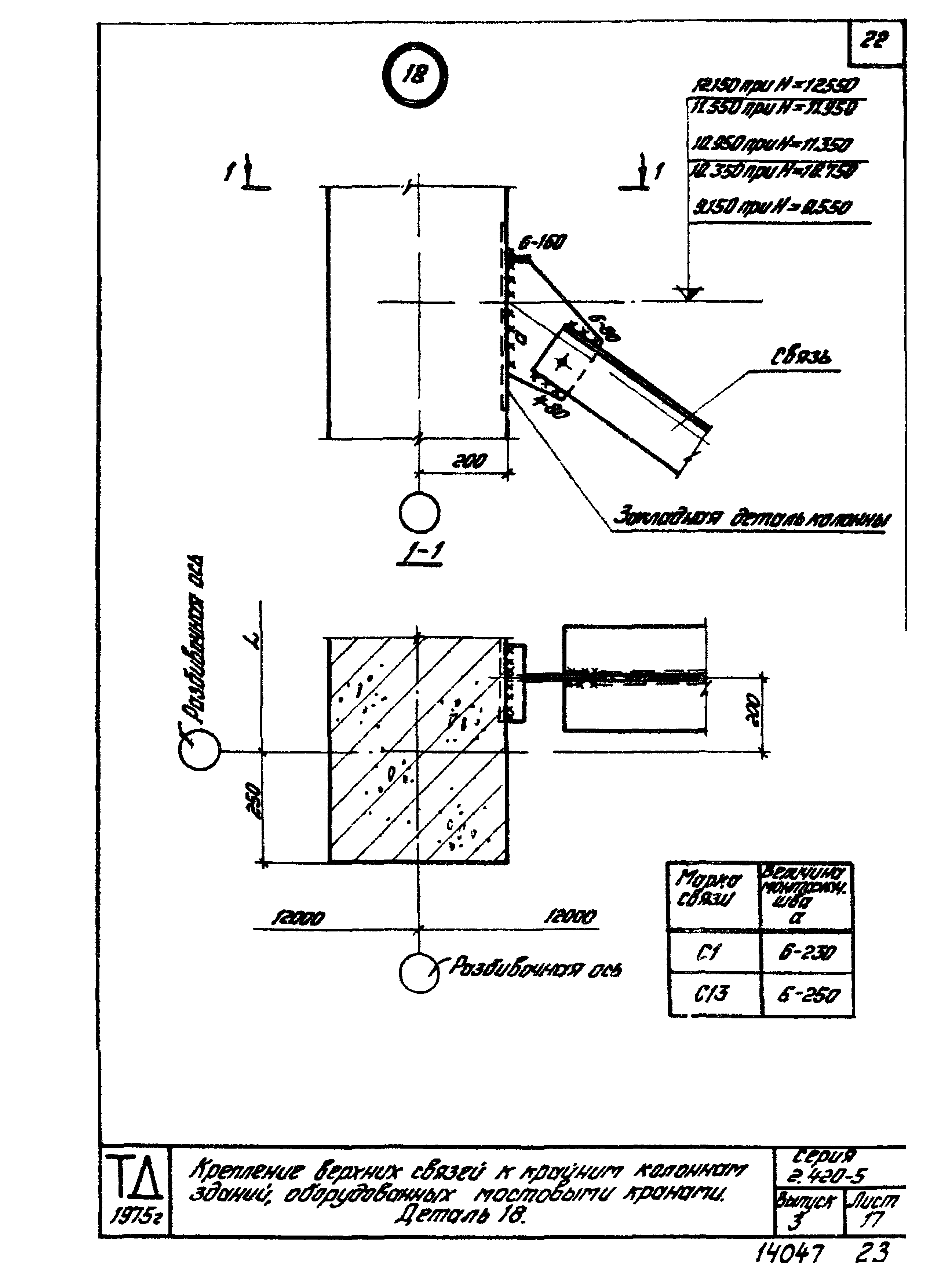
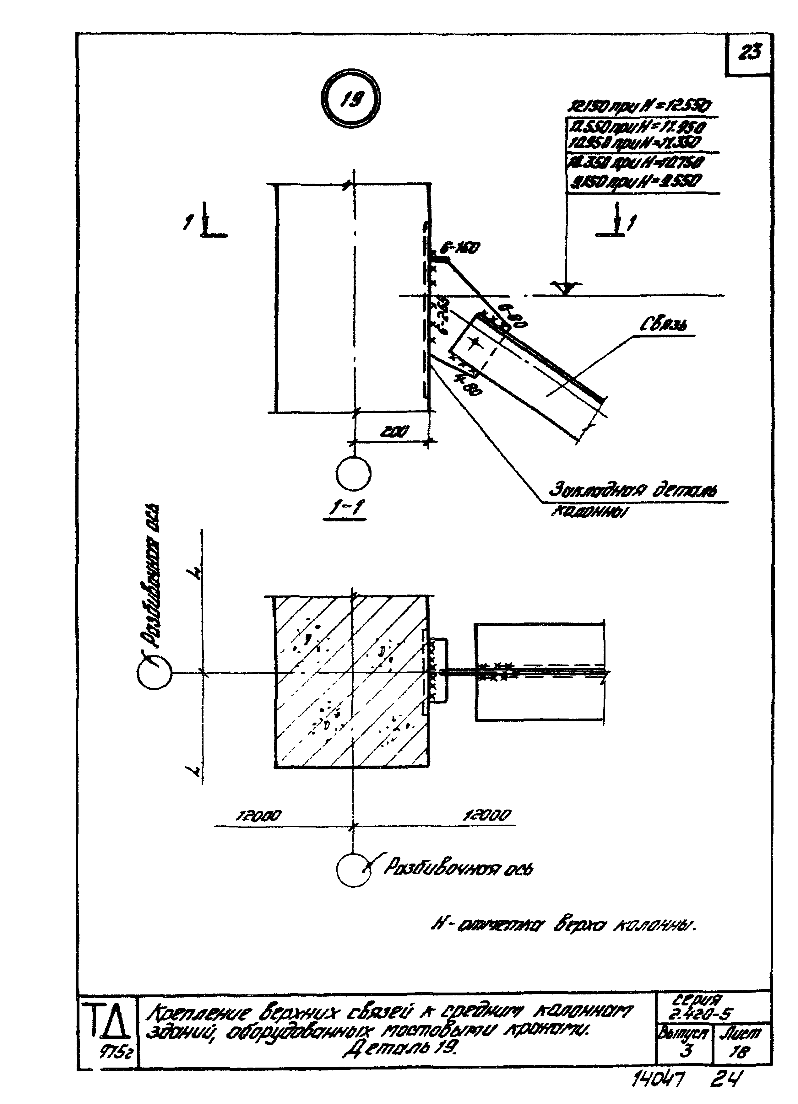
Выпуск 3. Детали каркасов зданий со структурными блоками покрытия из прокатных стальных профилей (типа ЦНИИСК)Обозначение: | Серия 2.420-5 | Обозначение англ: | Series 2.420-5 | Статус: | действует | Название рус.: | Выпуск 3. Детали каркасов зданий со структурными блоками покрытия из прокатных стальных профилей (типа ЦНИИСК) | Дата добавления в базу: | 01.09.2013 | Дата актуализации: | 05.05.2017 | Дата введения: | 01.11.1975 | Разработан: | ЦНИИСК им. В.А. Кучеренко ЦНИИпромзданий
| Утверждён: | 20.11.1975 Госстрой СССР (Государственный комитет Совета Министров СССР по делам строительства) (USSR Gosstroy )
| Расположен в: |
|
                                 
|