| ||||||||||||||||||||||||||||
Скачать Серия 1.424.1-10 Выпуск 0-1с. Материалы для проектирования зданий с расчетной сейсмичностью 7 и 8 балловДата актуализации: 10.08.2017
|
| Обозначение: | Серия 1.424.1-10 |
| Обозначение англ: | Series 1.424.1-10 |
| Статус: | не определен законодательством |
| Название рус.: | Выпуск 0-1с. Материалы для проектирования зданий с расчетной сейсмичностью 7 и 8 баллов |
| Дата добавления в базу: | 01.09.2013 |
| Дата актуализации: | 05.05.2017 |
| Дата введения: | 01.02.1990 |
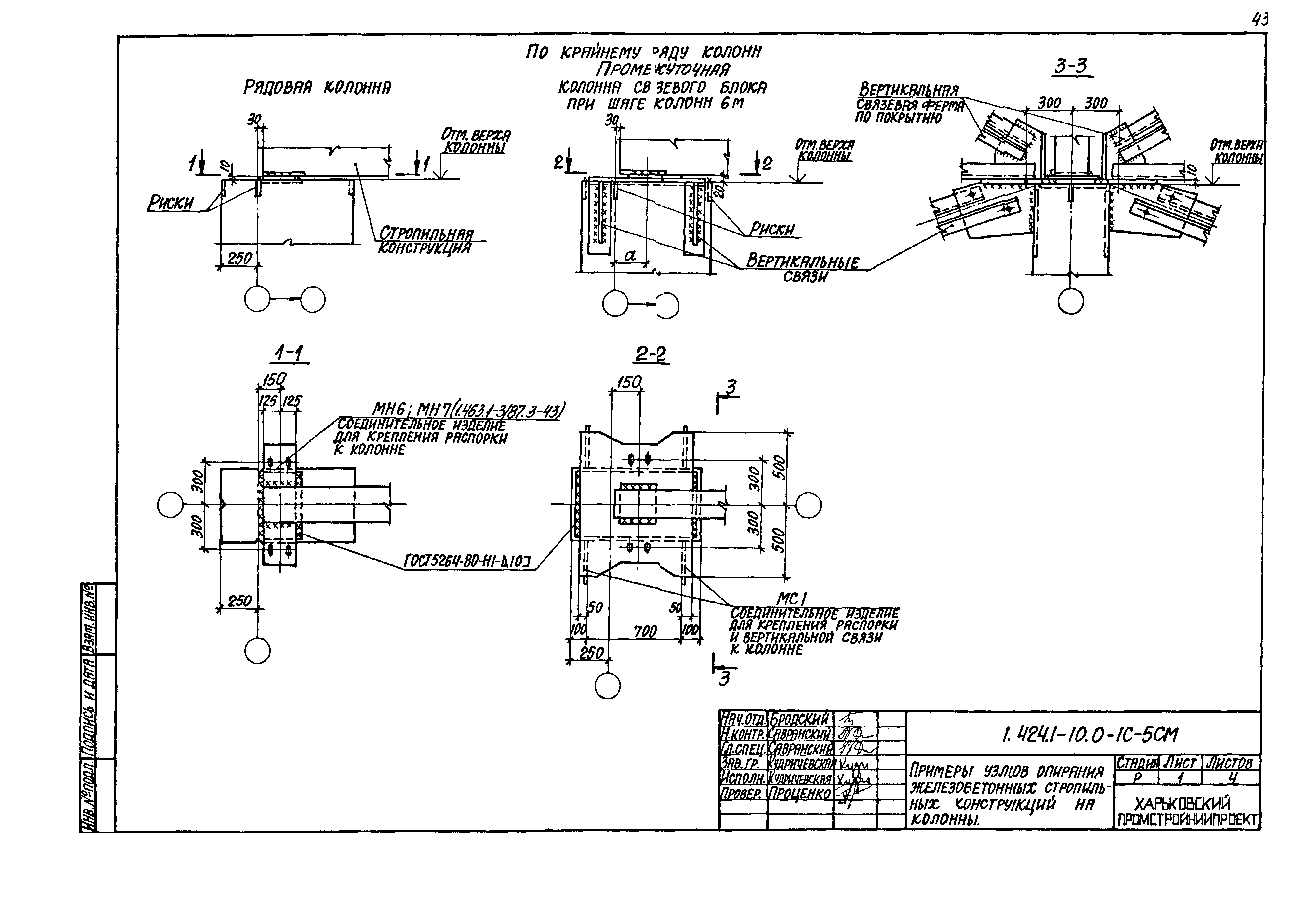
| Оглавление: | 1.424.1-10.0-1С-ПЗ Пояснительная записка 1.424.1-10.0-1С-1НИ Номенклатура колонн 1.424.1-10.0-1С-2СМ Схемы размещения вертикальных связей в продольных рядах колонн 1.424.1-10.0-1С-3СМ Примеры узлов крепления вертикальных связей к колоннам и заделка связевых колонн в фундаменты 1.424.1-10.0-1С-4СМ Схемы установки закладных изделий для крепления связей 1.424.1-10.0-1С-5СМ Примеры узлов опирания железобетонных стропильных конструкций на колонны 1.424.1-10.0-1С-6СМ Примеры узлов опирания стальных стропильных конструкций на колонны 1.424.1-10.0-1С-7СМ Схемы установки закладных изделий в колоннах для крепления стропильных и подстропильных конструкций 1.424.1-10.0-1С-8СМ Схемы установки закладных изделий для крепления подкрановых балок 1.424.1-10.0-1С-9СМ Примеры установки закладных изделий для крепления стеновых панелей 1.424.1-10.0-1С-10 Ключ подбора колонн многопролетных зданий при расчетной сейсмичности 7 баллов. Шаг колонн средних и крайних рядов - 12м 1.424.1-10.0-1С-11 Ключ подбора колонн однопролетных зданий с опорными кранами при расчетной сейсмичности 8 баллов. Шаг колонн 6м. 1.424.1-10.0-1С-12 Ключ подбора колонн многопролетных зданий при расчетной сейсмичности 8 баллов. Высота этажа - 15,6м. Шаг колонн средних рядов -12м, крайних - 6м. 1.424.1-10.0-1С-13 Ключ подбора колонн многопролетных зданий при расчетной сейсмичности 8 баллов. Высота этажа - 15,6м. Шаг колонн средних и крайних рядов -12 м 1.424.1-10.0-1С-14 Ключ подбора колонн многопролетных зданий при расчетной сейсмичности 8 баллов. Высота этажа - 16,8м. Шаг колонн средних рядов -12 м, крайних радов - 6 м 1.424.1-10.0-1С-15 Ключ подбора колонн многопролетных зданий при расчетной сейсмичности 8 баллов. Высота этажа - 16,8м. Шаг колонн средних и крайних рядов -12 м 1.424.1-10.0-1С-16 Ключ подбора колонн многопролетных зданий при расчетной сейсмичности 8 баллов. Высота этажа - 18м. Шаг колонн средних рядов -12 м, крайних рядов - 6м. 1.424.1-10.0-1С-17 Ключ подбора колонн многопролетных зданий при расчетной сейсмичности 8 баллов. Высота этажа - 18м. Шаг колонн средних и крайних рядов -12 м. 1.424.1-10.0-1С-18 Ключ подбора связей. 1.424.1-10.0-1С-19 Нагрузки на фундаменты от сейсмических сил Sкркр; Sсркр;qs. 1.424.1-10.0-1С-20 Нагрузки на фундаменты рядовых колонн от сейсмической силы Sу. 1.424.1-10.0-1С-21 Нагрузки на фундаменты от сейсмической силы Sмк. Расчетная сейсмичность 7 баллов. 1.424.1-10.0-1С-22 Нагрузки на фундаменты от мостовых опорных кранов. |
| Разработан: | Харьковский Промстройниипроект АО ЦНИИпромзданий |
| Утверждён: | 02.08.1989 Госстрой СССР (Государственный комитет Совета Министров СССР по делам строительства) (USSR Gosstroy 4/5-11085) |
| Издан: | ЦИТП Госстроя СССР (CITP, Gosstroy (USSR) 1989 г. ) |
| Расположен в: |




















































































