| ||||||||||||||||||||||||||||
Скачать Серия 1.424.1-6/89 Выпуск 5с. Колонны для зданий с расчетной сейсмичностью 7 и 8 баллов. Рабочие чертежиДата актуализации: 10.08.2017
|
| Обозначение: | Серия 1.424.1-6/89 |
| Обозначение англ: | Series 1.424.1-6/89 |
| Статус: | не определен законодательством |
| Название рус.: | Выпуск 5с. Колонны для зданий с расчетной сейсмичностью 7 и 8 баллов. Рабочие чертежи |
| Дата добавления в базу: | 01.09.2013 |
| Дата актуализации: | 05.05.2017 |
| Дата введения: | 01.10.1990 |
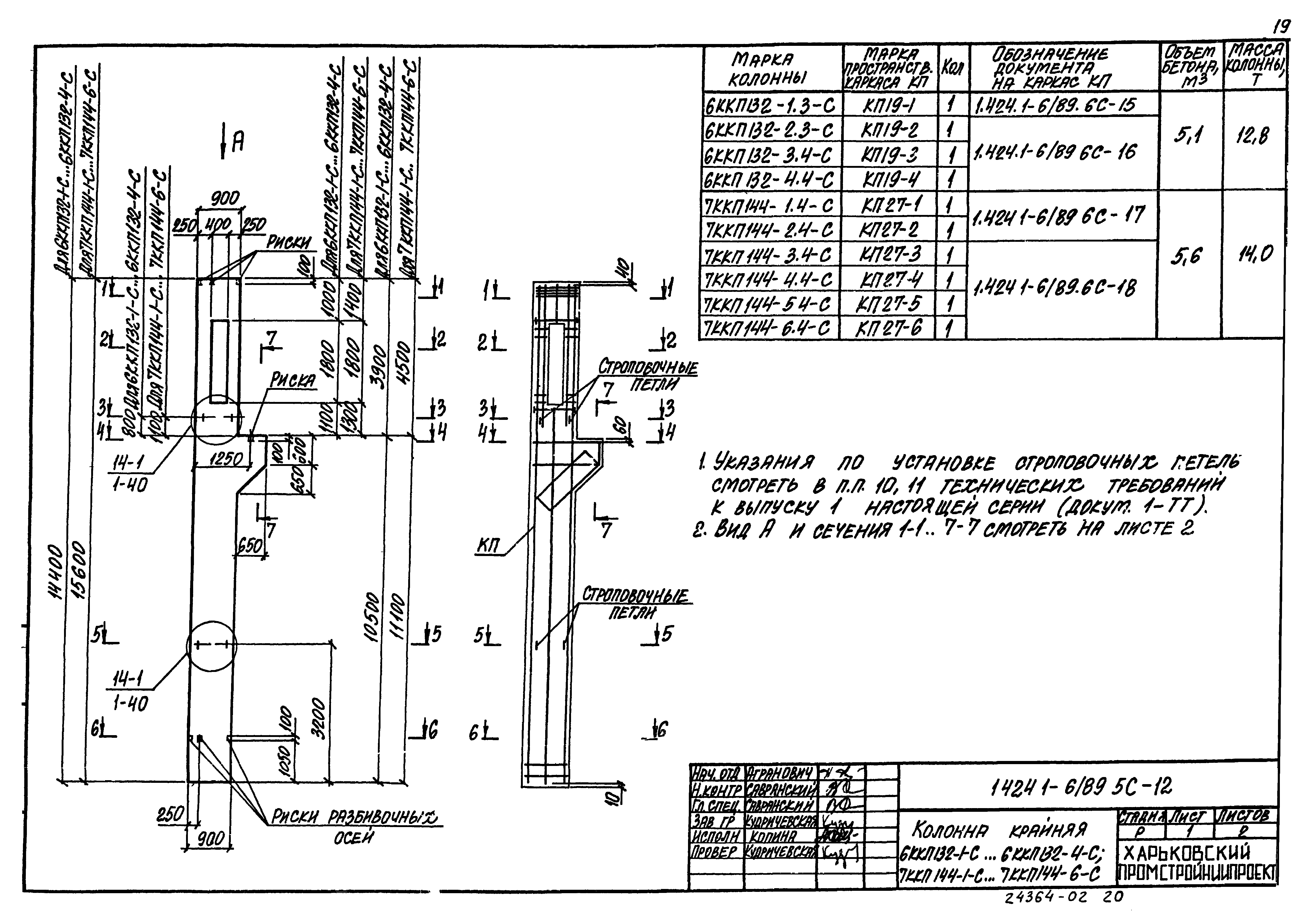
| Оглавление: | 1.424.1-6/89.5С-ТТ Технические требования 1.424.1-6/89.5С-1 Колонна крайняя 1ККП108-1-С…1ККП108-5-С; 1ККП120-1-С…1ККП120-6-С 1.424.1-6/89.5С-2 Колонна крайняя 2ККП108-1-С; 2ККП108-2-С; 4ККП108-1-С…4ККП108-3-С 1.424.1-6/89.5С-3 Колонна крайняя 3ККП108-1-С…3ККП108-3-С; 3ККП120-1-С…3ККП120-4-С 1.424.1-6/89.5С-4 Колонна крайняя 2ККП120-1-С…2ККП120-4-С; 4ККП120-1-С…4ККП120-2-С 1.424.1-6/89.5С-5 Колонна крайняя 6ККП108-1-С…6ККП108-4-С; 7ККП108-1-С…7ККП108-2-С 1.424.1-6/89.5С-6 Колонна крайняя 8ККП108-1-С…8ККП108-3-С; 6ККП120-1-С…6ККП120-6-С 1.424.1-6/89.5С-7 Колонна крайняя 7ККП120-1-С…7ККП120-6-С; 8ККП120-1-С…8ККП120-4-С 1.424.1-6/89.5С-8 Колонна крайняя 1ККП132-1-С…1ККП132-5-С; 3ККП132-1-С…3ККП132-6-С 1.424.1-6/89.5С-9 Колонна крайняя 2ККП132-1-С…2ККП132-6-С; 4ККП132-1-С…4ККП132-3-С 1.424.1-6/89.5С-10 Колонна крайняя 1ККП144-1-С…1ККП144-4-С; 3ККП144-1-С…3ККП144-8-С 1.424.1-6/89.5С-11 Колонна крайняя 2ККП144-1-С…2ККП144-6-С; 4ККП144-1-С…4ККП144-3-С 1.424.1-6/89.5С-12 Колонна крайняя 6ККП132-1-С…6ККП132-4-С; 7ККП144-1-С…7ККП144-6-С 1.424.1-6/89.5С-13 Колонна крайняя 7ККП132-1-С…7ККП132-6-С; 8ККП132-1-С…8ККП132-7-С 1.424.1-6/89.5С-14 Колонна крайняя 6ККП144-1-С…6ККП144-6-С; 8ККП144-1-С…8ККП144-7-С 1.424.1-6/89.5С-15 Колонна средняя 9ККП108-1-С…9ККП108-4-С; 9ККП120-1-С…9ККП120-6-С 1.424.1-6/89.5С-16 Колонна средняя 10ККП108-1-С…10ККП108-3-С 1.424.1-6/89.5С-17 Колонна средняя 13ККП108-1-С…13ККП108-2-С; 14ККП108-1-С…14ККП108-3-С 1.424.1-6/89.5С-18 Колонна средняя 11ККП108-1-С…11ККП108-4-С; 11ККП120-1-С…11ККП120-4-С 1.424.1-6/89.5С-19 Колонна средняя 12ККП108-1-С; 12ККП120-1-С…12ККП120-4-С 1.424.1-6/89.5С-20 Колонна средняя 10ККП120-1-С...10ККП120-4-С; 10ККП132-1-С…10ККП132-7-С 1.424.1-6/89.5С-21 Колонна средняя 13ККП120-1-С...13ККП120-4-С; 14ККП120-1-С…14ККП120-2-С 1.424.1-6/89.5С-22 Колонна средняя 9ККП132-1-С…9ККП132-7-С; 9ККП144-1-С…9ККП144-9-С 1.424.1-6/89.5С-23 Колонна средняя 10ККП144-1-С…10ККП144-8-С 1.424.1-6/89.5С-24 Колонна средняя 11ККП132-1-С…11ККП132-5-С; 11ККП144-1-С…11ККП144-8-С 1.424.1-6/89.5С-25 Колонна средняя 12ККП132-1-С;12ККП132-2-С; 12ККП144-1-С…12ККП144-4-С 1.424.1-6/89.5С-26 Колонна средняя 13ККП132-1-С...13ККП132-3-С; 14ККП132-1-С…14ККП132-3-С 1.424.1-6/89.5С-27 Колонна средняя 13ККП144-1-С...13ККП144-3-С; 14ККП144-1-С…14ККП144-3-С 1.424.1-6/89.5С-28 Узел 22 1.424.1-6/89.5С-29 Узел 23 1.424.1-6/89.5С-30 Узел 24 1.424.1-6/89.5С-31 Узел 25 1.424.1-6/89.5С-32 Узел 26 1.424.1-6/89.5С-33 Узел 27 1.424.1-6/89.5С-34 Узел 28 1.424.1-6/89.5С-35 Узел 29; 29-1; 30; 30-1 1.424.1-6/89.5С-36 Узел 31; 31-1 1.424.1-6/89.5С-37 Деталь устройства шпонок 1.424.1-6/89.5С-38РС Ведомость расхода стали 1.424.1-6/89.5С-39 Указания по замене арматуры класса А-III на арматуру класса Ат-IVС 1.424.1-6/89.5С-40 Таблицы подбора марок плоских каркасов при замене арматуры класса А-III на арматуру класса Ат-IVС |
| Разработан: | Харьковский Промстройниипроект |
| Утверждён: | 02.08.1989 Госстрой СССР (Государственный комитет Совета Министров СССР по делам строительства) (USSR Gosstroy 4/5-1094) |
| Издан: | ЦИТП Госстроя СССР (CITP, Gosstroy (USSR) 1990 г. ) |
| Расположен в: |







































































