Скачать Серия 2.230-1 Выпуск 6. Стены и перегородки с применением профильного стекла для крупнопанельных, каркасно-панельных и кирпичных зданийДата актуализации: 10.08.2017 Серия 2.230-1
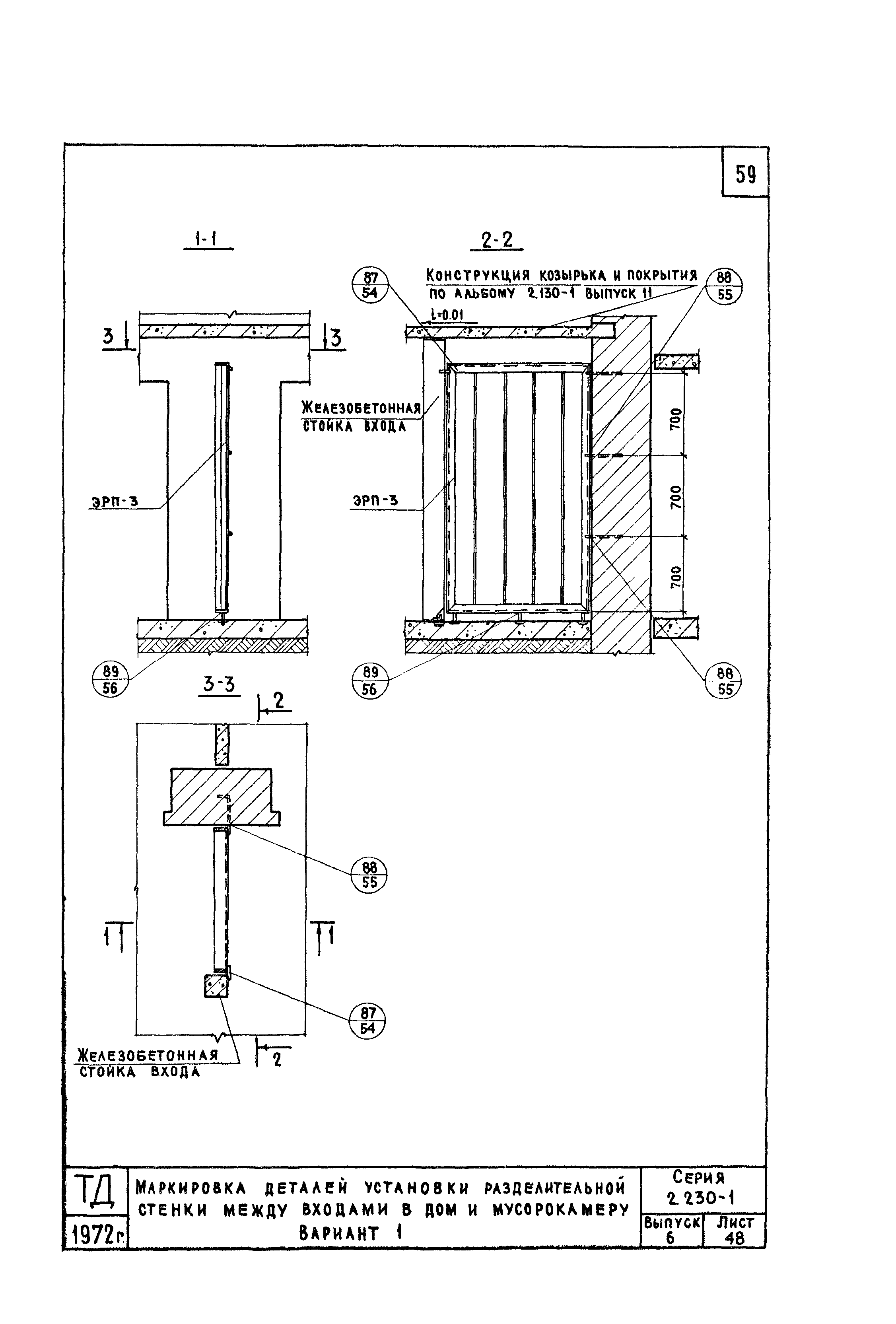
Выпуск 6. Стены и перегородки с применением профильного стекла для крупнопанельных, каркасно-панельных и кирпичных зданийОбозначение: | Серия 2.230-1 | Обозначение англ: | Series 2.230-1 | Статус: | действует | Название рус.: | Выпуск 6. Стены и перегородки с применением профильного стекла для крупнопанельных, каркасно-панельных и кирпичных зданий | Дата добавления в базу: | 01.09.2013 | Дата актуализации: | 05.05.2017 | Дата введения: | 01.11.1972 | Оглавление: | Введение Содержание Пояснительная записка Номенклатура профильного стекла Типы уплотнителей к герметизирующих элементов Маркировка деталей наружного ограждения в деревянной обвязке Маркировка деталей наружного ограждения в металлической обвязке Маркировка деталей наружного входа из профильного стекла коробчатого сечения Маркировка деталей наружного входа из профильного стекла швеллерного сечения Маркировка деталей устройства перегородок Детали 1, 2 Детали 3, 4 Детали 5, 6 Детали 7, 8 Детали 9, 10 Детали 11, 12 Детали 13, 14 Детали 15, 16 Детали 17, 18 Детали 19, 20 Детали 21, 22 Детали 23, 24 Детали 25, 26 Детали 27, 29 Детали 30 - 34 Детали 35 - 40 Детали 41 - 45 Детали 46 - 51 Деталь 2. Разрезы 1-1 и 2-2. Деталь 4. Разрез 3-3 Деталь 6. Разрезы 1-1 и 2-2. Деталь 8. Разрез 3-3 Деталь 10. Разрезы 1-1 и 2-2. Деталь 12. Разрез 3-3 Детали 52, 53 Деталь 16. Разрезы 1-1 и 2-2. Деталь 18. Разрез 3-3 Деталь 20. Разрезы 1-1 и 2-2. Деталь 22. Разрез 3-3 Деталь 24. Разрезы 1-1 и 2-2. Деталь 26. Разрез 3-3 Детали 54 - 58 Детали 59 - 63 Детали 64 - 69 Детали 70 - 74 Детали 75 - 80 Детали крепления подоконного слива Узлы "А" - "Е" Элемент деревянной обвязки профильного стекла Элемент металлической обвязки профильного стекла Монтажные металлические детали Маркировка деталей установки разделительной стенки балкона (лоджии) Маркировка деталей установки разделительной стенки лоджии Маркировка деталей установки разделительной стенки между входами в дом и мусорокамеру. Вариант 1 Маркировка деталей установки разделительной стенки между входами в дом и мусорокамеру. Вариант 2 Маркировка деталей установки оконного блока в лестничной клетке крупнопанельного дома Маркировка деталей установки оконного блока в лестничной клетке в доме со стенами из кирпича Детали 81, 82 Детали 83, 84, 85 Детали 86, 87 Деталь 88 Детали 89, 90 Деталь 91 Детали 92, 93, 94 Детали 95, 96, 97 Таблица монтажных элементов | Разработан: | ЦНИИЭП учебных зданий Госгражданстроя ЦНИИЭП жилища
| Утверждён: | 30.06.1972 Государственный комитет по гражданскому строительству и архитектуре при Госстрое СССР (124)
| Издан: | ЦИТП Госстроя СССР (CITP, Gosstroy (USSR) 1988 г. )
| Расположен в: |
|
                                                                    
|