Скачать Серия 2.110-2м Выпуск 1. Свайные фундаменты кирпичных, крупноблочных и крупнопанельных зданий. Продуваемые подпольяДата актуализации: 10.08.2017 Серия 2.110-2м
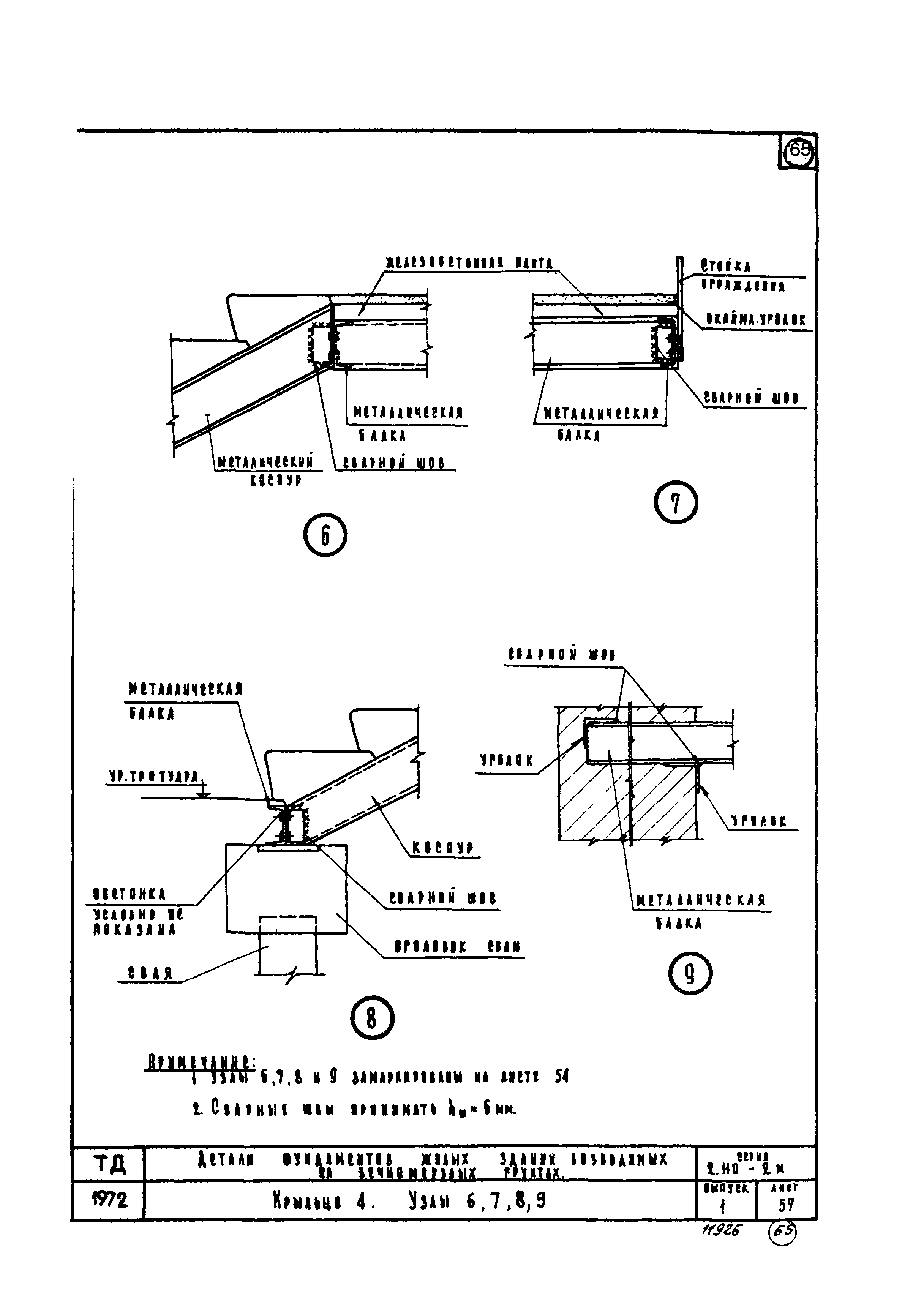
Выпуск 1. Свайные фундаменты кирпичных, крупноблочных и крупнопанельных зданий. Продуваемые подпольяОбозначение: | Серия 2.110-2м | Обозначение англ: | Series 2.110-2м | Статус: | действует | Название рус.: | Выпуск 1. Свайные фундаменты кирпичных, крупноблочных и крупнопанельных зданий. Продуваемые подполья | Дата добавления в базу: | 01.09.2013 | Дата актуализации: | 05.05.2017 | Область применения: | В настоящем выпуске разработаны детали свайных фундаментов кирпичных, крупноблочных и крупнопанельных жилых зданий проектируемых по одному принципу использования вечномерзлых грунтов в качестве оснований (с сохранением вечномерзлого состояния грунта) | Оглавление: | Содержание. Пояснительная записка. Примеры планов ростверков кирпичных и крупноблочных жилых зданий. Маркировка разрезов. Пример плана сборного ростверка крупнопанельного жилого здания. Маркировка разрезов и деталей. Разрезы 1-1, 2-2. Маркировка деталей. Разрезы 3-3, 4-4. Маркировка деталей. Разрезы 5-5, 6-6. Маркировка деталей. Разрезы 7-7, 8-8. Маркировка деталей. Узел сопряжения сваи со сборным ростверком. Деталь 1. Узел сопряжения сваи с монолитным ростверком. Деталь 2. Узел сопряжения сваи с оголовком. Деталь 3. Узел сопряжения балки сборного ростверка с оголовком. Деталь 4. Узел сопряжения сборных балок ростверка в разных уровнях. Деталь 5. Сечение 1-1. Деталь 5. Сечение 2-2. Узел сопряжения балок сборного ростверка с оголовком. Деталь 6. Узел сопряжения балок сборного ростверка. Деталь 7. Примеры планов продуваемого подполья для жилых зданий. Маркировка разрезов. Продуваемое подполье кирпичных и крупноблочных жилых зданий с техническим этажом. Разрезы 9-9, 10-10. Продуваемое подполье кирпичных и крупноблочных жилых зданий с прокладкой сантехнических коммуникаций в подполье. Разрезы 11-11, 12-12. Продуваемое подполье кирпичных и крупноблочных жилых зданий с прокладкой сантехнических коммуникаций в подполье. Разрезы 13-13, 14-14. Продуваемое подполье кирпичных и крупноблочных жилых зданий с техническим этажом. Разрезы 15-15, 16-16. Продуваемое подполье кирпичных и крупноблочных жилых зданий с прокладкой сантехнических коммуникаций в подполье. Разрезы 17-17, 18-18. Продуваемое подполье для панельных жилых зданий с техническим этажом. Разрезы 19-19, 20-20. Продуваемое подполье для панельных жилых зданий с техническим этажом. Разрезы 21-21, 22-22. Продуваемое подполье для панельных жилых зданий с прокладкой сантехнических коммуникаций в подполье. Разрез 23-23, 24-24. Продуваемое подполье для панельных жилых зданий с прокладкой сантехнических коммуникаций в подполье. Разрез 25-25, 26-26. Продуваемое подполье кирпичных и крупнопанельных зданий в месте установки шахты лифта. Продуваемое подполье панельных жилых зданий в месте установки шахты лифта. Свайный фундамент под наружную кирпичную стену. Деталь 8. Свайный фундамент под внутреннюю кирпичную стену. Деталь 9. Свайный фундамент под внутреннюю кирпичную стену при разном уровне перекрытий над подпольем. Деталь 10. Свайный фундамент под внутреннюю кирпичную стену при разном уровне перекрытий над продуваемым подпольем. Деталь 11. Свайный фундамент под внутренние кирпичные стены в местах деформационного шва. Деталь 12. Свайный фундамент с двухрядным расположением свай под внутреннюю кирпичную стену с разным уровнем перекрытия над продуваемым подпольем. Деталь 13. Свайный фундамент с двухрядным расположением свай под внутреннюю кирпичную стену. Деталь 14. Свайный фундамент под наружную стену крупнопанельного здания. Деталь 15. Свайный фундамент под внутреннюю стену крупнопанельного здания. Деталь 16. Свайный фундамент под внутреннюю стену крупнопанельного здания с разным уровнем перекрытия над продуваемым подпольем. Деталь 17. Свайный фундамент под внутренние стены крупнопанельных зданий в месте деформационного шва. Деталь 18. Варианты оформления ростверка. Деталь 19, 20 Варианты оформления ростверка. Деталь 21, 22 Узел крепления цокольной панели к балке ростверка. Деталь 36. Примеры архитектурного решения продуваемого подполья со стороны фасадов здания. Навеска цокольных панелей. Примеры архитектурного решения продуваемого подполья со стороны фасадов здания. Приварка цокольных панелей. Конструкции проходного канала и лотка. Детали 23, 24. Отмостка. Детали 25, 26, 27. Отмостка. Детали 28, 29, 30. Конструкция подвески сантехнических коммуникаций к плитам перекрытия. Деталь 31. Конструкция подвески сантехнических коммуникаций к плитам перекрытия. Деталь 32. Конструкция подвески сантехнических коммуникаций к ростверку. Деталь 33. Конструкция подвески сантехнических коммуникаций к ростверку. Деталь 34. Конструкция подвески электрокабеля. Деталь 35. Крыльцо 1. Крыльцо 2. Крыльцо 3. Крыльцо 4. Крыльцо 2.3. Узлы 1, 2 Крыльцо 2.3. Узлы 3, 4, 5 Крыльцо 4 Узлы 6, 7, 8, 9 | Разработан: | ЛенЗНИИЭП Госгражданстроя
| Утверждён: | 30.11.1971 Государственный комитет по гражданскому строительству и архитектуре при Госстрое СССР (210)
| Расположен в: |
| Нормативные ссылки: | |
                                                               
|