Информационная система
«Ёшкин Кот»

Скачать базу одним архивом
Скачать обновления
История создания базы
Карта сайта

Скачать РМ-2779-01 Часть II

Дата актуализации: 10.08.2017

РМ-2779-01

Часть II

Обозначение: РМ-2779-01
Обозначение англ: РМ-2779-01
Статус:не определен законодательством
Название рус.:Часть II
Дата добавления в базу:01.09.2013
Дата актуализации:05.05.2017
Дата введения:06.04.2000
Область применения:Альбом содержит рабочие чертежи наружных трехслойных навесных стеновых панелей из тяжелого бетона с эффективным утеплителем, предназначенных для жилых домов серии М6 /"ЭКО"/.
Оглавление:РМ-2779-01.ч.П.ПЗ Пояснительная записка
РМ-2779-01.ч.П.НИ Номенклатура изделий
РМ-2779-01.ч.П.РС Ведомость расхода стали
РМ-2779-01.ч.П.6Н.11СБ Панель 6H6-1.Сборочный чертёж
РМ-2779-01.ч.П.6Н.12СБ Панель 6H8-1.Сборочный чертёж
РМ-2779-01.ч.П.6Н.13СБ Панели 6Н8-3,СН8-4. Сборочный чертёж
РМ-2779-01.ч.П.6Н.14СБ Панели 6H8-5.6Н8-6.Сборочный чертёж
РМ-2779-01.ч.П.6Н.15СБ Панель 6Н34-2. Сборочный чертёж
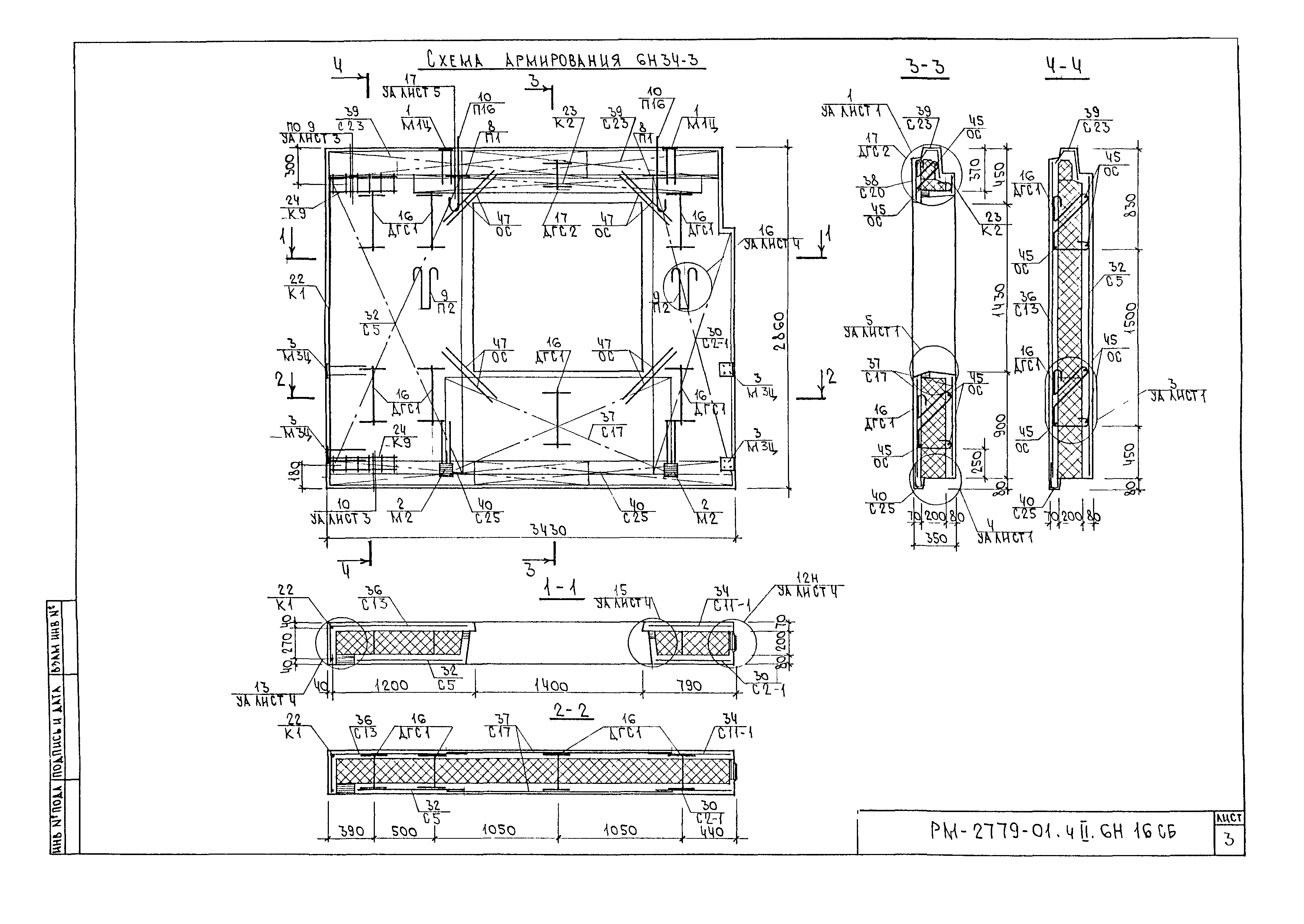
РМ-2779-01.ч.П.6Н.16СБ Панель 6Н34-3. Сборочный чертёж
РМ-2779-01.ч.П.6Н.17СБ Панель 6H34-8-1M. Сборочный чертёж
РМ-2779-01.ч.П.6Н.18СБ Панели 6Н34-10; 6Н34-10-1М. Сборочный чертёж
РМ-2779-01.ч.П.6Н.19СБ Панель 6H38-1-1M.Сборочный чертёж
РМ-2779-01.ч.П.6Н.20СБ Панели 6Н38-3; 6Н38-3-1м. Сборочный чертёж
РМ-2779-01.ч.П.6Н.21СБ Панели 6Н39-1; 6Н39-2 .Сборочный чертёж
РМ-2779-01.ч.П.6Н.22СБ Панели 6Н39-3; 6Н39-4. Сборочный чертёж
РМ-2779-01.ч.П.6Н.23СБ Панели 6Н39-6; 6Н39-7. Сборочный чертёж
РМ-2779-01.ч.П.6Н.24СБ Панели 6Н66-2 ;6Н66-1. Сборочный чертёж
РМ-2779-01.ч.П.6Н.25СБ Панели 6H75-1; 6Н75-2. Сборочный чертёж
РМ-2779-01.ч.П.6Н.26СБ Панели 6Н75-5 ;6Н75-4. Сборочный чертёж
РМ-2779-01.ч.П.6Н.27СБ Панели 6И75-7 ;6Н75-6. Сборочный чертёж
РМ-2779-01.ч.П. Каркасы. Сборочный чертёж
РМ-2779-01.ч.П. Сетки. Сборочный чертёж
РМ-2779-01.ч.П. Петли. Сборочный чертёж
РМ-2779-01.ч.П. Информационная карта
Разработан: МНИИТЭП
Утверждён:06.04.2000 МНИИТЭП (MNIITEP 17-ТО)
Расположен в:Техническая документация Экология СТРОИТЕЛЬНЫЕ МАТЕРИАЛЫ И СТРОИТЕЛЬСТВО Строительные элементы Стены. Перегородки. Фасады Строительство Справочные документы Типовые строительные конструкции, изделия и узлы Разработанные другими министерствами, ведомствами и организациями
РМ-2779-01РМ-2779-01РМ-2779-01РМ-2779-01РМ-2779-01РМ-2779-01РМ-2779-01РМ-2779-01РМ-2779-01РМ-2779-01РМ-2779-01РМ-2779-01РМ-2779-01РМ-2779-01РМ-2779-01РМ-2779-01РМ-2779-01РМ-2779-01РМ-2779-01РМ-2779-01РМ-2779-01РМ-2779-01РМ-2779-01РМ-2779-01РМ-2779-01РМ-2779-01РМ-2779-01РМ-2779-01РМ-2779-01РМ-2779-01РМ-2779-01РМ-2779-01РМ-2779-01РМ-2779-01РМ-2779-01РМ-2779-01РМ-2779-01РМ-2779-01РМ-2779-01РМ-2779-01РМ-2779-01РМ-2779-01РМ-2779-01РМ-2779-01РМ-2779-01РМ-2779-01РМ-2779-01РМ-2779-01РМ-2779-01РМ-2779-01РМ-2779-01РМ-2779-01РМ-2779-01РМ-2779-01РМ-2779-01РМ-2779-01РМ-2779-01РМ-2779-01РМ-2779-01РМ-2779-01РМ-2779-01РМ-2779-01РМ-2779-01РМ-2779-01РМ-2779-01РМ-2779-01РМ-2779-01РМ-2779-01РМ-2779-01РМ-2779-01РМ-2779-01РМ-2779-01РМ-2779-01РМ-2779-01РМ-2779-01РМ-2779-01РМ-2779-01РМ-2779-01РМ-2779-01РМ-2779-01РМ-2779-01РМ-2779-01РМ-2779-01РМ-2779-01РМ-2779-01РМ-2779-01РМ-2779-01РМ-2779-01

© 2013 Ёшкин Кот :-) Карта сайта