Информационная система
«Ёшкин Кот»

Скачать базу одним архивом
Скачать обновления
История создания базы
Карта сайта

Скачать РС1-5320 Плиты перекрытий сплошные железобетонные толщиной 140 мм. Рабочие чертежи

Дата актуализации: 10.08.2017

РС1-5320

Плиты перекрытий сплошные железобетонные толщиной 140 мм. Рабочие чертежи

Обозначение: РС1-5320
Обозначение англ: РС1-5320
Статус:не определен законодательством
Название рус.:Плиты перекрытий сплошные железобетонные толщиной 140 мм. Рабочие чертежи
Дата добавления в базу:01.09.2013
Дата актуализации:05.05.2017
Дата введения:29.07.2004
Оглавление:РС1-5320 ПЗ. Пояснительная записка
РС1-5320 НИ. Номенклатура изделий
РС1-5320 РС. Ведомость расхода стали
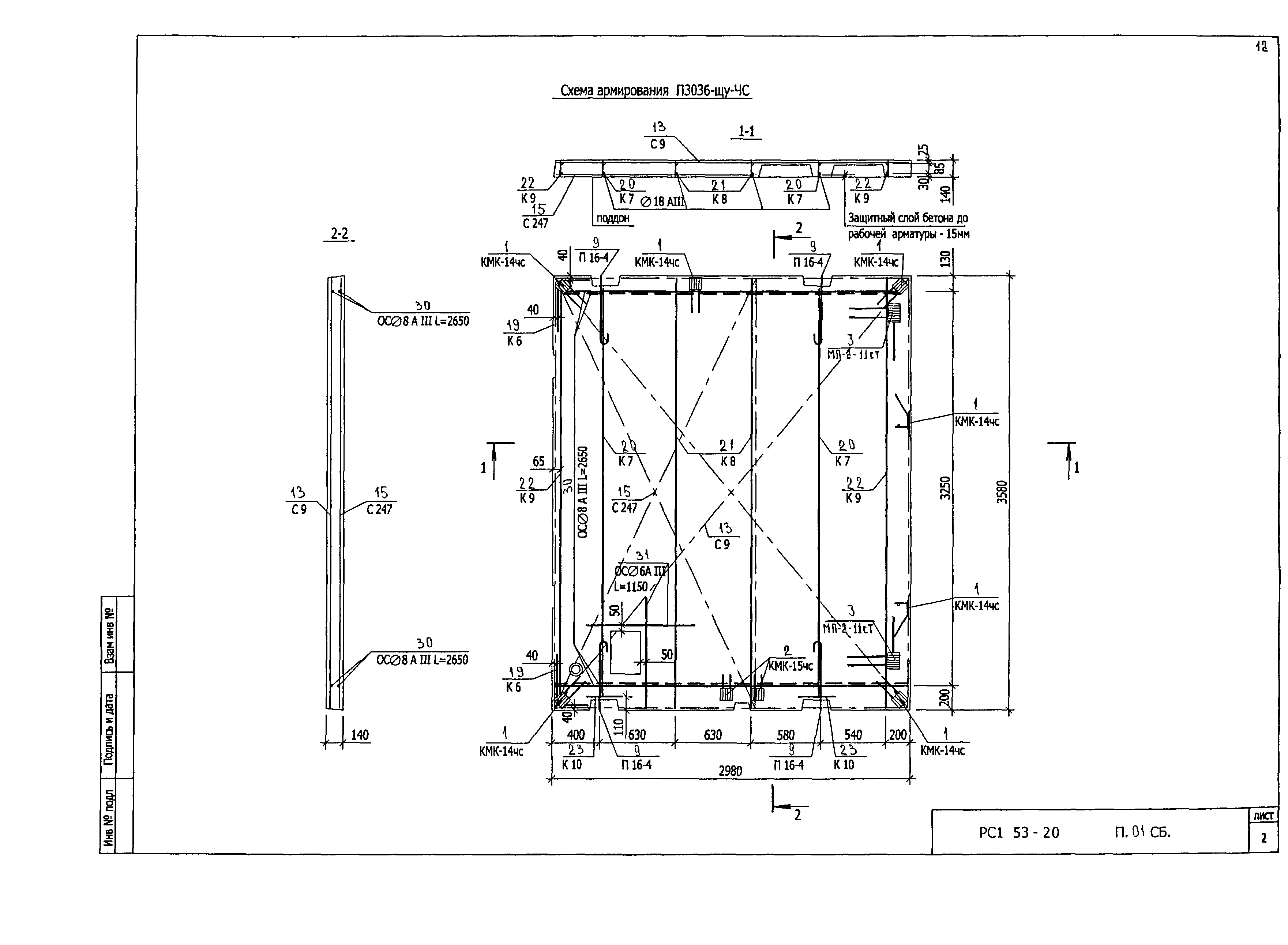
РС1-5320 П 01 СБ. Плита П 303б-щу-ЧС. Сборочный чертеж
РС1-5320 П 02 СБ. Плита П 3627-щу-ЧС. Сборочный чертеж
РС1-5320 П 03 СБ. Плита П 1954-32эу-ЧС. Сборочный чертеж
РС1-5320 П 04 СБ. Плита П 1854-30эу-ЧС. Сборочный чертеж
РС1-5320 П 05 СБ. Плита П 1854-31эу-ЧС. Сборочный чертеж
РС1-5320 П 06 СБ. Плита П 1854-32эу-ЧС. Сборочный чертеж
РС1-5320 П 07 СБ. Плита П 1854-ЗЗэу-ЧС. Сборочный чертеж
РС1-5320 Сетки. Сборочный чертеж
РС1-5320 Каркасы. Сборочный чертеж
РС1-5320 Петли. Сборочный чертеж
РС1-5320 Закладные детали. Сборочный чертеж
РС1-5320 Информационная карта
Разработан: МНИИТЭП
Утверждён:29.07.2004 МНИИТЭП (MNIITEP 30-ТО)
Расположен в:Техническая документация Экология СТРОИТЕЛЬНЫЕ МАТЕРИАЛЫ И СТРОИТЕЛЬСТВО Конструкции зданий Бетонные конструкции Строительство Справочные документы Типовые строительные конструкции, изделия и узлы Разработанные другими министерствами, ведомствами и организациями
РС1-5320РС1-5320РС1-5320РС1-5320РС1-5320РС1-5320РС1-5320РС1-5320РС1-5320РС1-5320РС1-5320РС1-5320РС1-5320РС1-5320РС1-5320РС1-5320РС1-5320РС1-5320РС1-5320РС1-5320РС1-5320РС1-5320РС1-5320РС1-5320РС1-5320РС1-5320РС1-5320РС1-5320РС1-5320РС1-5320РС1-5320РС1-5320РС1-5320РС1-5320РС1-5320

© 2013 Ёшкин Кот :-) Карта сайта