| ||||||||||||||||||||||||||||||||||
Скачать ОСТ 26-2008-83 Крышки плоские люков стальных сварных сосудов и аппаратов. Конструкция и размерыДата актуализации: 10.08.2017
|
| Обозначение: | ОСТ 26-2008-83 |
| Обозначение англ: | OST 26-2008-83 |
| Статус: | не определен законодательством |
| Название рус.: | Крышки плоские люков стальных сварных сосудов и аппаратов. Конструкция и размеры |
| Дата добавления в базу: | 01.09.2013 |
| Дата актуализации: | 05.05.2017 |
| Дата введения: | 30.06.2003 |
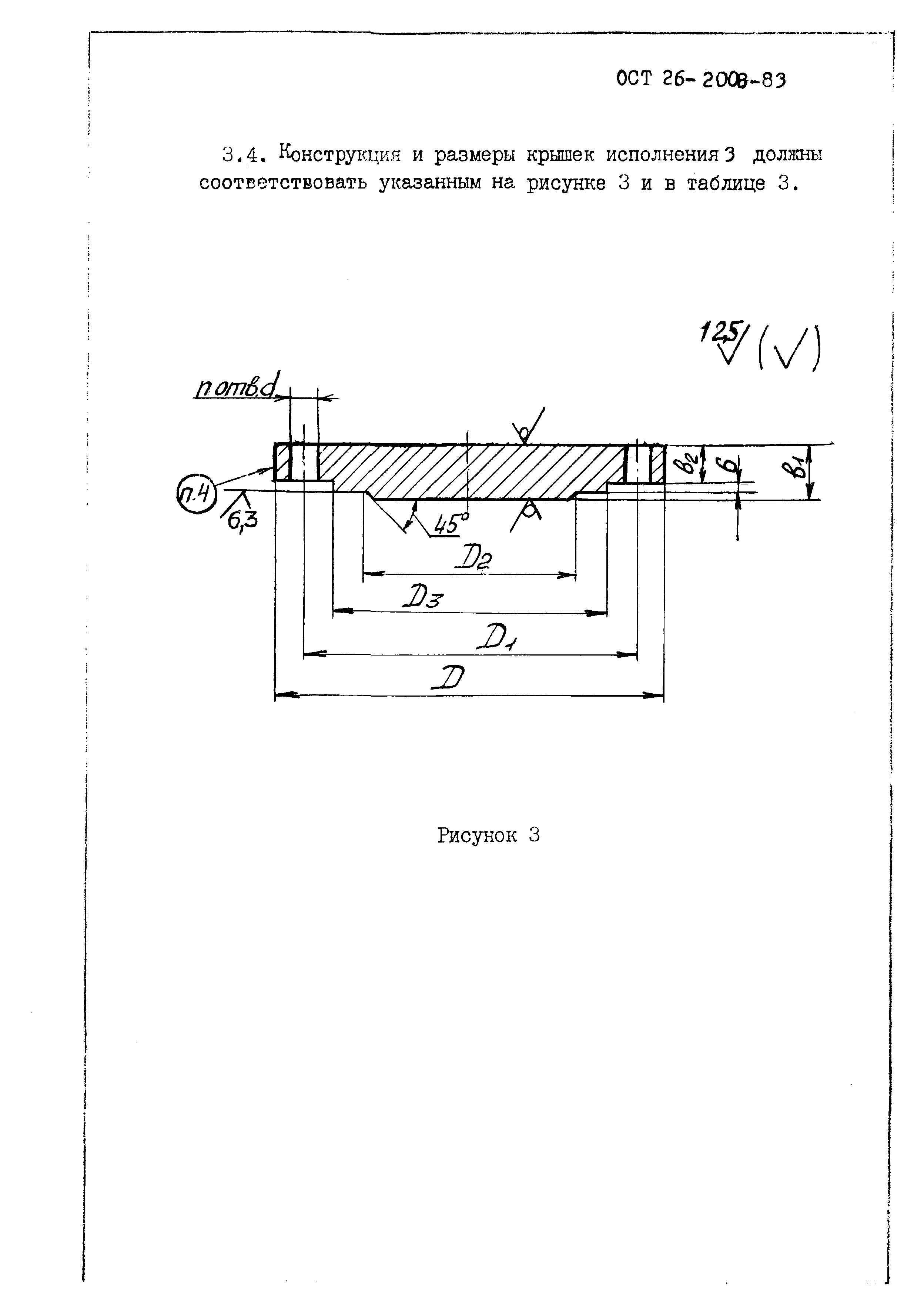
| Оглавление: | 1. Область применения 2. Нормативные ссылки 3. Конструкция и основные размеры 4. Технические требования и маркировка 5. Масса крышек Приложение А Масса крышек |
| Разработан: | НИИхиммаш ЦКБН (Центральное конструкторское бюро нефтеаппаратуры) |
| Утверждён: | 20.03.1983 Министерство химического и нефтяного машиностроения СССР (USSR Ministry of Chemical and Petroleum Machine Manufacturing ) |
| Принят: | ВНИИНЕФТЕМАШ (VNIINEFTEMASH ) |
| Расположен в: | |
| Список изменений: | |
| Заменяет собой: |
|
| Нормативные ссылки: |
|















