Информационная система
«Ёшкин Кот»

Скачать базу одним архивом
Скачать обновления
История создания базы
Карта сайта

Скачать РД 45.302-2002 Аппаратно-программные средства поддержки специализированных прикладных услуг CAMEL для абонентов федеральных сетей сотовой подвижной связи диапазонов 900/1800 МГц, работающих по стандарту GSM фаза 2+. Общие технические требования

Дата актуализации: 10.08.2017

РД 45.302-2002

Аппаратно-программные средства поддержки специализированных прикладных услуг CAMEL для абонентов федеральных сетей сотовой подвижной связи диапазонов 900/1800 МГц, работающих по стандарту GSM фаза 2+. Общие технические требования

Обозначение: РД 45.302-2002
Обозначение англ: RD 45.302-2002
Статус:действует
Название рус.:Аппаратно-программные средства поддержки специализированных прикладных услуг CAMEL для абонентов федеральных сетей сотовой подвижной связи диапазонов 900/1800 МГц, работающих по стандарту GSM фаза 2+. Общие технические требования
Дата добавления в базу:01.09.2013
Дата актуализации:05.05.2017
Дата введения:03.12.2002
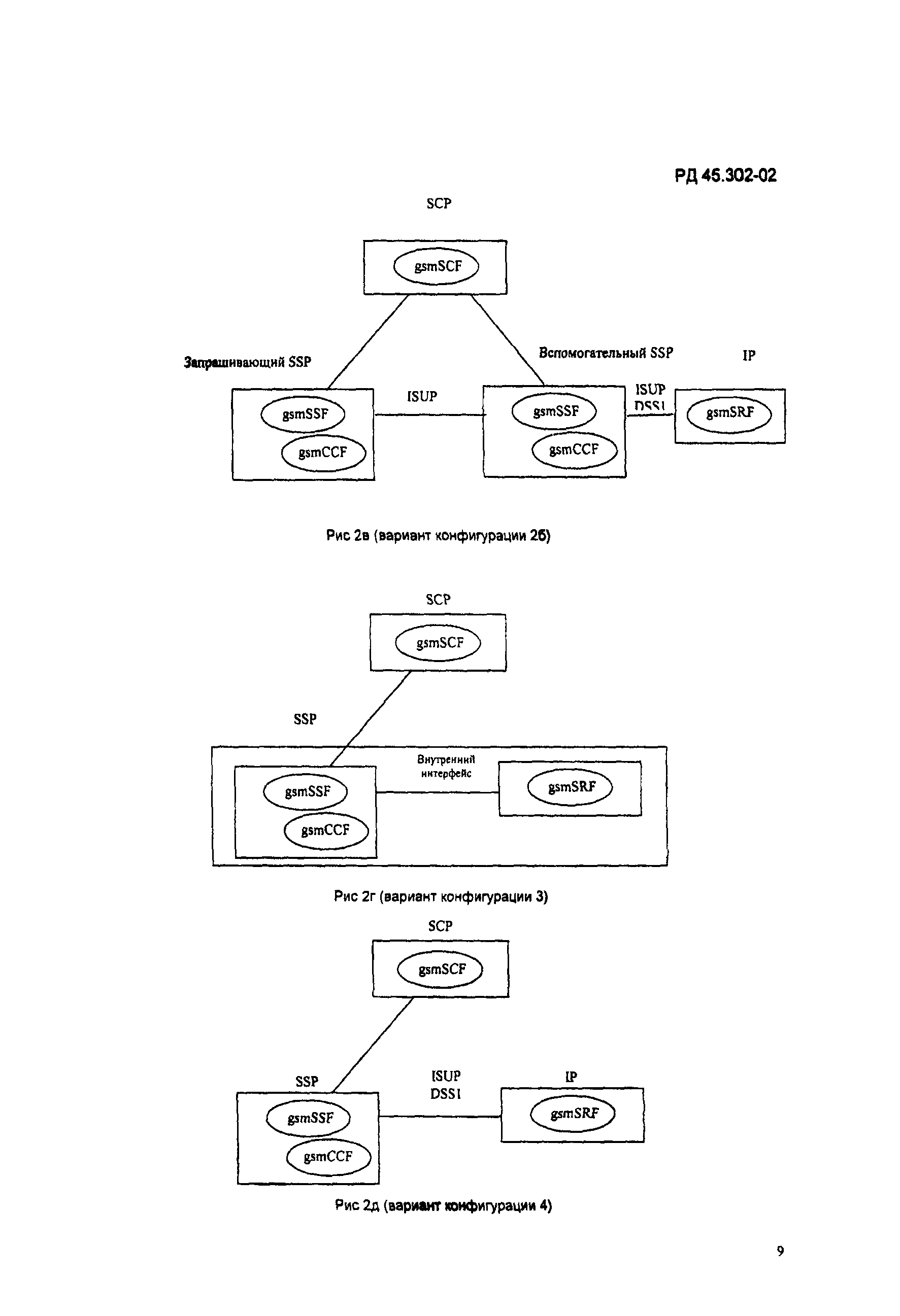
Область применения:Документ распространяется на аппаратно-программные средства поддержки специализированных прикладных услуг CAMEL для абонентов федеральных сетей сотовой подвижной связи диапазонов 900/1800 МГц, работающих по стандарту GSM фаза 2+: центры коммутации подвижной службы (MSC/SSP), регистры местоположения (HLR, VLR), узлы управления услугами (SCP) и интеллектуальную периферию (IP).
Оглавление:1 Область применения
2 Нормативные ссылки
3 Обозначения и сокращения
4 Общие положения
5 Требования к интерфейсам, используемым для поддержки CAMEL
Приложение А Типы операций CAP
Приложение Б Типы аргументов протокла САР
Приложение В Библиография
Разработан: ЛОНИИС
Утверждён:16.01.2003 Министерство РФ по связи и информатизации (Russian Federation Ministry of Communications and Information Technologies БА-ПЗ-131)
Издан: ЦНТИ Информсвязь (2003 г. )
Расположен в:Техническая документация Экология ТЕЛЕКОММУНИКАЦИИ. АУДИО-И ВИДЕОТЕХНИКА Телекоммуникационные услуги. Применение Строительство Нормативные документы Отраслевые и ведомственные нормативно-методические документы Проектирование и строительство объектов связи
Нормативные ссылки:
РД 45.302-2002РД 45.302-2002РД 45.302-2002РД 45.302-2002РД 45.302-2002РД 45.302-2002РД 45.302-2002РД 45.302-2002РД 45.302-2002РД 45.302-2002РД 45.302-2002РД 45.302-2002РД 45.302-2002РД 45.302-2002РД 45.302-2002РД 45.302-2002РД 45.302-2002РД 45.302-2002РД 45.302-2002РД 45.302-2002РД 45.302-2002РД 45.302-2002РД 45.302-2002РД 45.302-2002РД 45.302-2002РД 45.302-2002РД 45.302-2002РД 45.302-2002РД 45.302-2002РД 45.302-2002РД 45.302-2002РД 45.302-2002РД 45.302-2002РД 45.302-2002РД 45.302-2002РД 45.302-2002РД 45.302-2002РД 45.302-2002РД 45.302-2002РД 45.302-2002РД 45.302-2002РД 45.302-2002РД 45.302-2002РД 45.302-2002РД 45.302-2002РД 45.302-2002РД 45.302-2002РД 45.302-2002РД 45.302-2002РД 45.302-2002РД 45.302-2002РД 45.302-2002РД 45.302-2002РД 45.302-2002РД 45.302-2002РД 45.302-2002

© 2013 Ёшкин Кот :-) Карта сайта