Информационная система
«Ёшкин Кот»

Скачать базу одним архивом
Скачать обновления
История создания базы
Карта сайта

Скачать Серия 2.130-1 Выпуск 2. Стены из крупных легкобетонных блоков

Дата актуализации: 10.08.2017

Серия 2.130-1

Выпуск 2. Стены из крупных легкобетонных блоков

Обозначение: Серия 2.130-1
Обозначение англ: Series 2.130-1
Статус:заменен
Название рус.:Выпуск 2. Стены из крупных легкобетонных блоков
Дата добавления в базу:01.09.2013
Дата актуализации:05.05.2017
Дата введения:01.06.1989
Оглавление:Пояснительная записка
Схема 1. Раскладка блоков наружных стен при двухрядной нарезке. Маркировка деталей
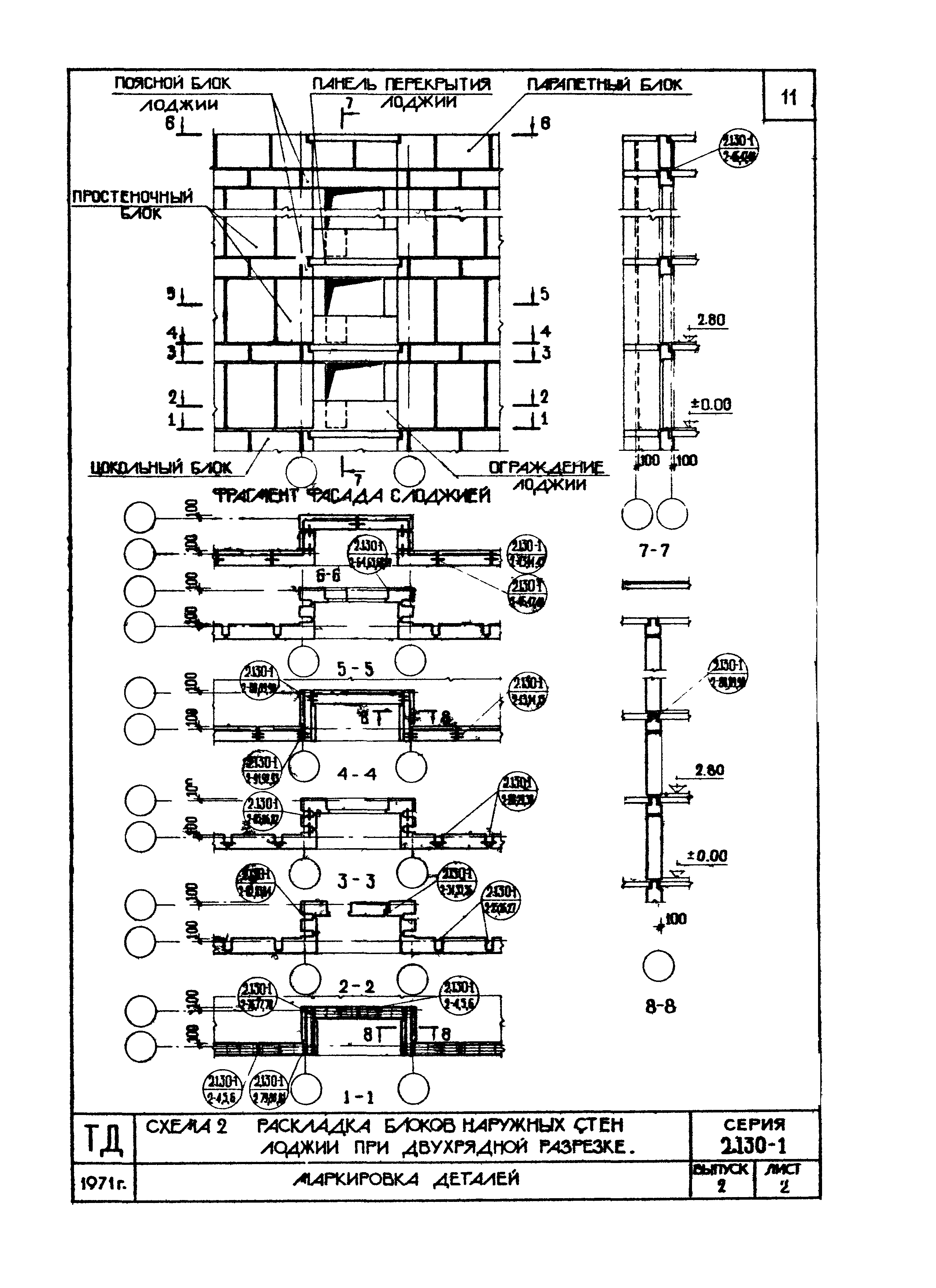
Схема 2. Раскладка блоков наружных стен лоджий при двухрядной нарезке. Маркировка деталей
Схема 3. Раскладка блоков внутренних стен. Маркировка деталей
Схема 4, 5. Установка вентиляционных блоков. Маркировка деталей
Примыкание и крепление угловых цокольных блоков наружных стен. Детали 1, 2, 3
Примыкание и крепление угловых цокольных блоков наружных стен. Разрез 1-1. Детали 4, 5, 6
Примыкание и крепление угловых цокольных блоков наружных стен к внутренним стенам. Детали 7, 8, 9
Примыкание и крепление угловых цокольных блоков у деформационных швов. Детали 10, 11, 12
Примыкание и крепление угловых цокольных блоков у наружных стен. Детали 13, 14, 15
Примыкание и крепление угловых поясных блоков наружных стен. Разрез 1-1. Детали 16, 17, 18
Примыкание и крепление поясных блоков наружных стен к блоку внутренней поперечной стены. Разрез 1-1. Детали 19, 20, 21
Примыкание и крепление поясных блоков наружных стен у деформационного шва. Разрез 1-1. Детали 22, 23, 24
Примыкание и крепление простеночных блоков наружных стен. Детали 25, 26, 27, 28, 29, 30
Примыкание подоконных блоков к простеночным блокам наружных стен. Детали 31, 32, 33, 34, 35, 36
Примыкание блока внутренних стен к блоку наружных стен. Разрез 1-1. Детали 37, 38, 39
Заделка перемычного блока у оконного проема. Разрезы 1-1, 2-2. Детали 40, 41, 42
Примыкание и крепление парапетных блоков. Разрез 1-1. Детали 43, 44, 45
Примыкание и крепление парапетных блоков. Разрезы 2-2, 3-3. Детали 46, 47, 48
Примыкание и крепление парапетных блоков. Детали 49, 50, 51, 52, 53, 54
Примыкание и крепление парапетных блоков у деформационного шва. Разрез 1-1. Детали 55, 56, 57
Примыкание и крепление парапетных блоков у деформационного шва. Разрезы 2-2, 3-3. Детали 58, 59, 60
Примыкание и крепление балконной плиты к перемычному блоку. Разрезы 1-1, 2-2. Детали 61, 62, 63
Примыкание оконных блоков со спаренными переплетами к простеночных блокам наружных стен. Боковое сечение. Детали 64, 65
Примыкание оконных блоков со спаренными переплетами к блокам наружных стен. Сечение по верху и низу проема. Детали 68, 69
Примыкание оконных блоков с раздельными переплетами к простеночным блокам наружных стен. Боковое сечение. Детали 68, 69
Примыкание оконных блоков с раздельными переплетами к блокам наружных стен. Сечение по верху и низу проема. Детали 70, 71
Примыкание оконного и балконного блоков со спаренными переплетами. Примыкание холодного шкафа. Детали 72, 73
Установка блока наружной двери. Боковое сечение и по низу проема. Детали 74, 75
Примыкание и крепление угловых цокольных блоков лоджии. Детали 76, 77, 78
Примыкание и крепление цокольных блоков лоджии и наружной стены. Детали 79, 80, 81
Примыкание и крепление угловых простеночных блоков лоджии. Детали 82, 83, 84, 85, 86, 87
Примыкание и крепление угловых поясных блоков лоджии. Детали 88, 89, 90
Примыкание и крепление угловых поясных блоков лоджии и наружной стены. Детали 91, 92, 93
Анкеровка в местах примыкания несущих внутренних стен к наружным стенам. Разрез 1-1. Детали 94, 95, 96
Примыкание и крепление блоков внутренних стен. Вид 1-1; Разрезы 2-2, 3-3. Детали 97, 98, 99.
Крепление перемычного блока к блоку внутренней стены. Вид 1-1; Разрез 2-2. Деталь 100
Крепление блока внутренней стены и перемычного блока . Вид 1-1. Детали 101
Примыкание и крепление блоков внутренних стен у деформационного шва. Разрезы 1-1, 3-3.Деталь 102, 103
Примыкание и крепление блоков внутренних стен у деформационного шва. Разрезы 1-1, 2-2.Деталь 104
Анкеровка в местах примыкания внутренних стен к деформационному шву. Разрез 1-1. Деталь 105
Примыкание и крепление рядовых блоков внутренних стен у деформационного шва. Деталь 106
Примыкание и крепление электротехнического блока к блокам внутренних стен. Разрез 1-1, 2-2. Детали 107, 108
Примыкание и крепление электротехнического блока к блокам внутренних стен. Разрез 3-3, 4-4. Детали 109, 110
Крепление блоков внутренних стен. Разрез 1-1. Деталь 111
Установка дверных блоков во внутренних стенах. Детали 112, 113, 114
Установка поэтажных вентиляционных блоков. Деталь 115
Установка чердачного вентиляционного блока. Деталь 116
Крепление крышки вентиляционного блока. Деталь 117
Разработан: ЦНИИЭП жилища
Утверждён:22.07.1971 Государственный комитет по гражданскому строительству (131)
Расположен в:Техническая документация Экология СТРОИТЕЛЬНЫЕ МАТЕРИАЛЫ И СТРОИТЕЛЬСТВО Строительные элементы Стены. Перегородки. Фасады Строительство Справочные документы Типовые строительные конструкции, изделия и узлы Общероссийский строительный каталог Строительные конструкции, изделия и узлы зданий и сооружений для всех видов строительства Конструкции, изделия и узлы зданий Ограждающие конструкции Узлы и детали стен и перегородок
Чем заменён:
Серия 2.130-1Серия 2.130-1Серия 2.130-1Серия 2.130-1Серия 2.130-1Серия 2.130-1Серия 2.130-1Серия 2.130-1Серия 2.130-1Серия 2.130-1Серия 2.130-1Серия 2.130-1Серия 2.130-1Серия 2.130-1Серия 2.130-1Серия 2.130-1Серия 2.130-1Серия 2.130-1Серия 2.130-1Серия 2.130-1Серия 2.130-1Серия 2.130-1Серия 2.130-1Серия 2.130-1Серия 2.130-1Серия 2.130-1Серия 2.130-1Серия 2.130-1Серия 2.130-1Серия 2.130-1Серия 2.130-1Серия 2.130-1Серия 2.130-1Серия 2.130-1Серия 2.130-1Серия 2.130-1Серия 2.130-1Серия 2.130-1Серия 2.130-1Серия 2.130-1Серия 2.130-1Серия 2.130-1Серия 2.130-1Серия 2.130-1Серия 2.130-1Серия 2.130-1Серия 2.130-1Серия 2.130-1Серия 2.130-1Серия 2.130-1Серия 2.130-1Серия 2.130-1Серия 2.130-1Серия 2.130-1Серия 2.130-1Серия 2.130-1Серия 2.130-1Серия 2.130-1

© 2013 Ёшкин Кот :-) Карта сайта