| ||||||||||||||||||||||||||||||||||
Скачать ГОСТ Р МЭК 60870-5-103-2005 Устройства и системы телемеханики. Часть 5. Протоколы передачи. Раздел 103. Обобщающий стандарт по информационному интерфейсу для аппаратуры релейной защитыДата актуализации: 10.08.2017
|
| Обозначение: | ГОСТ Р МЭК 60870-5-103-2005 |
| Обозначение англ: | GOST R IEC 60870-5-103-2005 |
| Статус: | действует |
| Название рус.: | Устройства и системы телемеханики. Часть 5. Протоколы передачи. Раздел 103. Обобщающий стандарт по информационному интерфейсу для аппаратуры релейной защиты |
| Название англ.: | Telecontrol equipment and systems. Part 5. Transmission protocols. Section 103. Companion standard for the informative interface of protection equipment |
| Дата добавления в базу: | 01.09.2013 |
| Дата актуализации: | 05.05.2017 |
| Дата введения: | 01.09.2006 |
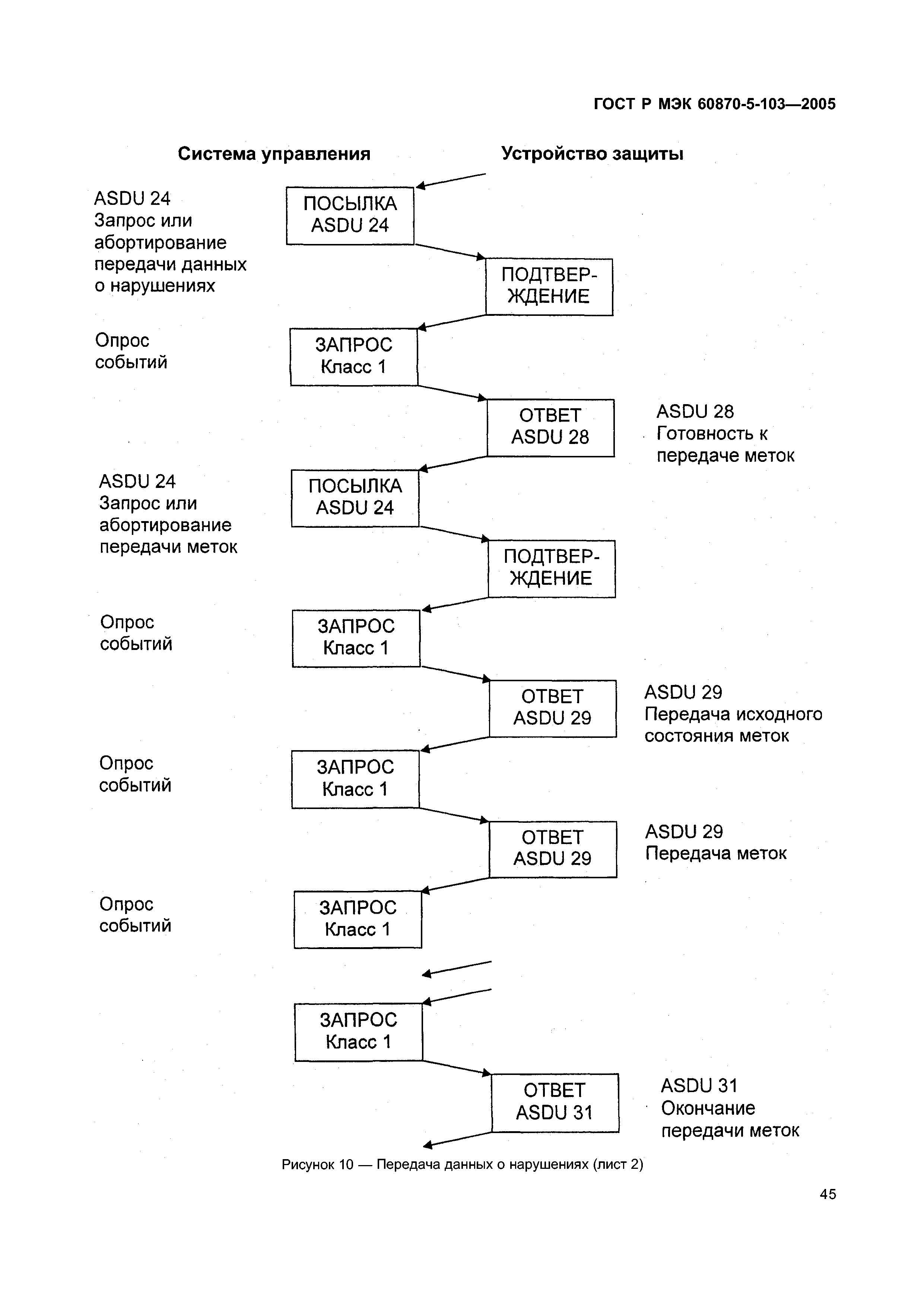
| Область применения: | Обобщающий стандарт распространяется на аппаратуру релейной защиты с последовательной передачей данных двоичными кодами для обмена информацией с системами управления. Стандарт определяет взаимодействие между аппаратурой релейной защиты и устройствами системы управления на подстанции. Стандарт устанавливает определения информационного интерфейса для аппаратуры реелйной защиты. |
| Оглавление: | 1 Область применения 2 Нормативные ссылки 3 Термины и определения 4 Основные правила 5 Физический уровень 6 Канальный уровень 7 Прикладной уровень 8 Возможность взаимодействия (совместимость) Приложение А Групповые функции - примеры построения директории Приложение Б Групповые функции - примеры ASDU Приложение В сведения о соответствии национальных стандартов Российской Федерации ссылочным международным стандартам |
| Разработан: | ВНИИЭ |
| Утверждён: | 28.12.2005 Федеральное агентство по техническому регулированию и метрологии (426-ст) |
| Издан: | Стандартинформ (2006 г. ) |
| Расположен в: | |
| Нормативные ссылки: |
|





















































































