Информационная система
«Ёшкин Кот»

Скачать базу одним архивом
Скачать обновления
История создания базы
Карта сайта

Скачать ОСТ 34-10-570-93 Компенсатор осевой двухлинзовый на Ру <= 1,6 МПа (16 кгс/см2). Конструкция и размеры

Дата актуализации: 10.08.2017

ОСТ 34-10-570-93

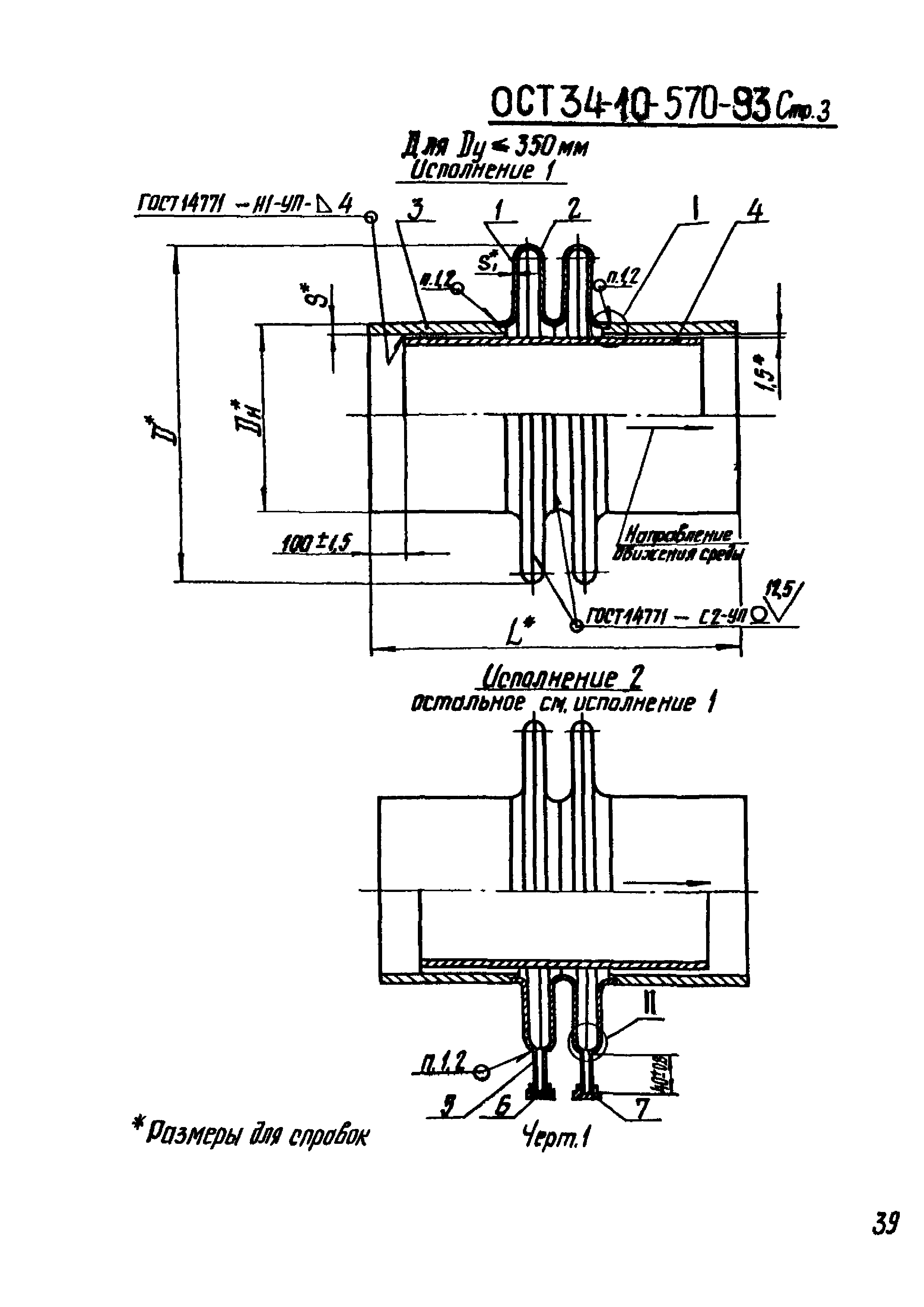
Компенсатор осевой двухлинзовый на Ру <= 1,6 МПа (16 кгс/см2). Конструкция и размеры

Обозначение: ОСТ 34-10-570-93
Обозначение англ: OST 34-10-570-93
Статус:не определен законодательством
Название рус.:Компенсатор осевой двухлинзовый на Ру <= 1,6 МПа (16 кгс/см2). Конструкция и размеры
Дата добавления в базу:01.09.2013
Дата актуализации:05.05.2017
Дата введения:30.06.2003
Область применения:Стандарт распространяется на двухлинзовые осевые компенсаторы Dу от 100 до 2200 мм, предназначенные для компенсации температурных изменений длины трубопроводов только в осевом направлении, работающих в условиях неагрессивных и малоагрессивных сред, с условным давлением Ру до 1,6 МПа (16 кгс/см2) и температурой до 300 градусов С и для Dу <= 400 мм температурой до 425 градусов Цельсия.
Оглавление:1. Конструкция и размеры двухлинзовых осевых компенсаторов
2. Конструкция и размеры полулинз
Расположен в:Техническая документация Экология ГИДРАВЛИЧЕСКИЕ И ПНЕВМАТИЧЕСКИЕ СИСТЕМЫ И КОМПОНЕНТЫ ОБЩЕГО НАЗНАЧЕНИЯ Трубопроводы и их компоненты Трубопроводы и их компоненты в целом Строительство Стандарты Отраслевые стандарты и технические условия Отраслевые стандарты
Нормативные ссылки:
ОСТ 34-10-570-93ОСТ 34-10-570-93ОСТ 34-10-570-93ОСТ 34-10-570-93ОСТ 34-10-570-93ОСТ 34-10-570-93ОСТ 34-10-570-93ОСТ 34-10-570-93ОСТ 34-10-570-93ОСТ 34-10-570-93ОСТ 34-10-570-93ОСТ 34-10-570-93ОСТ 34-10-570-93ОСТ 34-10-570-93ОСТ 34-10-570-93ОСТ 34-10-570-93ОСТ 34-10-570-93ОСТ 34-10-570-93ОСТ 34-10-570-93ОСТ 34-10-570-93ОСТ 34-10-570-93ОСТ 34-10-570-93ОСТ 34-10-570-93

© 2013 Ёшкин Кот :-) Карта сайта