| ||||||||||||||||||||||||||||
Скачать ОСТ 1 52435-79 Труборазвальцовка. Конструкция и размерыДата актуализации: 10.08.2017
|
| Обозначение: | ОСТ 1 52435-79 |
| Обозначение англ: | 52435-79 |
| Статус: | действует |
| Название рус.: | Труборазвальцовка. Конструкция и размеры |
| Дата добавления в базу: | 01.09.2013 |
| Дата актуализации: | 05.05.2017 |
| Дата введения: | 01.07.1980 |
| Область применения: | Стандарт распространяется на труборазвальцовку, предназначенную для развальцовки концов труб по ГОСТ 13954-74. |
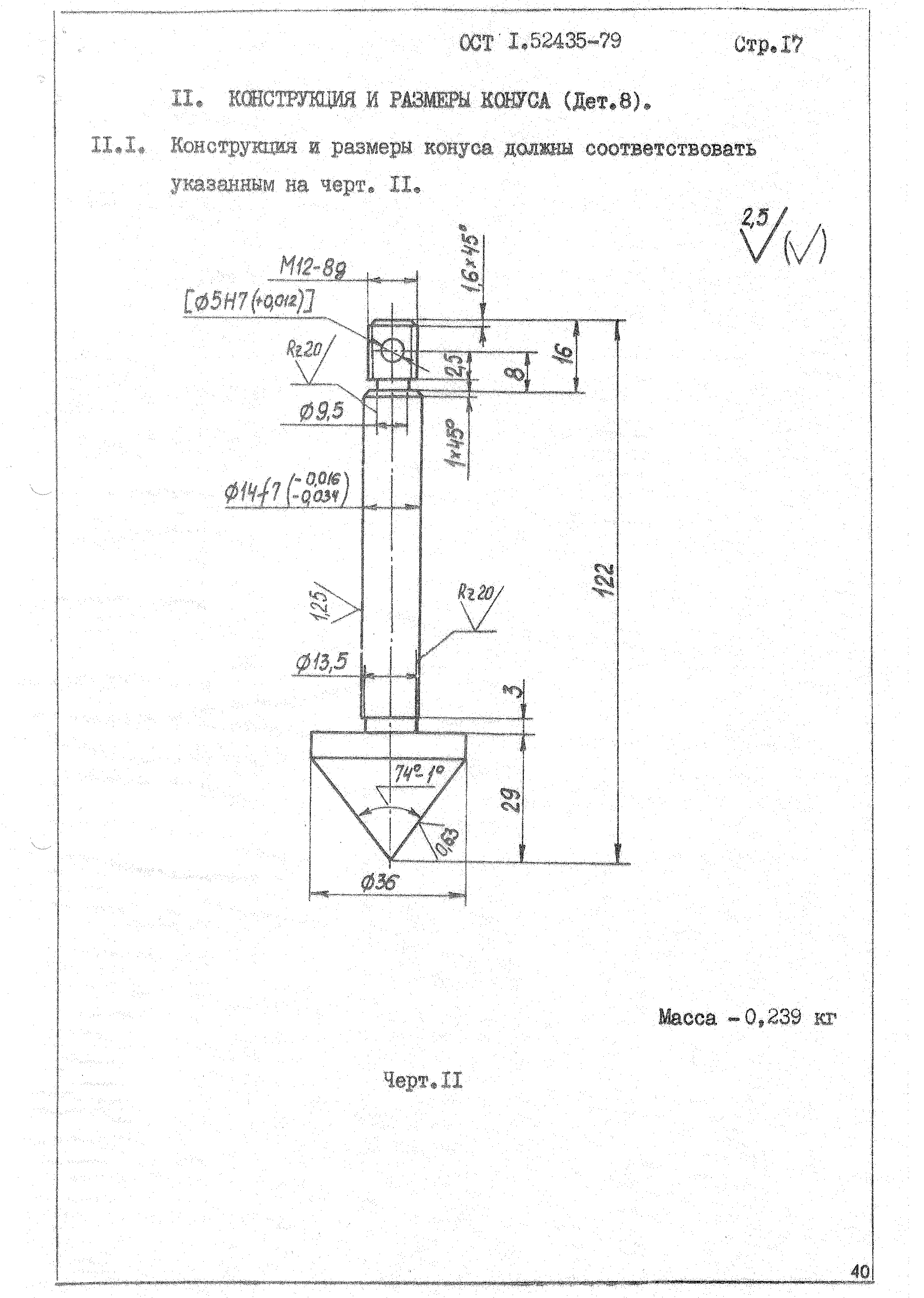
| Оглавление: | 1. Конструкция и размеры труборазвальцовки 2. Конструкция и размеры скобы 3. Конструкция и размеры гайки 4. Конструкция и размеры ребра 5. Конструкция и размеры шайбы 6. Конструкция и размеры ручки 7. Конструкция и размеры стержня 8. Конструкция и размеры колпачка 9. Конструкция и размеры рычага 10. Конструкция и размеры гайки 11. Конструкция и размеры конуса 12. Конструкция и размеры сухаря 13. Конструкция и размеры губки подвижной 14. Конструкция и размеры губки неподвижной |
| Утверждён: | 28.01.1980 Министерство (Ministry 087-16) |
| Расположен в: | |
| Заменяет собой: |
|






















