Скачать ОСТ 1 10334-72 Угольники ввертные. Конструкция и размерыДата актуализации: 10.08.2017 ОСТ 1 10334-72
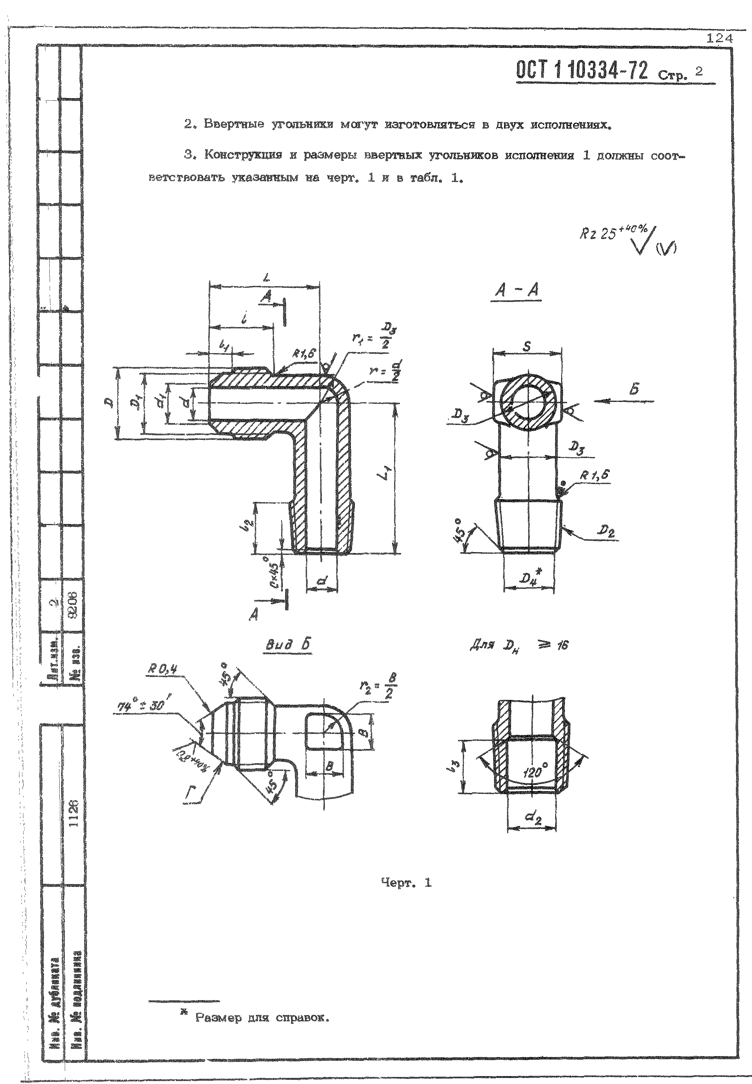
Угольники ввертные. Конструкция и размерыОбозначение: | ОСТ 1 10334-72 | Обозначение англ: | 10334-72 | Статус: | действует | Название рус.: | Угольники ввертные. Конструкция и размеры | Дата добавления в базу: | 01.09.2013 | Дата актуализации: | 05.05.2017 | Дата введения: | 01.01.1974 | Область применения: | Настоящий стандарт распространяется на ввертные угольники, предназначенные для соединений трубопроводов по наружному конусу | Утверждён: | 22.12.1972 Министерство (Ministry 087-16)
| Расположен в: |
|
     
|