| ||||||||||||||||||||||||||||||||
Скачать Пособие к СНиП 2.08.02-89 Проектирование профессионально-технических, средних специальных учебных заведений и учебных комбинатовДата актуализации: 10.08.2017
|
| Обозначение: | Пособие к СНиП 2.08.02-89 |
| Обозначение англ: | SNIP Handbook 2.08.02-89 |
| Статус: | не действует |
| Название рус.: | Проектирование профессионально-технических, средних специальных учебных заведений и учебных комбинатов |
| Дата добавления в базу: | 01.09.2013 |
| Дата актуализации: | 05.05.2017 |
| Дата введения: | 01.01.2010 |
| Область применения: | В пособии рассмотрены функциональные особенности, основные принципы проектирования профессионально-технических училищ, техникумов, учебных комбинатов и комплексов учебных заведений, их участки, размещение учебных заведений в структуре города. Предназначено для специалистов, занимающихся вопросами проектирования, строительства и эксплуатации профессионально-технических, средних специальных заведений. |
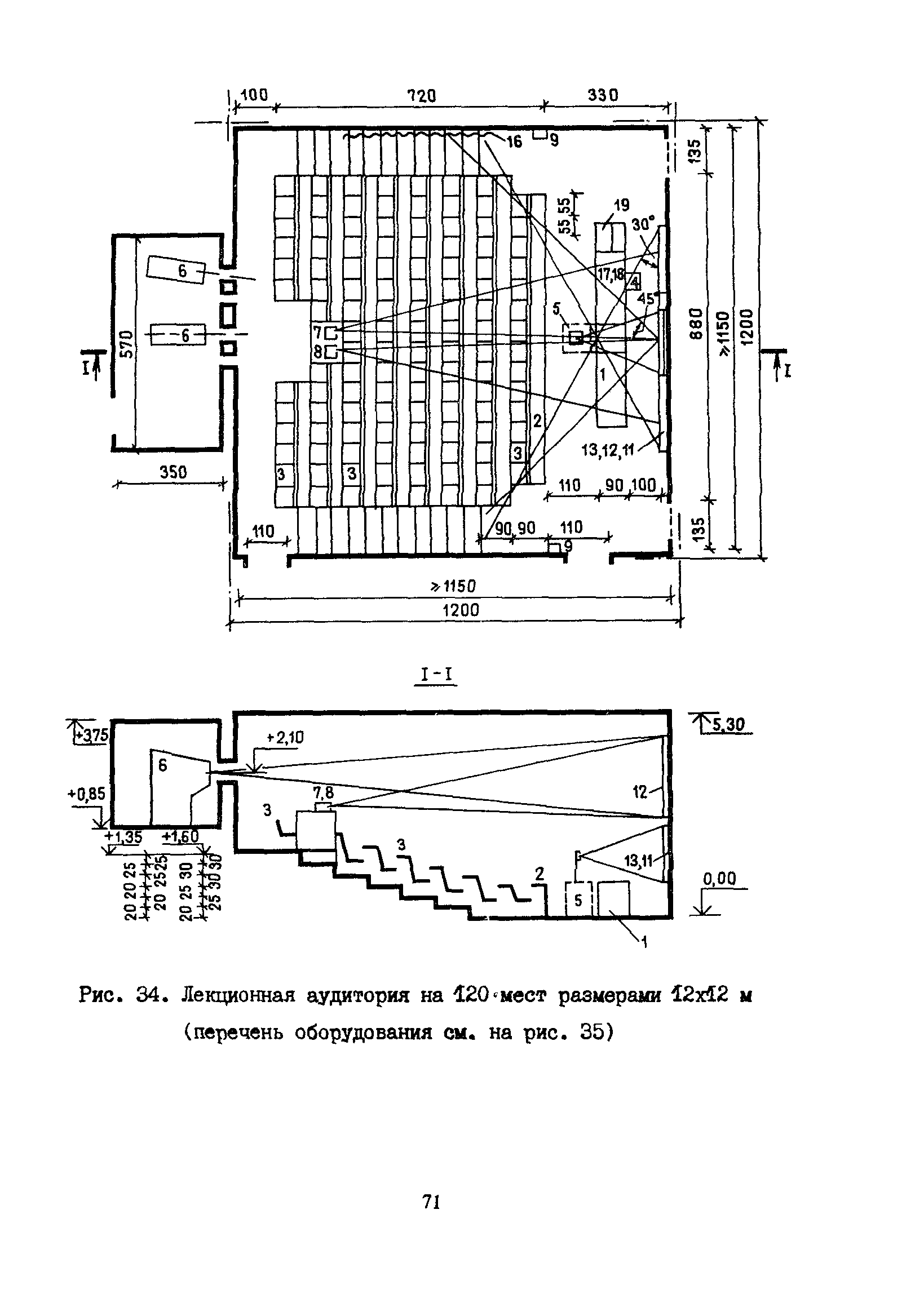
| Оглавление: | Предисловие Раздел 1. Профессионально-технические и средние специальные учебные заведения 1 Общие указания 2 Требования к участкам 3 Объемно-планировочные решения Раздел 2. Учебные комбинаты 1 Общие указания 2 Требования к участкам 3 Объемно-планировочные решения Раздел 3. Требования к инженерному обеспечению зданий 1 Водоснабжение и канализация 2 Отопление, вентиляция и кондиционирование 3 Электротехнические устройства 4 Газоснабжение и снабжение сжатым воздухом Приложение 1 Оборудование зданий лифтами Приложение 2 Использование помещений по второму назначению Приложение 3 Пример расчета состава учебных помещений профтехучилищ и техникумов Приложение 4 Требования к проектированию дисплейных кабинетов Приложение 5 Методика додернизации и реконструкции зданий профтехучилищ и техникумов |
| Разработан: | ЦНИИЭП учебных зданий Госкомархитектуры |
| Утверждён: | 04.01.1992 ЦНИИЭП учебных зданий (TsNIIEP of Educational Buildings ) |
| Издан: | Институт общественных зданий (1992 г. ) |
| Расположен в: | |
| Нормативные ссылки: |
|









































































































































































































