Информационная система
«Ёшкин Кот»

Скачать базу одним архивом
Скачать обновления
История создания базы
Карта сайта

Скачать РУПК-78 Руководящие указания по эксплуатации, ревизии и ремонту пружинных предохранительных клапанов

Дата актуализации: 10.08.2017

РУПК-78

Руководящие указания по эксплуатации, ревизии и ремонту пружинных предохранительных клапанов

Обозначение: РУПК-78
Обозначение англ: РУПК-78
Статус:заменен
Название рус.:Руководящие указания по эксплуатации, ревизии и ремонту пружинных предохранительных клапанов
Дата добавления в базу:01.09.2013
Дата актуализации:05.05.2017
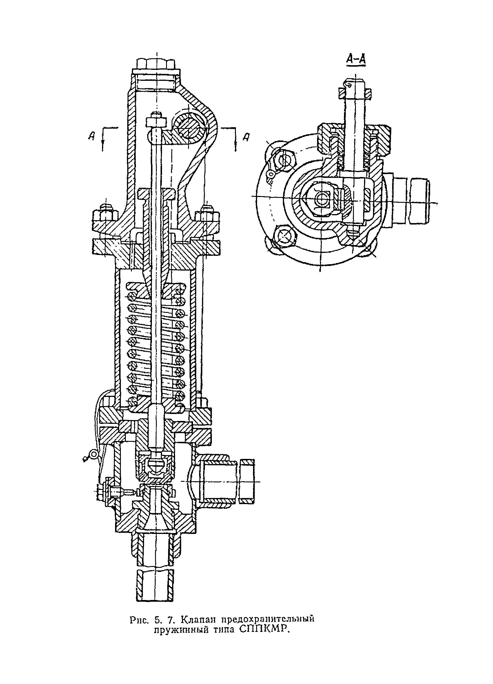
Область применения:В «Руководящих указаниях» содержатся основные требования по установке пружинных предохранительных клапанов на сосудах, аппаратах и оборудовании, по их регулировке, периодичности проверки и ревизии. Приведены порядок проведения ревизии и ремонта, а также необходимое для этого оборудование.
Оглавление:Введение
1 Общие положения
2 Эксплуатация предохранительных клапанов
3 Ревизия и ремонт предохранительных клапанов
4 Техническая документация
Приложение 1. Назначение и типы пружинных предохранительных клапанов
Утверждён:13.12.1977 Министерство нефтеперерабатывающей и нефтехимической промышленности (Ministry of the Petroleum Refining and Petrochemical Industries )
Принят:02.12.1977 Госгортехнадзор СССР (USSR Gosgortekhnadzor 04-11-15/672)
Расположен в:Техническая документация Экология ДОБЫЧА И ПЕРЕРАБОТКА НЕФТИ, ГАЗА И СМЕЖНЫЕ ПРОИЗВОДСТВА Оборудование для нефтяной и газовой промышленности Оборудование для нефтяной и газовой промышленности прочее Строительство Нормативные документы Отраслевые и ведомственные нормативно-методические документы Проектирование и строительство объектов нефтяной и газовой промышленности
Заменяет собой:
  • «Инструкция по хранению, ремонту и контролю за состоянием и эксплуатацией предохранительных клапанов»
Чем заменён:
  • ИПКМ-2005 «Порядок эксплуатации, ревизии и ремонта пружинных предохранительных клапанов, мембранных предохранительных устройств нефтеперерабатывающих и нефтехимических предприятий Минпроэнерго России»
Нормативные ссылки:
РУПК-78РУПК-78РУПК-78РУПК-78РУПК-78РУПК-78РУПК-78РУПК-78РУПК-78РУПК-78РУПК-78РУПК-78РУПК-78РУПК-78РУПК-78РУПК-78РУПК-78РУПК-78РУПК-78РУПК-78РУПК-78РУПК-78РУПК-78РУПК-78РУПК-78РУПК-78РУПК-78РУПК-78РУПК-78РУПК-78РУПК-78РУПК-78РУПК-78РУПК-78РУПК-78РУПК-78РУПК-78РУПК-78РУПК-78РУПК-78РУПК-78РУПК-78РУПК-78РУПК-78РУПК-78РУПК-78РУПК-78РУПК-78РУПК-78РУПК-78РУПК-78РУПК-78РУПК-78

© 2013 Ёшкин Кот :-) Карта сайта