Скачать ОСТ 34-42-678-84 Детали и сборочные единицы трубопроводов АЭС Рраб<2,2 МПа (22 кгс/см2), Т<=350 °C. Тройники сварные переходные с накладкой. Конструкция и размерыДата актуализации: 10.08.2017 ОСТ 34-42-678-84
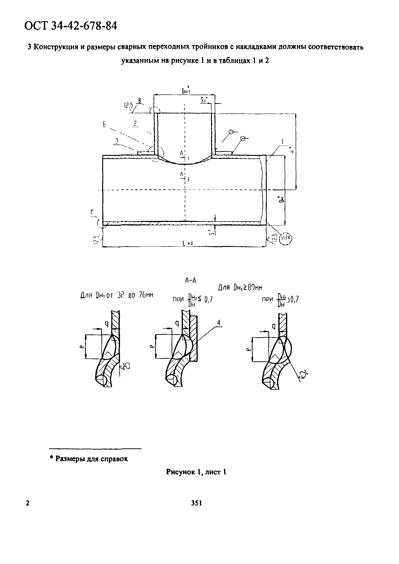
Детали и сборочные единицы трубопроводов АЭС Рраб<2,2 МПа (22 кгс/см2), Т<=350 °C. Тройники сварные переходные с накладкой. Конструкция и размерыОбозначение: | ОСТ 34-42-678-84 | Обозначение англ: | OST 34-42-678-84 | Статус: | заменен | Название рус.: | Детали и сборочные единицы трубопроводов АЭС Рраб<2,2 МПа (22 кгс/см2), Т<=350 °C. Тройники сварные переходные с накладкой. Конструкция и размеры | Дата добавления в базу: | 01.09.2013 | Дата актуализации: | 05.05.2017 | Дата введения: | 24.02.2013 | Область применения: | Стандарт распространяется на тройники сварные переходные с накладкой из углеродистой стали для трубопроводов второго контура атомных электростанций. | Разработан: | ПТИ Энергомонтажпроект Минэнерго СССР
| Утверждён: | 24.04.1984 Министерство энергетики и электрификации СССР (USSR Ministry of Energy and Electrical Power 168)
| Принят: | ВГНИПИИ Атомтеплоэлектропроект
| Расположен в: |
| Чем заменён: | - СТО 95 129-2013 «Тройники сварные переходные с накладкой. Конструкция и размеры»
- СТО СРО-П 60542948 00026–2013 «Тройники сварные переходные с накладкой. Конструкция и размеры»
|
           
|