Скачать ОСТ 1 33080-80 Гайки двухушковые самоконтрящиеся герметичные. КонструкцияДата актуализации: 10.08.2017 ОСТ 1 33080-80
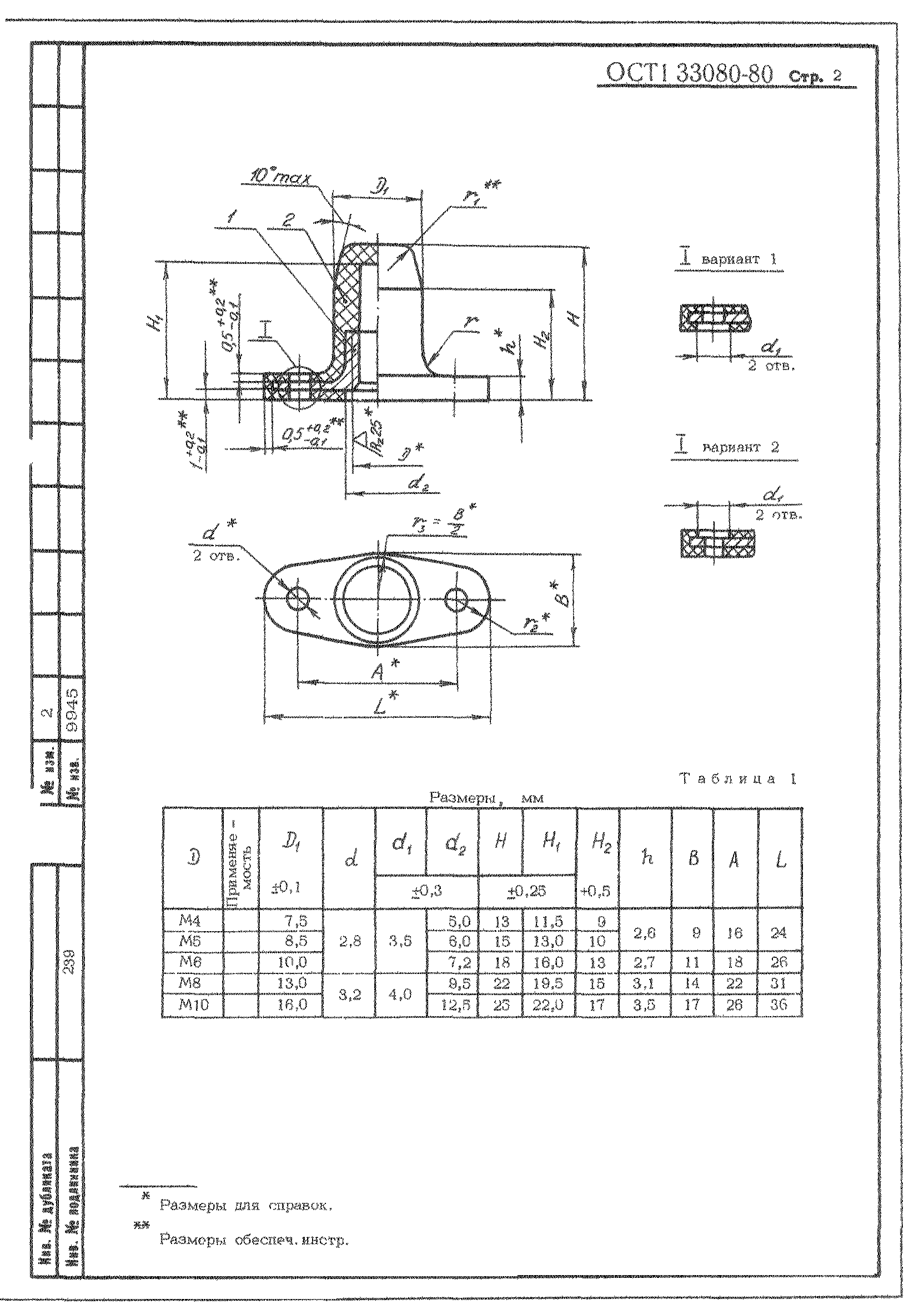
Гайки двухушковые самоконтрящиеся герметичные. КонструкцияОбозначение: | ОСТ 1 33080-80 | Обозначение англ: | 33080-80 | Статус: | действует | Название рус.: | Гайки двухушковые самоконтрящиеся герметичные. Конструкция | Дата добавления в базу: | 01.09.2013 | Дата актуализации: | 05.05.2017 | Дата введения: | 01.01.1982 | Утверждён: | 10.10.1980 Министерство (Ministry 087-16)
| Расположен в: |
| Заменяет собой: | |
  
|