Скачать ОСТ 1 10364-72 Тройники фланцевые. Конструкция и размерыДата актуализации: 10.08.2017 ОСТ 1 10364-72
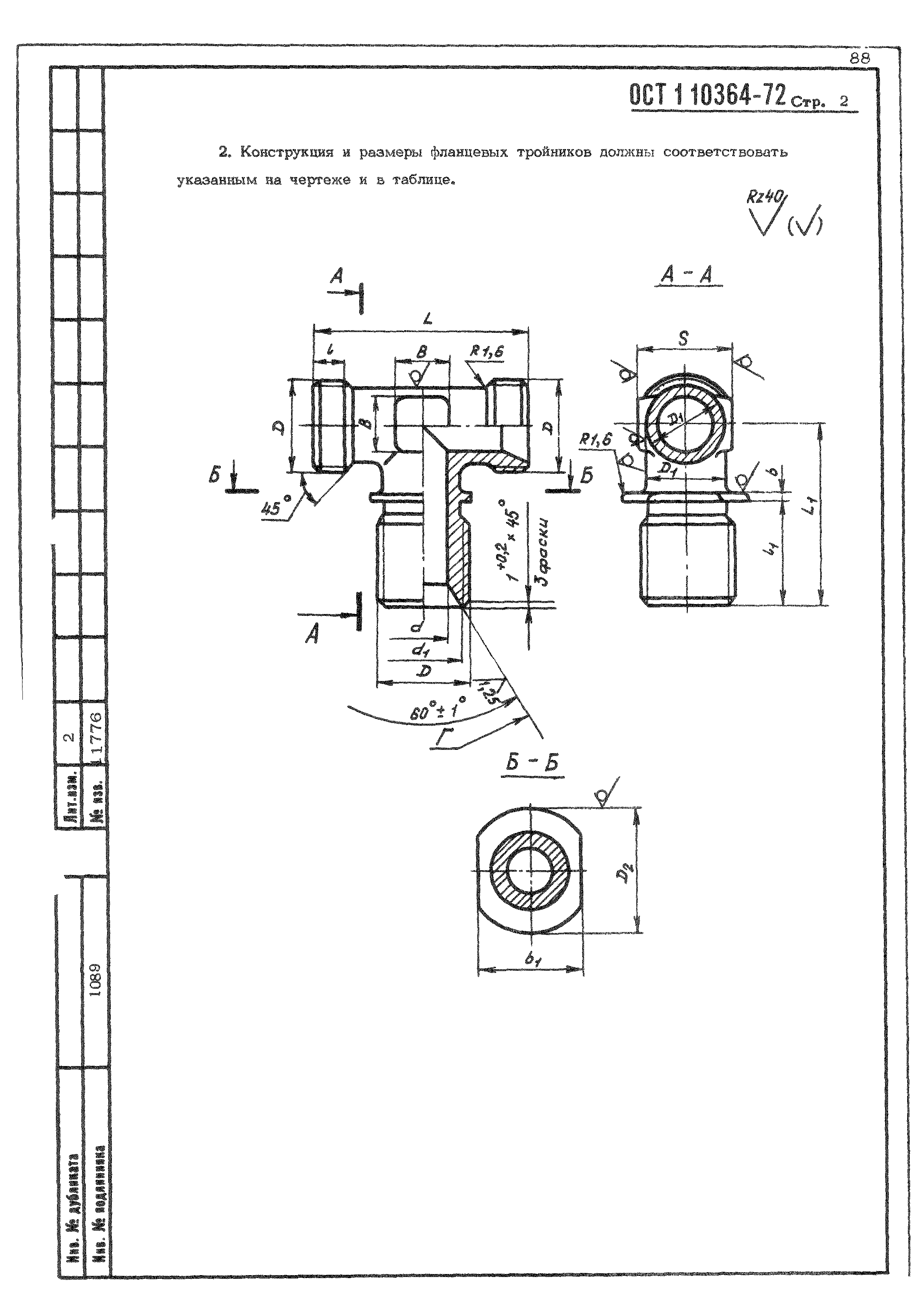
Тройники фланцевые. Конструкция и размерыОбозначение: | ОСТ 1 10364-72 | Обозначение англ: | 10364-72 | Статус: | действует | Название рус.: | Тройники фланцевые. Конструкция и размеры | Дата добавления в базу: | 01.09.2013 | Дата актуализации: | 05.05.2017 | Дата введения: | 01.01.1974 | Область применения: | Стандарт распространяется на фланцевые тройники, предназначенные для соединений трубопроводов по внутреннему конусу. | Утверждён: | 22.12.1972 Министерство (Ministry 087-16)
| Расположен в: |
|
  
|