| ||||||||||||||||||||||||||||||||
Скачать ОСТ 45.190-2001 Системы передачи волоконно-оптические. Стыки оптические. Термины и определенияДата актуализации: 10.08.2017
|
| Обозначение: | ОСТ 45.190-2001 |
| Обозначение англ: | OST 45.190-2001 |
| Статус: | не определен законодательством |
| Название рус.: | Системы передачи волоконно-оптические. Стыки оптические. Термины и определения |
| Дата добавления в базу: | 01.09.2013 |
| Дата актуализации: | 05.05.2017 |
| Дата введения: | 30.06.2003 |
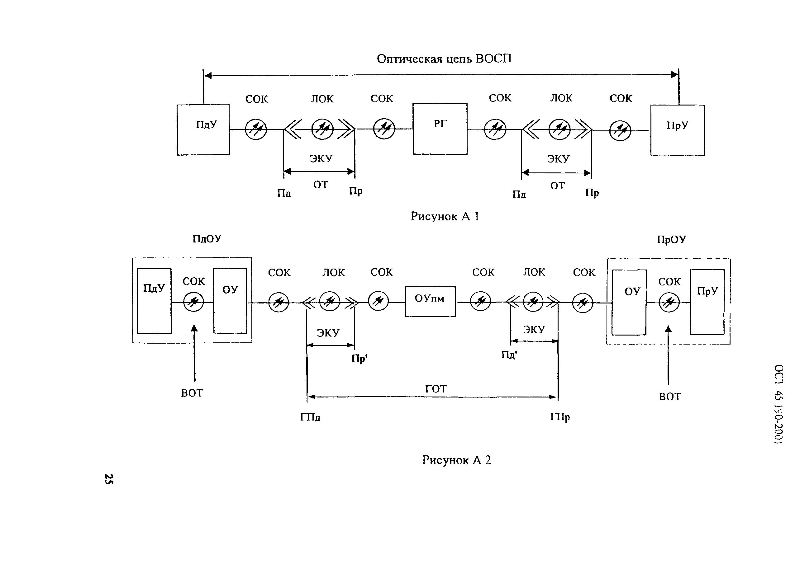
| Область применения: | Стандарт устанавливвает термины и определения основных понятий для оптических стыков цифровых волоконно-оптических систем передачи Взаимоувязанной сети связи РФ. Предназначен для организаций и предприятий отрасли, разрабатывающих нормативную документацию в области электросвязи, независимо от их форм собственности и ведомственной принадлежности. |
| Оглавление: | 1 Область применения 2 Нормативные ссылки 3 Термины и определения Алфавитный указатель терминов на русском языке Алфавитный указатель эквивалентов терминов на английском языке Приложение А Пояснения к терминам, приведенным в стандарте Приложение Б Библиография |
| Разработан: | ЦНИИС |
| Утверждён: | 05.07.2002 Минсвязи России (Russian Federation Minsvyazi 4503) |
| Издан: | ЦНТИ Информсвязь (2002 г. ) |
| Расположен в: | |
| Нормативные ссылки: |
|




































