Информационная система
«Ёшкин Кот»

Скачать базу одним архивом
Скачать обновления
История создания базы
Карта сайта

Скачать Технологическая карта Технологическая карта монтажа воздушного выключателя типа ВВБК-500А

Дата актуализации: 10.08.2017

Технологическая карта

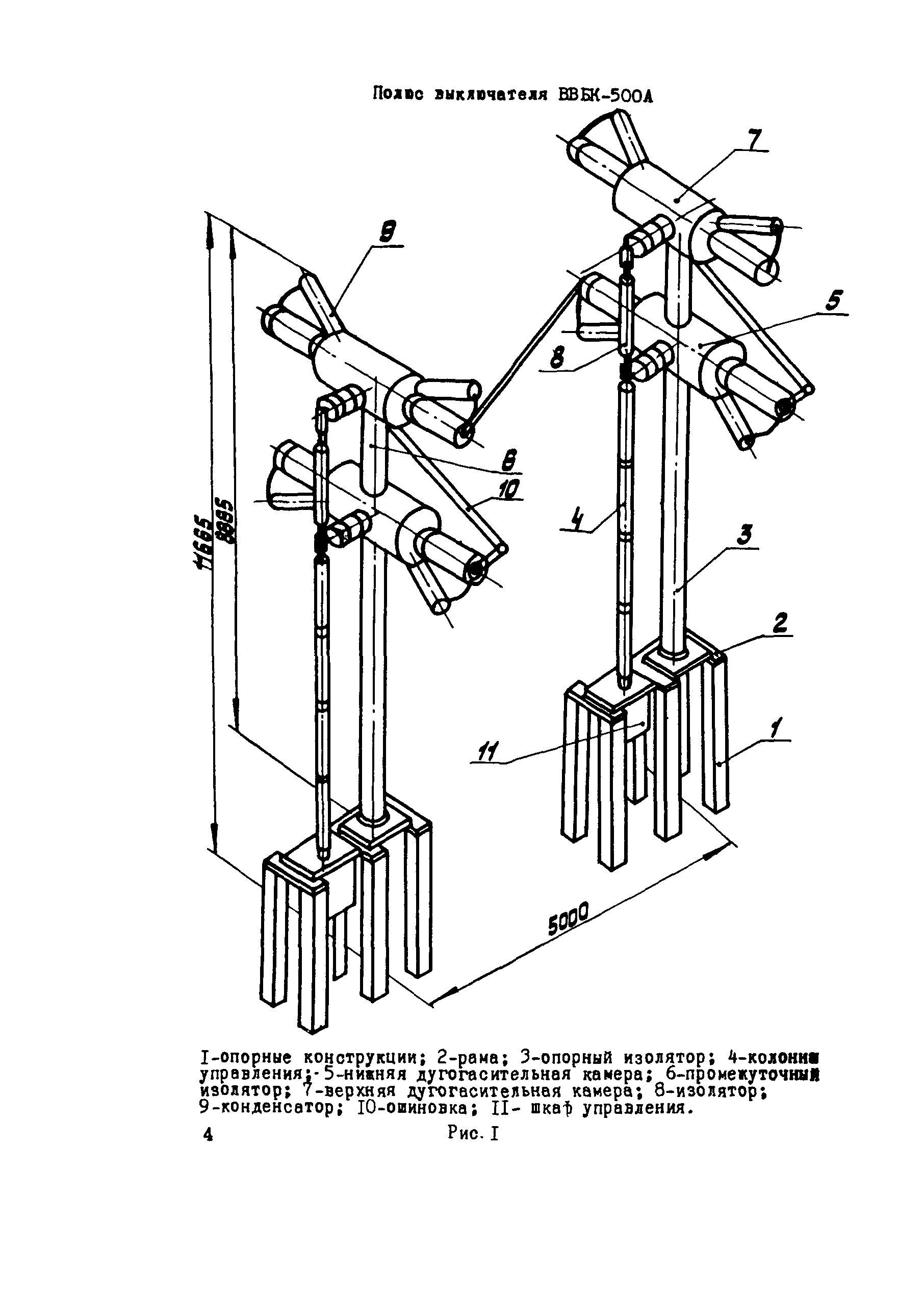
Технологическая карта монтажа воздушного выключателя типа ВВБК-500А

Обозначение: Технологическая карта
Статус:не установлен срок действия
Название рус.:Технологическая карта монтажа воздушного выключателя типа ВВБК-500А
Дата добавления в базу:01.09.2013
Дата актуализации:05.05.2017
Дата введения:16.03.1987
Область применения:Карта содержит указания по организации и технологии монтажа выключателя, перечень механизмов, инструментов и приспособлений, сведения о затратах материалов, калькуляцию трудовых затрат, графики производства работ.
Оглавление:1 Введение
2 Область применения
3 Технико-экономические показатели монтажа
4 Основные указания по монтажу
5 Техника безопасности
6 Пооперационный контроль качества монтажа
7 Материально-технические ресурсы
8 График монтажа
9 Калькуляция трудовых затрат
Приложение 1 Перечень технической документации, используемой при монтаже выключателя
Приложение 2 Перечень приемо-сдаточной документации
Приложение 3 Основные технические данные выключателя
Приложение 4 Масса узлов выключателя
Приложение 5 Масса и габариты упаковочных мест выключателя
Разработан: Оргэнергострой
Утверждён:16.03.1987 Министерство энергетики и электрификации СССР (USSR Ministry of Energy and Electrical Power 86)
Издан: Информэнерго (1988 г. )
Расположен в:Техническая документация Экология СТРОИТЕЛЬНЫЕ МАТЕРИАЛЫ И СТРОИТЕЛЬСТВО Технология строительства Организация и порядок производства работ. Управление качеством и обеспечение качества ЭНЕРГЕТИКА И ТЕПЛОТЕХНИКА Энергетика и теплотехника в целом Строительство Справочные документы Технологические карты Линии электропередачи
Технологическая карта Технологическая карта Технологическая карта Технологическая карта Технологическая карта Технологическая карта Технологическая карта Технологическая карта Технологическая карта Технологическая карта Технологическая карта Технологическая карта Технологическая карта Технологическая карта Технологическая карта Технологическая карта Технологическая карта Технологическая карта Технологическая карта Технологическая карта Технологическая карта Технологическая карта Технологическая карта Технологическая карта Технологическая карта Технологическая карта Технологическая карта Технологическая карта Технологическая карта Технологическая карта Технологическая карта Технологическая карта Технологическая карта Технологическая карта Технологическая карта Технологическая карта Технологическая карта Технологическая карта Технологическая карта Технологическая карта Технологическая карта Технологическая карта Технологическая карта Технологическая карта Технологическая карта Технологическая карта Технологическая карта Технологическая карта Технологическая карта Технологическая карта Технологическая карта Технологическая карта Технологическая карта

© 2013 Ёшкин Кот :-) Карта сайта