| ||||||||||||||||||||||||||||||||||
Скачать ОСТ 108.104.06-82 Тройники переходные с горловиной для трубопроводов ТЭС. Конструкция и размерыДата актуализации: 10.08.2017
|
| Обозначение: | ОСТ 108.104.06-82 |
| Обозначение англ: | OST 108.104.06-82 |
| Статус: | заменен |
| Название рус.: | Тройники переходные с горловиной для трубопроводов ТЭС. Конструкция и размеры |
| Дата добавления в базу: | 01.09.2013 |
| Дата актуализации: | 05.05.2017 |
| Дата введения: | 01.05.2010 |
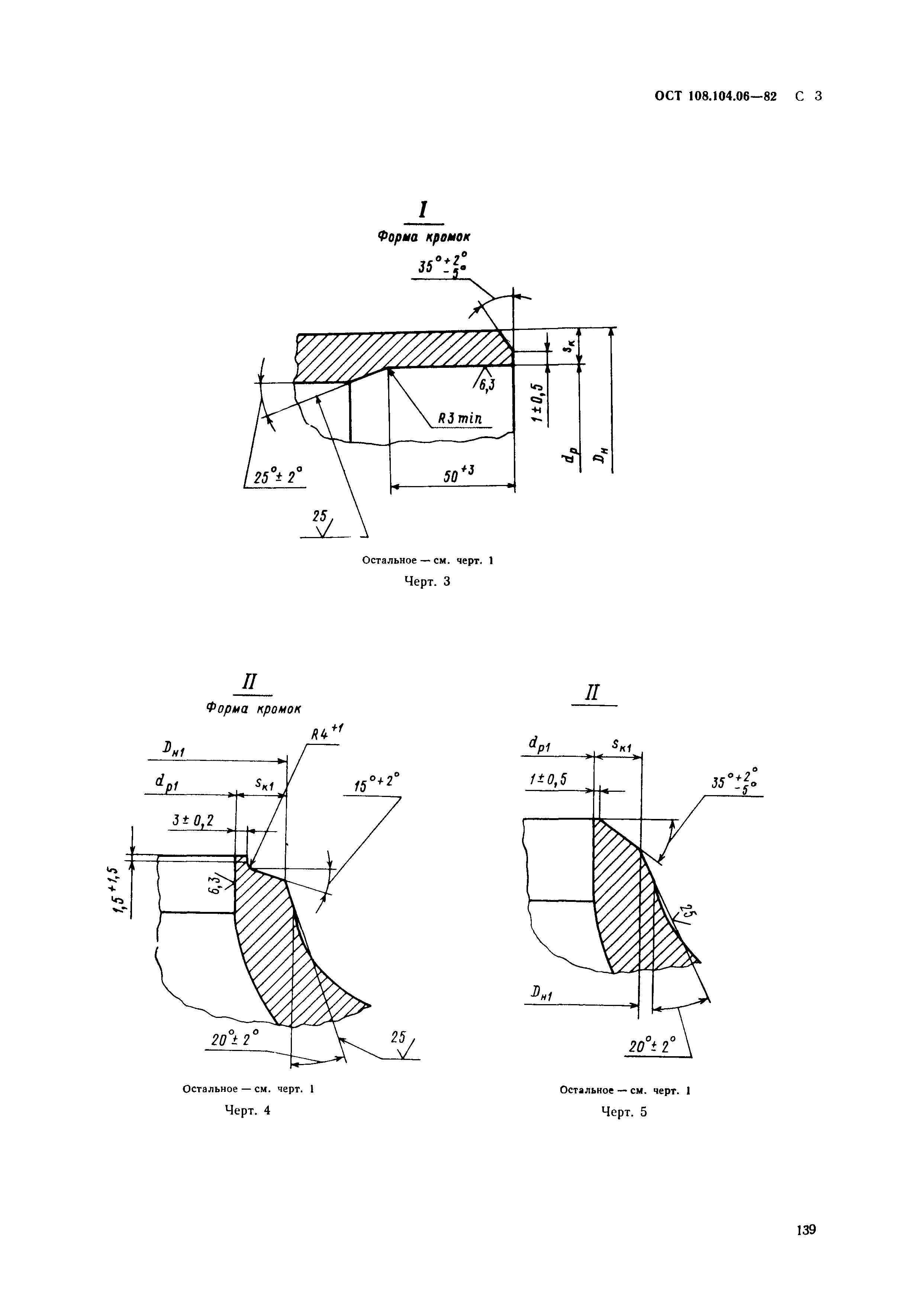
| Область применения: | Стандарт распространяется на тройники переходные с вытянутой горловиной трубопроводов пара и горячей воды тепловых электростанций с абсолютным давлением и температурой среды: p=3,92 МПа (380 кгс/см2), t=440° C; p=7,45 МПа (76 кгс/см2), t=145° C; p=4,31 МПа (44 кгс/см2), t=340° C; p=3,92 МПа (40 кгс/см2), t=200° C. |
| Утверждён: | 04.06.1982 Министерство энергетического машиностроения (Ministry of Energy Machinery Manufacturing ВВ-002/4628) |
| Принят: | Министерство энергетики и электрификации СССР (USSR Ministry of Energy and Electrical Power ) |
| Издан: | НПО ЦКТИ (1993 г. ) |
| Расположен в: | |
| Список изменений: | |
| Заменяет собой: |
|
| Чем заменён: |










Текстовое изменение № от 15.02.1994



Текстовое изменение № 1 от 01.01.1984