Информационная система
«Ёшкин Кот»

Скачать базу одним архивом
Скачать обновления
История создания базы
Карта сайта

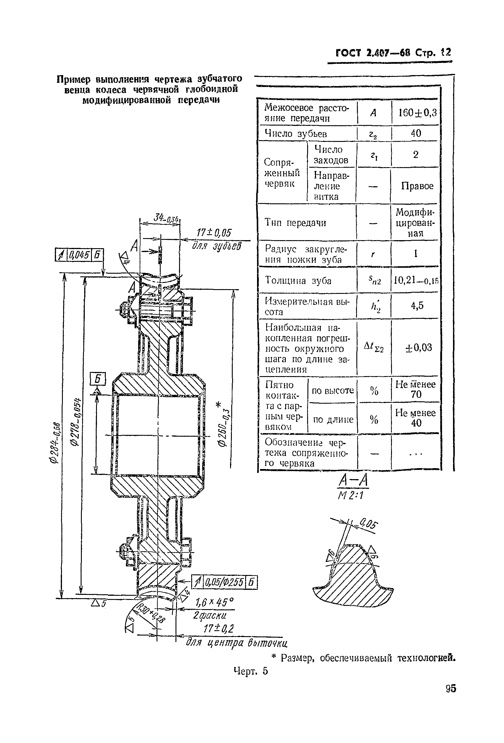
Скачать ГОСТ 2.407-68 Единая система конструкторской документации. Правила выполнения рабочих чертежей червяков и колес червячных глобоидных передач

Дата актуализации: 10.08.2017

ГОСТ 2.407-68

Единая система конструкторской документации. Правила выполнения рабочих чертежей червяков и колес червячных глобоидных передач

Обозначение: ГОСТ 2.407-68
Обозначение англ: GOST 2.407-68
Статус:заменен
Название рус.:Единая система конструкторской документации. Правила выполнения рабочих чертежей червяков и колес червячных глобоидных передач
Название англ.:Unified system for design documentation. Rules for presentation of drawings for worms and wheels of worm globoida gear pairs
Дата добавления в базу:21.05.2015
Дата актуализации:05.05.2017
Дата введения:01.01.1976
Область применения:Стандарт устанавливает правила выполнения элементов зацепления на рабочих чертежах металлических механически обработанных червяков с прямолинейными образующими витков и сопрягаемых с ними колес червячных глобоидных передач с углом скрещивания осей, равным 90°.
Утверждён:01.12.1967 Комитет стандартов, мер и измерительных приборов при Совете Министров Союза ССР
Расположен в:Техническая документация
Чем заменён:
ГОСТ 2.407-68ГОСТ 2.407-68ГОСТ 2.407-68ГОСТ 2.407-68ГОСТ 2.407-68ГОСТ 2.407-68ГОСТ 2.407-68ГОСТ 2.407-68ГОСТ 2.407-68ГОСТ 2.407-68ГОСТ 2.407-68ГОСТ 2.407-68ГОСТ 2.407-68ГОСТ 2.407-68ГОСТ 2.407-68ГОСТ 2.407-68

© 2013 Ёшкин Кот :-) Карта сайта