Информационная система
«Ёшкин Кот»

Скачать базу одним архивом
Скачать обновления
История создания базы
Карта сайта

Скачать ГОСТ 2.403-68 Единая система конструкторской документации. Правила выполнения рабочих чертежей цилиндрических зубчатых колес

Дата актуализации: 10.08.2017

ГОСТ 2.403-68

Единая система конструкторской документации. Правила выполнения рабочих чертежей цилиндрических зубчатых колес

Обозначение: ГОСТ 2.403-68
Обозначение англ: GOST 2.403-68
Статус:заменен
Название рус.:Единая система конструкторской документации. Правила выполнения рабочих чертежей цилиндрических зубчатых колес
Название англ.:Unified system for design documentation. Rules of making working drawings of cylindrical gears
Дата добавления в базу:21.05.2015
Дата актуализации:05.05.2017
Дата введения:01.01.1976
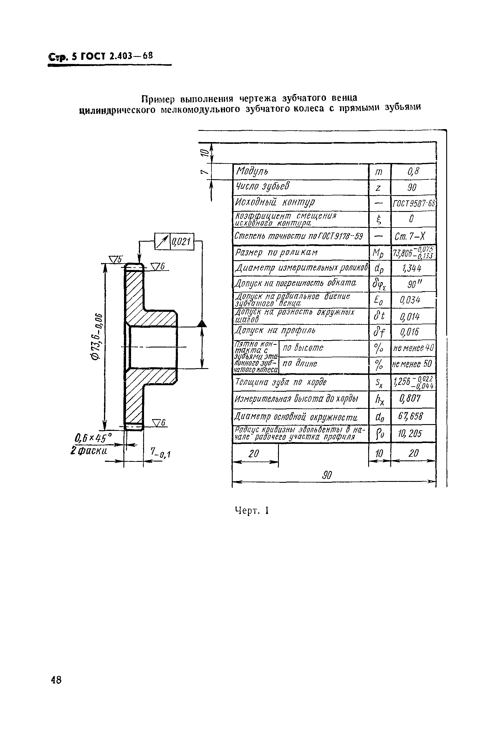
Область применения:Стандарт устанавливает правила выполнения элементов зацепления на рабочих чертежах металлических механически обработанных цилиндрических зубчатых колес с эвольвентными зубьями.
Утверждён:01.12.1967 Комитет стандартов, мер и измерительных приборов при Совете Министров Союза ССР
Издан: Издательство стандартов (1969 г. )
Расположен в:Техническая документация
Чем заменён:
Нормативные ссылки:
ГОСТ 2.403-68ГОСТ 2.403-68ГОСТ 2.403-68ГОСТ 2.403-68ГОСТ 2.403-68ГОСТ 2.403-68ГОСТ 2.403-68ГОСТ 2.403-68ГОСТ 2.403-68ГОСТ 2.403-68ГОСТ 2.403-68ГОСТ 2.403-68ГОСТ 2.403-68ГОСТ 2.403-68

© 2013 Ёшкин Кот :-) Карта сайта