Информационная система
«Ёшкин Кот»

Скачать базу одним архивом
Скачать обновления
История создания базы
Карта сайта

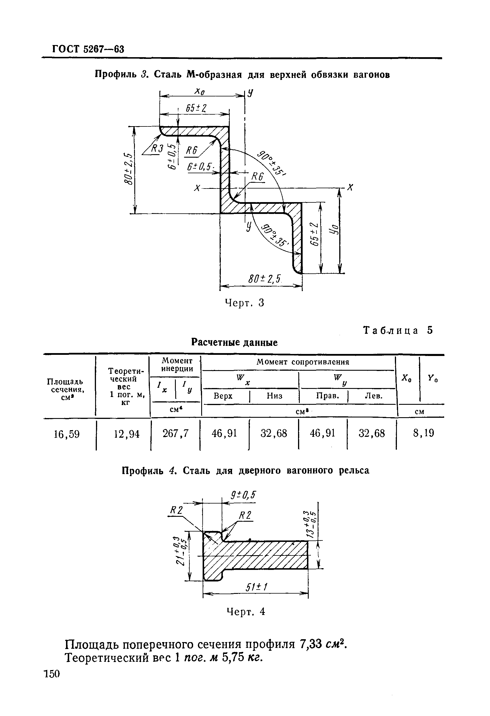
Скачать ГОСТ 5267-63 Сталь прокатная специальных профилей для вагоностроения. Сортамент

Дата актуализации: 10.08.2017

ГОСТ 5267-63

Сталь прокатная специальных профилей для вагоностроения. Сортамент

Обозначение: ГОСТ 5267-63
Обозначение англ: GOST 5267-63
Статус:заменен
Название рус.:Сталь прокатная специальных профилей для вагоностроения. Сортамент
Название англ.:Rolled steel of special profiles for carriagebuilding. Assortment
Дата добавления в базу:01.10.2014
Дата актуализации:05.05.2017
Дата введения:01.01.1979
Область применения:Стандарт распространяется на сталь прокатную специальных профилей, предназначенные для вагоностроения
Утверждён:04.11.1963 Государственный комитет стандартов, мер и измерительных приборов СССР
Издан: Издательство стандартов (1969 г. )
Расположен в:Техническая документация
Заменяет собой:
  • ГОСТ 5267-50 «Сталь прокатная специальных профилей для паровозо- и вагоностроения. Сортамент» (Кроме рессорно-пружинной стали. Сведения из перечня "Указатель государственных общесоюзных стандартов 1965 г.", Издательство стандартов 1965)
Чем заменён:
  • ГОСТ 5267.1-78 «Профили для вагоностроения. Швеллеры. Сортамент» (В части профиля 1. Сведения из перечня "Указатель государственных стандартов СССР 1980 г.", Издательство стандартов 1980)
  • ГОСТ 5267.2-78 «Профили для вагоностроения. Профиль зетовый. Сортамент» (В части профиля 2. Сведения из перечня "Указатель государственных стандартов СССР 1980 г.", Издательство стандартов 1980)
  • ГОСТ 5267.4-78 «Профили для вагоностроения. Профиль М-образный для верхней обвязки. Сортамент» (В части профиля 3. Сведения из перечня "Указатель государственных стандартов СССР 1980 г.", Издательство стандартов 1980)
  • ГОСТ 5267.8-78 «Профили для вагоностроения. Профиль упорных плит автосцепки. Сортамент» (В части профиля 5. Сведения из перечня "Указатель государственных стандартов СССР 1980 г.", Издательство стандартов 1980)
  • ГОСТ 5267.9-78 «Профили для вагоностроения. Профиль для клина автосцепки. Сортамент» (В части профиля 6. Сведения из перечня "Указатель государственных стандартов СССР 1980 г.", Издательство стандартов 1980)
  • ГОСТ 5267.10-78 «Профили для вагоностроения. Профиль для бандажных колец. Сортамент» (В части профиля 7. Сведения из перечня "Указатель государственных стандартов СССР 1980 г.", Издательство стандартов 1980)
ГОСТ 5267-63ГОСТ 5267-63ГОСТ 5267-63ГОСТ 5267-63ГОСТ 5267-63ГОСТ 5267-63ГОСТ 5267-63ГОСТ 5267-63ГОСТ 5267-63ГОСТ 5267-63

© 2013 Ёшкин Кот :-) Карта сайта