| ||||||||||||||||||||||||||||||||||
Скачать РД 153-34.2-21.625-2003 Типовая инструкция по цементации трещин в бетоне гидротехнических сооруженийДата актуализации: 10.08.2017
|
| Обозначение: | РД 153-34.2-21.625-2003 |
| Обозначение англ: | RD 153-34.2-21.625-2003 |
| Статус: | не действует |
| Название рус.: | Типовая инструкция по цементации трещин в бетоне гидротехнических сооружений |
| Дата добавления в базу: | 01.09.2013 |
| Дата актуализации: | 05.05.2017 |
| Дата введения: | 15.04.2008 |
| Область применения: | В Типовой инструкции изложены основные мероприятия и требования по цементации трещин в бетоне гидротехнических сооружений. |
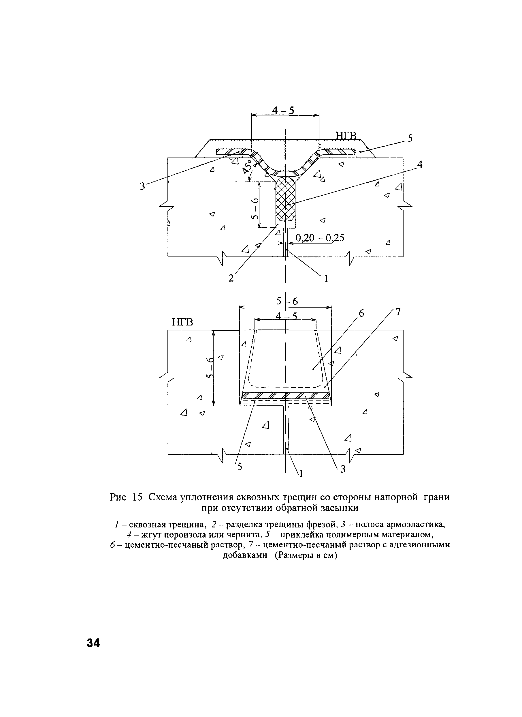
| Оглавление: | 1 Общие положения 2 Наблюдения, исследовательские работы 3 Проект производства работ 4 Порядок производства работ 4.1 Бурение скважин 4.2 Поверхностная изоляция трещин 4.3 Технология инъекционных работ 5 Материалы 6 Оборудование для ремонтных работ 7 Контроль качества 8 Техника безопасности Приложение 1. Журнал по обследованию трещин в бетоне Приложение 2. Журнал инъекции Приложение 3. Типовые схемы лечения трещин в бетоне |
| Разработан: | ВНИИГ им. Б.Е. Веденеева |
| Утверждён: | 24.01.2003 РАО ЕЭС России (UES of Russia RAO ) |
| Издан: | ВНИИГ им. Веденеева (2003 г. ) |
| Расположен в: | |
| Заменяет собой: |
|
| Нормативные ссылки: |
|







































