Информационная система
«Ёшкин Кот»

Скачать базу одним архивом
Скачать обновления
История создания базы
Карта сайта

Скачать Пособие к СНиП II-25-80 Пособие по проектированию деревянных конструкций

Дата актуализации: 10.08.2017

Пособие к СНиП II-25-80

Пособие по проектированию деревянных конструкций

Обозначение: Пособие к СНиП II-25-80
Обозначение англ: SNIP Handbook II-25-80
Статус:действует
Название рус.:Пособие по проектированию деревянных конструкций
Дата добавления в базу:01.09.2013
Дата актуализации:05.05.2017
Область применения:Пособие разработано к СНиП II-25-80. В нем даны необходимые разъяснения и обоснования отдельных положений и указаний по расчету деревянных конструкций, приведены рекомендации по проектированию, не получившие отражения в нормах. В частности, это касается особенностей расчета сжато-изгибаемых элементов, связей жесткости, новых типов соединений, технико-экономической оценки конструктивных решений и др. Пособие охватывает конструкции из цельной и клееной древесины, иллюстрируя положения СНиП II-25-80 на конкретных примерах конструирования и расчета отдельных типов деревянных конструкций. В качестве приложения к пособию, даны некоторые вспомогательные графики, таблицы и другие справочные материалы, необходимые для проектирования.
Оглавление:Предисловие
1. Общие положения
2. Материалы
   Номенклатура
   Лесоматериалы
   Фанера листовая. Фанерные трубы
   Древесные плиты
   Клеи
3. Расчетные характеристики материалов
   Нормирование расчетных сопротивлений древесины и фанеры
   Особенности нормирования расчетных характеристик древесных плит
4. Расчет элементов деревянных конструкций
   Упругие характеристики
   Учет переменности сечения
   Компоновка и подбор сечения элементов
   Расчет сжато-изгибаемых деревянных элементов на прочность по деформированной схеме
   Расчет деревянных элементов на устойчивость плоской формы деформирования
   Определение прогибов изгибаемых деревянных элементов
   Особенности расчета гнутоклееных элементов
   Расчет элементов из клееной древесины на выносливость
5. Соединения элементов деревянных конструкций
   Общие указания
   Клеевые соединения
   Соединения на вклеенных стальных стержнях
   Соединения на цилиндрических и пластинчатых нагелях
   Соединения на металлических зубчатых пластинах и металлических шайбах
   Учет концентрации напряжений при расчете узловых соединений клееных конструкций
   Соединения на врубках
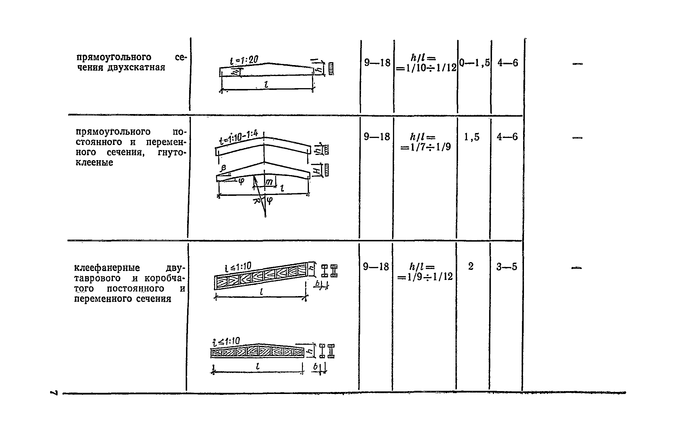
6. Рекомендации и примеры по проектированию деревянных конструкций
   Плиты покрытий и панели стен
   Балки
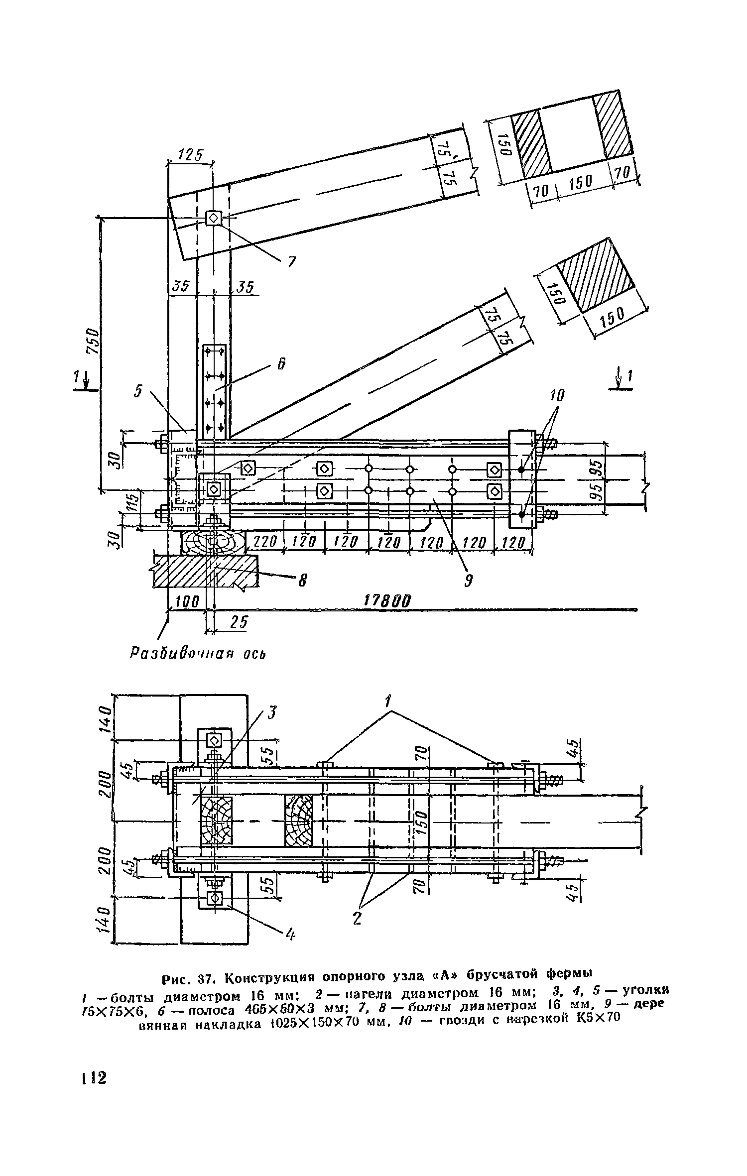
   Фермы
   Арки
   Рамы
   Колонны
   Обеспечение пространственной жесткости плоских деревянных конструкций в зданиях и сооружениях
7. Технико-экономическая оценка деревянных конструкций
Приложение 1. График определения коэффициента продольного сгиба
Приложение 2. Весовая оценка несущих деревянных конструкций покрытий
Приложение 3. Правила учета степени ответственности зданий и сооружений при проектировании конструкций
Приложение 4. Рекомендации по расчету плоских деревянных конструкций на монтажные силовые воздействия
Разработан: МИСИ им. В.В. Куйбышева Минвуза СССР
ЛИСИ Минвуза РСФСР
ЦНИИСК им. В.А. Кучеренко
ЦНИИпромзданий
Пермский политехнический институт
Брестский ИСИ Минвуза БССР
ВНИИДрев Минлесбумпрома СССР
ЦНИИЭПсельстрой
ЦНИИЭП им. Б.С. Мезенцева Госгражданстроя
Курский политехнический институт
Кировский политехнический институт
Уральский политехнический институт
Утверждён:28.11.1983 ЦНИИСК им.Кучеренко (Kucherenko TsNIISK 372/л)
Издан: Стройиздат (1986 г. )
Расположен в:Техническая документация Экология СТРОИТЕЛЬНЫЕ МАТЕРИАЛЫ И СТРОИТЕЛЬСТВО Конструкции зданий Деревянные конструкции Строительство Справочные документы Справочные пособия к СНиП
Нормативные ссылки:
Пособие к СНиП II-25-80Пособие к СНиП II-25-80Пособие к СНиП II-25-80Пособие к СНиП II-25-80Пособие к СНиП II-25-80Пособие к СНиП II-25-80Пособие к СНиП II-25-80Пособие к СНиП II-25-80Пособие к СНиП II-25-80Пособие к СНиП II-25-80Пособие к СНиП II-25-80Пособие к СНиП II-25-80Пособие к СНиП II-25-80Пособие к СНиП II-25-80Пособие к СНиП II-25-80Пособие к СНиП II-25-80Пособие к СНиП II-25-80Пособие к СНиП II-25-80Пособие к СНиП II-25-80Пособие к СНиП II-25-80Пособие к СНиП II-25-80Пособие к СНиП II-25-80Пособие к СНиП II-25-80Пособие к СНиП II-25-80Пособие к СНиП II-25-80Пособие к СНиП II-25-80Пособие к СНиП II-25-80Пособие к СНиП II-25-80Пособие к СНиП II-25-80Пособие к СНиП II-25-80Пособие к СНиП II-25-80Пособие к СНиП II-25-80Пособие к СНиП II-25-80Пособие к СНиП II-25-80Пособие к СНиП II-25-80Пособие к СНиП II-25-80Пособие к СНиП II-25-80Пособие к СНиП II-25-80Пособие к СНиП II-25-80Пособие к СНиП II-25-80Пособие к СНиП II-25-80Пособие к СНиП II-25-80Пособие к СНиП II-25-80Пособие к СНиП II-25-80Пособие к СНиП II-25-80Пособие к СНиП II-25-80Пособие к СНиП II-25-80Пособие к СНиП II-25-80Пособие к СНиП II-25-80Пособие к СНиП II-25-80Пособие к СНиП II-25-80Пособие к СНиП II-25-80Пособие к СНиП II-25-80Пособие к СНиП II-25-80Пособие к СНиП II-25-80Пособие к СНиП II-25-80Пособие к СНиП II-25-80Пособие к СНиП II-25-80Пособие к СНиП II-25-80Пособие к СНиП II-25-80Пособие к СНиП II-25-80Пособие к СНиП II-25-80Пособие к СНиП II-25-80Пособие к СНиП II-25-80Пособие к СНиП II-25-80Пособие к СНиП II-25-80Пособие к СНиП II-25-80Пособие к СНиП II-25-80Пособие к СНиП II-25-80Пособие к СНиП II-25-80Пособие к СНиП II-25-80Пособие к СНиП II-25-80Пособие к СНиП II-25-80Пособие к СНиП II-25-80Пособие к СНиП II-25-80Пособие к СНиП II-25-80Пособие к СНиП II-25-80Пособие к СНиП II-25-80Пособие к СНиП II-25-80Пособие к СНиП II-25-80Пособие к СНиП II-25-80Пособие к СНиП II-25-80Пособие к СНиП II-25-80Пособие к СНиП II-25-80Пособие к СНиП II-25-80Пособие к СНиП II-25-80Пособие к СНиП II-25-80Пособие к СНиП II-25-80Пособие к СНиП II-25-80Пособие к СНиП II-25-80Пособие к СНиП II-25-80Пособие к СНиП II-25-80Пособие к СНиП II-25-80Пособие к СНиП II-25-80Пособие к СНиП II-25-80Пособие к СНиП II-25-80Пособие к СНиП II-25-80Пособие к СНиП II-25-80Пособие к СНиП II-25-80Пособие к СНиП II-25-80Пособие к СНиП II-25-80Пособие к СНиП II-25-80Пособие к СНиП II-25-80Пособие к СНиП II-25-80Пособие к СНиП II-25-80Пособие к СНиП II-25-80Пособие к СНиП II-25-80Пособие к СНиП II-25-80Пособие к СНиП II-25-80Пособие к СНиП II-25-80Пособие к СНиП II-25-80Пособие к СНиП II-25-80Пособие к СНиП II-25-80Пособие к СНиП II-25-80Пособие к СНиП II-25-80Пособие к СНиП II-25-80Пособие к СНиП II-25-80Пособие к СНиП II-25-80Пособие к СНиП II-25-80Пособие к СНиП II-25-80Пособие к СНиП II-25-80Пособие к СНиП II-25-80Пособие к СНиП II-25-80Пособие к СНиП II-25-80Пособие к СНиП II-25-80Пособие к СНиП II-25-80Пособие к СНиП II-25-80Пособие к СНиП II-25-80Пособие к СНиП II-25-80Пособие к СНиП II-25-80Пособие к СНиП II-25-80Пособие к СНиП II-25-80Пособие к СНиП II-25-80Пособие к СНиП II-25-80Пособие к СНиП II-25-80Пособие к СНиП II-25-80Пособие к СНиП II-25-80Пособие к СНиП II-25-80Пособие к СНиП II-25-80Пособие к СНиП II-25-80Пособие к СНиП II-25-80Пособие к СНиП II-25-80Пособие к СНиП II-25-80Пособие к СНиП II-25-80Пособие к СНиП II-25-80Пособие к СНиП II-25-80Пособие к СНиП II-25-80Пособие к СНиП II-25-80Пособие к СНиП II-25-80Пособие к СНиП II-25-80Пособие к СНиП II-25-80Пособие к СНиП II-25-80Пособие к СНиП II-25-80Пособие к СНиП II-25-80Пособие к СНиП II-25-80Пособие к СНиП II-25-80Пособие к СНиП II-25-80Пособие к СНиП II-25-80Пособие к СНиП II-25-80Пособие к СНиП II-25-80Пособие к СНиП II-25-80Пособие к СНиП II-25-80Пособие к СНиП II-25-80Пособие к СНиП II-25-80Пособие к СНиП II-25-80Пособие к СНиП II-25-80Пособие к СНиП II-25-80Пособие к СНиП II-25-80Пособие к СНиП II-25-80Пособие к СНиП II-25-80Пособие к СНиП II-25-80Пособие к СНиП II-25-80Пособие к СНиП II-25-80Пособие к СНиП II-25-80Пособие к СНиП II-25-80Пособие к СНиП II-25-80Пособие к СНиП II-25-80Пособие к СНиП II-25-80Пособие к СНиП II-25-80Пособие к СНиП II-25-80Пособие к СНиП II-25-80Пособие к СНиП II-25-80Пособие к СНиП II-25-80Пособие к СНиП II-25-80Пособие к СНиП II-25-80Пособие к СНиП II-25-80Пособие к СНиП II-25-80Пособие к СНиП II-25-80Пособие к СНиП II-25-80Пособие к СНиП II-25-80Пособие к СНиП II-25-80Пособие к СНиП II-25-80Пособие к СНиП II-25-80Пособие к СНиП II-25-80Пособие к СНиП II-25-80Пособие к СНиП II-25-80Пособие к СНиП II-25-80Пособие к СНиП II-25-80Пособие к СНиП II-25-80Пособие к СНиП II-25-80Пособие к СНиП II-25-80Пособие к СНиП II-25-80Пособие к СНиП II-25-80Пособие к СНиП II-25-80Пособие к СНиП II-25-80Пособие к СНиП II-25-80Пособие к СНиП II-25-80Пособие к СНиП II-25-80Пособие к СНиП II-25-80Пособие к СНиП II-25-80Пособие к СНиП II-25-80Пособие к СНиП II-25-80Пособие к СНиП II-25-80Пособие к СНиП II-25-80Пособие к СНиП II-25-80Пособие к СНиП II-25-80Пособие к СНиП II-25-80

© 2013 Ёшкин Кот :-) Карта сайта