| ||||||||||||||||||||||||||||||
Скачать СТ СЭВ 4702-84 Универсальная международная система автоматического контроля, регулирования и управления (УРС). Изделия УРС. Общие методы испытаний на устойчивость к электромагнитным помехамДата актуализации: 10.08.2017
|
| Обозначение: | СТ СЭВ 4702-84 |
| Обозначение англ: | ST COMECON 4702-84 |
| Статус: | действует |
| Название рус.: | Универсальная международная система автоматического контроля, регулирования и управления (УРС). Изделия УРС. Общие методы испытаний на устойчивость к электромагнитным помехам |
| Дата добавления в базу: | 01.09.2013 |
| Дата актуализации: | 05.05.2017 |
| Дата введения: | 01.01.1984 |
| Область применения: | Стандарт СЭВ распространяется на изделия Универсальной международной системы автоматического контроля, регулирования и управления промышленными процессами (далее - изделия), изготовляемые по СТ СЭВ 1635-79, и устанавливает общие методы испытаний на устойчивость изделий к стандартным электромагнитным помехам (далее - помехи), появляющимся на клеммах подключаемых внешних цепей и на поверхности корпусов изделий. Стандарт СЭВ не распространяется на изделия, устанавливаемые на морских судах и самолетах. Стандарт СЭВ не устанавливает методов испытаний на устойчивость изделий к электромагнитным излучаемым помехам. |
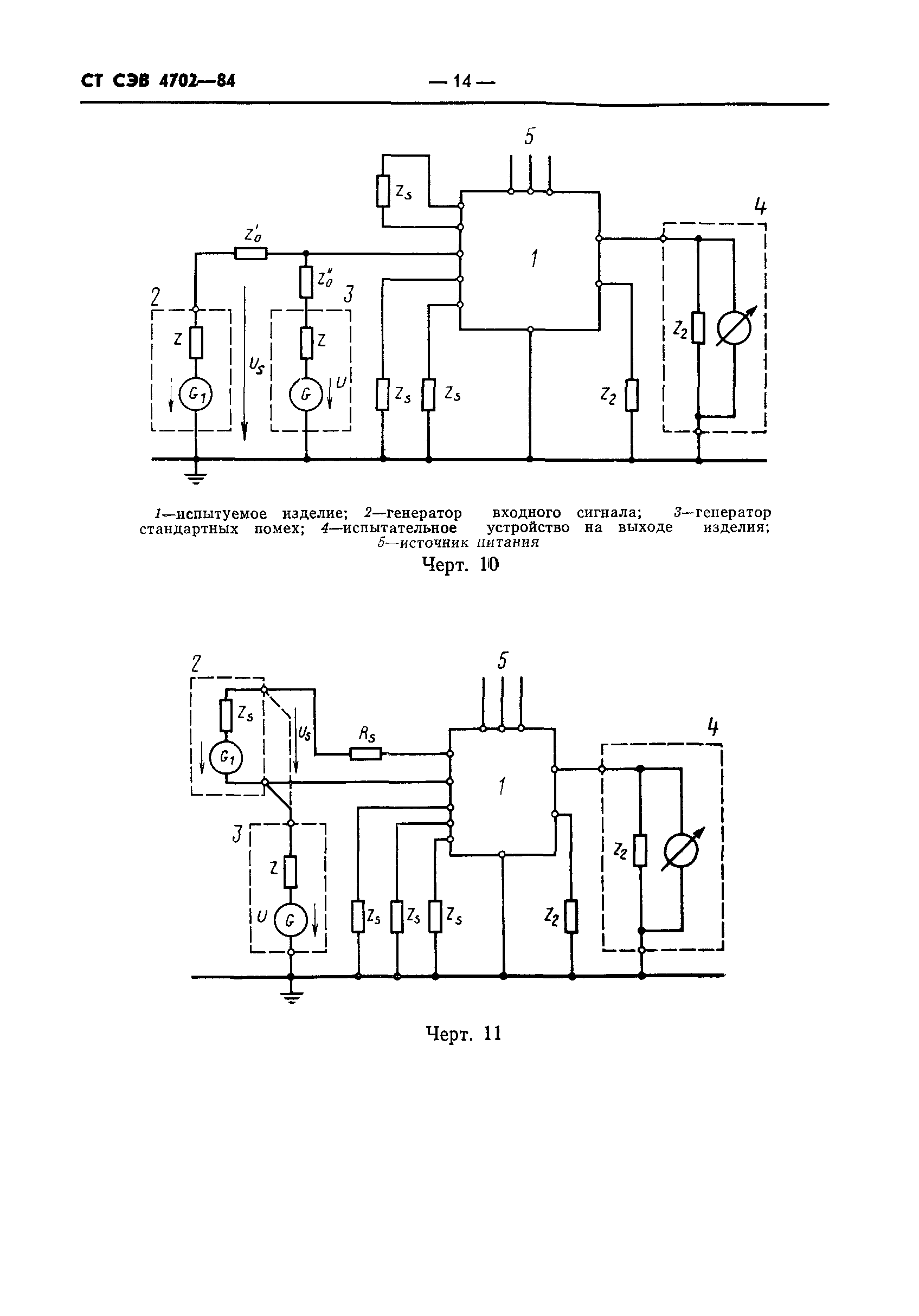
| Оглавление: | 1. Термины и определения 2. Общие положения 3. Аппаратура и вспомогательные устройства 4. Подготовка к испытанию 5. Условия испытаний 6. Проведение испытаний 7. Оценка результатов испытаний Приложение Стандартные сигналы помех Приложение Примеры структурных схем генераторов стандартных сигналов помех и схем для проведения испытаний |
| Разработан: | Делегация ЧССР в ПКС СЭВ |
| Утверждён: | 01.01.1984 Госстандарт СССР (USSR Gosstandart ) |
| Расположен в: | |
| Нормативные ссылки: |

















