Информационная система
«Ёшкин Кот»

Скачать базу одним архивом
Скачать обновления
История создания базы
Карта сайта

Скачать Указание Указания по применению наземной стереофотограмметрической съемки в изысканиях автомобильных дорог

Дата актуализации: 10.08.2017

Указание

Указания по применению наземной стереофотограмметрической съемки в изысканиях автомобильных дорог

Обозначение: Указание
Обозначение англ: Guidelines
Статус:действует
Название рус.:Указания по применению наземной стереофотограмметрической съемки в изысканиях автомобильных дорог
Название англ.:Guidelines on the Use of Ground-Based Stereophotogrammetric Surveying in Road and Highway Surveys
Дата добавления в базу:01.09.2013
Дата актуализации:05.05.2017
Дата введения:26.01.1976
Оглавление:1 Основы наземной стереофотограмметрической съемки
   1.1 Основные положения, фототеодолиты и принадлежности
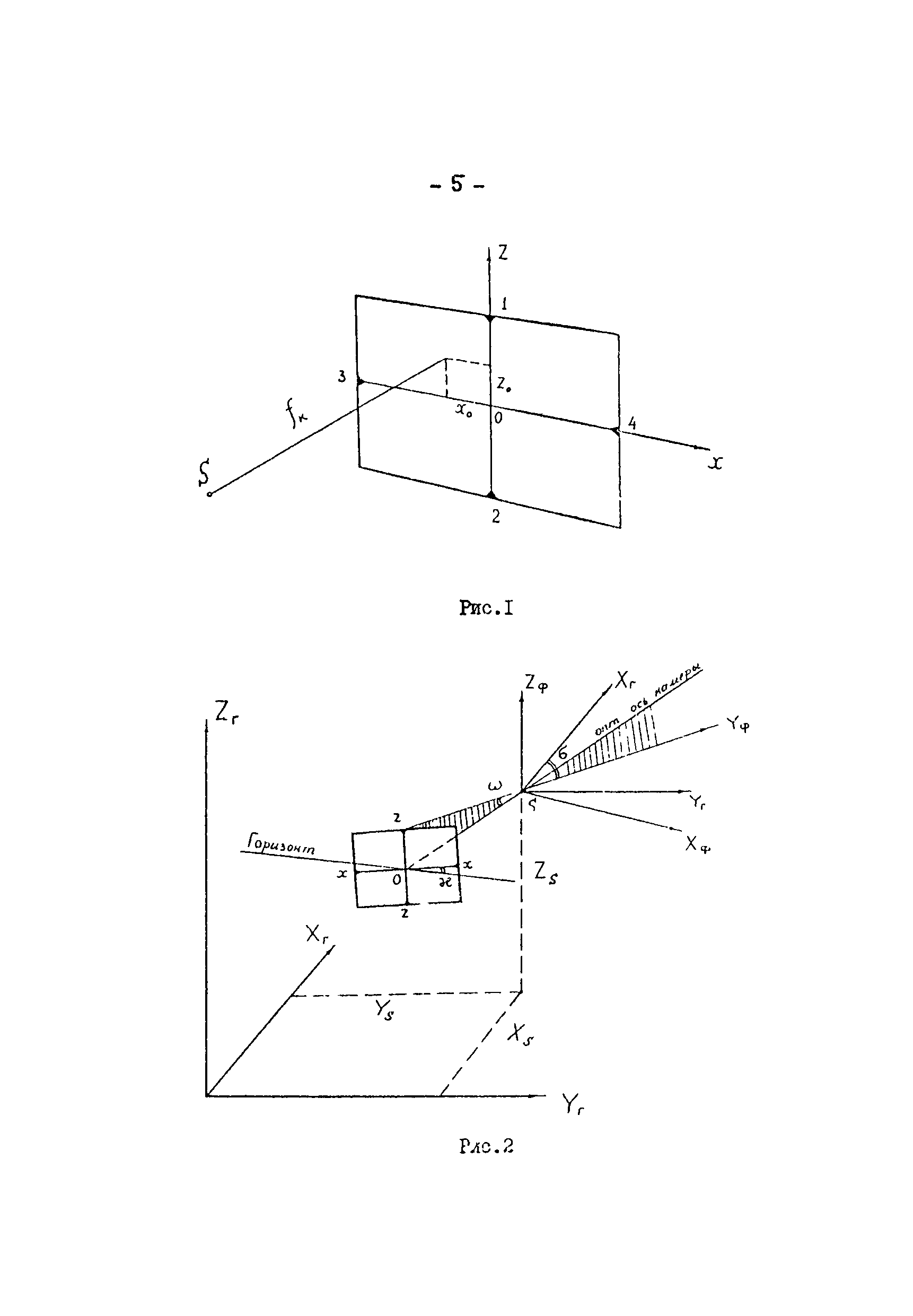
   1.2 Системы координат. Элементы ориентирования. Связь между координатами точек снимка и местности
   1.3 Виды фототеодолитной съемки
   1.4 Сведения из теории ошибок
   1.5 Расчет параметров съемки
2 Полевые работы
   2.1 Составление проекта съемки
   2.2 Рекогносцировка участка съемки
   2.3 Геодезические работы по обоснованию съемки
   2.4 Фотографирование местности и фотолабораторные работы
   2.5 Топографическое и инженерное дешифрование снимков
   2.6 Особенности производства НСС с разреженным геодезическим обоснованием
      2.6.1 Способ створных базисов
      2.6.2 Сгущение геодезического обоснования маршрутной фотосъемки способом связки независимых моделей
      2.6.3 Способ аналитического создания геодезического обоснования НСС
      2.6.4 Общий случай съемки
3 Камеральные работы
   3.1 Подготовительные работы
   3.2 Фотограмметрические способы определения координат контрольных и определяемых точек
   3.3 Аналитическая обработка припомощи ЭВМ результатов измерений фотоснимков
      3.3.1 Аналитическая обработка одиночных стереопар
      3.3.2 Аналитическое сгущение геодезического обоснования маршрутной фотосъемки
      3.3.3 Створные базисы
   3.4 Составление топографических планов графомеханическим способом
      3.4.1 Построение модели и установка основы на координатографе
      3.4.2 Корректура модели
      3.4.3 Особенности обработки наземных снимков на стереопланиграфе, стереометрографе, топокарте, технокарте
      3.4.4 Рисовка рельефа и контуров. Оформление плана
      3.4.5 Составление топографических планов графоаналитическим методом
4 Применение НСС для решения некоторых инженерных задач
   4.1 Измерения на стереомодели при изысканиях трасс наприжимных участках
      4.1.1 Особенности полевых фототеодолитных работ
      4.1.2 Составление разрезов местности по материалам НСС
      4.1.3 Проектирование плана трассы
      4.1.4 Составление поперечных профилей
      4.1.5 Составление фронтальных планов и фотопланов
Приложения
Литература
Утверждён:26.01.1976 Минавтодор РСФСР (Russian Federation Minavtodor 3)
Расположен в:Техническая документация Строительство Нормативные документы Отраслевые и ведомственные нормативно-методические документы Проектирование и строительство автомобильных дорог Национальные стандарты Инженерные изыскания для строительства автомобильных дорог и искусственных сооружений на них Фото- и аэрометоды при изысканиях автомобильных дорог
Указание Указание Указание Указание Указание Указание Указание Указание Указание Указание Указание Указание Указание Указание Указание Указание Указание Указание Указание Указание Указание Указание Указание Указание Указание Указание Указание Указание Указание Указание Указание Указание Указание Указание Указание Указание Указание Указание Указание Указание Указание Указание Указание Указание Указание Указание Указание Указание Указание Указание Указание Указание Указание Указание Указание Указание Указание Указание Указание Указание Указание Указание Указание Указание Указание Указание Указание Указание Указание Указание Указание Указание Указание Указание Указание Указание Указание Указание Указание Указание Указание Указание Указание Указание Указание Указание Указание Указание Указание Указание Указание Указание Указание Указание Указание Указание Указание Указание Указание Указание Указание Указание Указание Указание Указание Указание Указание Указание Указание Указание

© 2013 Ёшкин Кот :-) Карта сайта