Информационная система
«Ёшкин Кот»

Скачать базу одним архивом
Скачать обновления
История создания базы
Карта сайта

Скачать Методические рекомендации Методические рекомендации по выбору решетчатых конструкций для укрепления конусов и откосов земляного полотна автомобильных дорог

Дата актуализации: 10.08.2017

Методические рекомендации

Методические рекомендации по выбору решетчатых конструкций для укрепления конусов и откосов земляного полотна автомобильных дорог

Обозначение: Методические рекомендации
Обозначение англ: Recommended Practice
Статус:действует
Название рус.:Методические рекомендации по выбору решетчатых конструкций для укрепления конусов и откосов земляного полотна автомобильных дорог
Название англ.:Recommended Practice for the Selection of Screen Structures for Reinforcement of Roadbed Backslopes and Foreslopes
Дата добавления в базу:01.09.2013
Дата актуализации:05.05.2017
Дата введения:01.01.1973
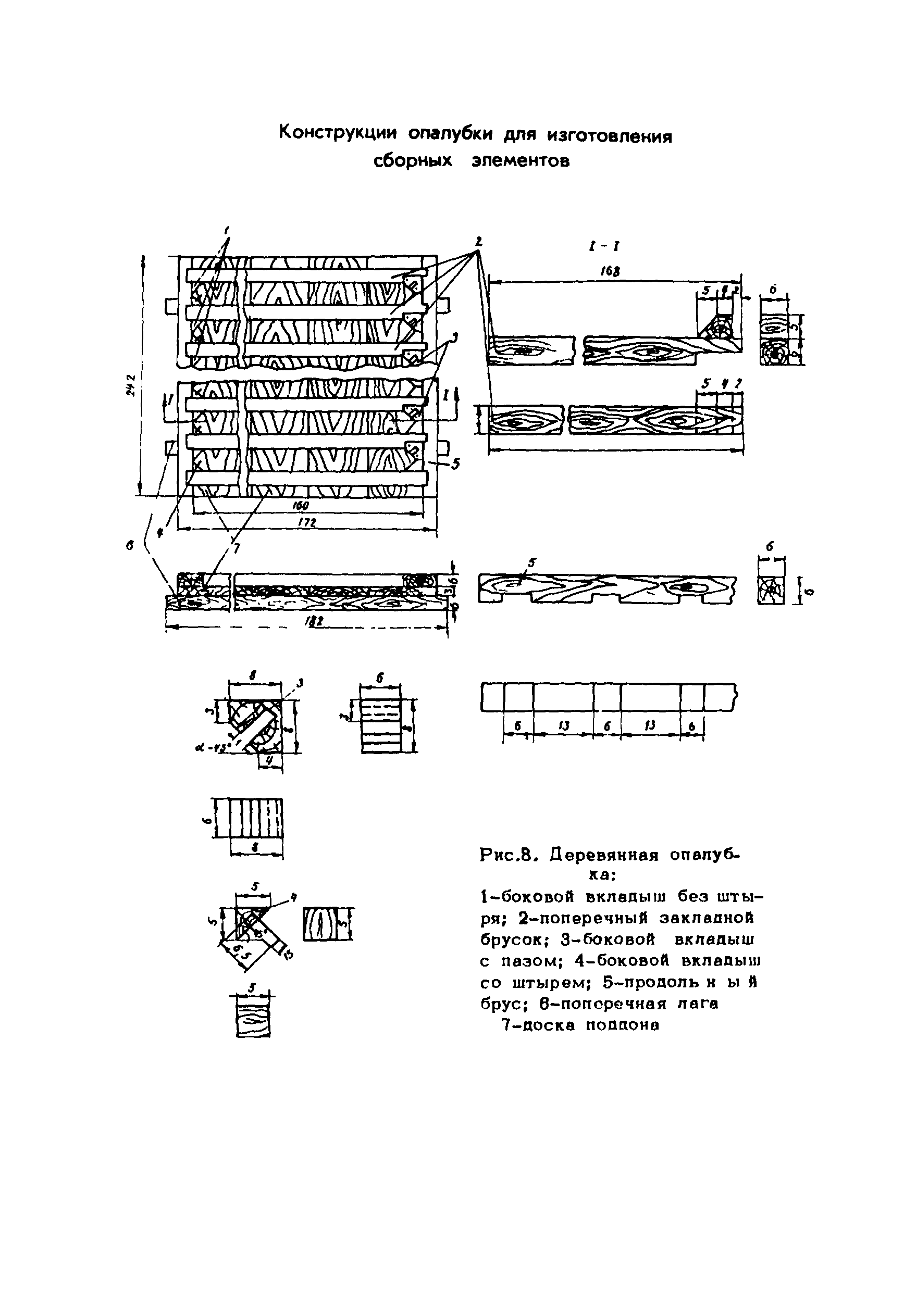
Область применения:Даны варианты решетчатых конструкций из сборных элементов с различным заполнением ячеек и рассмотрены основные конструктивные особенности предлагаемого нового способа укрепления конусов и откосов. Приведены основные формы нарушения местной устойчивости подтапливаемых и неподтапливаемых («сухих») откосов, когда целесообразно применять решетчатые конструкции для предотвращения развития возможных деформаций. Обоснована область применения различных вариантов решетчатых конструкций взамен традиционно применяемых и малоэффективных способов укрепления откосов в практике транспортного строительства. Приведены требования к изготовлению сборных элементов, технологии их монтажа на откосах, а также по технике безопасности. Даны примеры конструирования, изготовления и монтажа решетчатых конструкций.
Оглавление:Предисловие
Общие положения
Решетчатые конструкции из сборных элементов
Область применения
Принципы назначения решетчатых конструкций в зависимости от характера ожидаемых деформаций конусов и откосов
Технология изготовления сборных элементов
Технология монтажа решетчатых конструкций из сборных элементов
Техника безопасности
Приложение 1 Оценка местной устойчивости
Приложение 2 Примеры укрепления, проектирования, изготовления, монтажа решетчатых конструкций из сборных элементов
Разработан: Союздорпроект Минтрансстроя
ТюмИСИ
СоюздорНИИ
Утверждён:01.01.1973 Союздорнии (Soyuzdornii )
Принят: Минтрансстрой СССР (USSR Mintransstroy )
Издан: Союздорнии (1973 г. )
Расположен в:Техническая документация Экология ГРАЖДАНСКОЕ СТРОИТЕЛЬСТВО Строительство дорог Строительство дорог в целом Строительство Нормативные документы Отраслевые и ведомственные нормативно-методические документы Проектирование и строительство автомобильных дорог Национальные стандарты Проектирование, строительство, ремонт и содержание автомобильных дорог Укрепление откосов земляного полотна, конусов мостов, размываемых русел
Методические рекомендации Методические рекомендации Методические рекомендации Методические рекомендации Методические рекомендации Методические рекомендации Методические рекомендации Методические рекомендации Методические рекомендации Методические рекомендации Методические рекомендации Методические рекомендации Методические рекомендации Методические рекомендации Методические рекомендации Методические рекомендации Методические рекомендации Методические рекомендации Методические рекомендации Методические рекомендации Методические рекомендации Методические рекомендации Методические рекомендации Методические рекомендации Методические рекомендации Методические рекомендации Методические рекомендации Методические рекомендации Методические рекомендации Методические рекомендации Методические рекомендации Методические рекомендации Методические рекомендации Методические рекомендации Методические рекомендации Методические рекомендации Методические рекомендации Методические рекомендации Методические рекомендации Методические рекомендации Методические рекомендации Методические рекомендации Методические рекомендации Методические рекомендации Методические рекомендации Методические рекомендации Методические рекомендации Методические рекомендации Методические рекомендации Методические рекомендации Методические рекомендации Методические рекомендации Методические рекомендации Методические рекомендации Методические рекомендации Методические рекомендации Методические рекомендации Методические рекомендации

© 2013 Ёшкин Кот :-) Карта сайта