Информационная система
«Ёшкин Кот»

Скачать базу одним архивом
Скачать обновления
История создания базы
Карта сайта

Скачать К-1-19-5 Типовая технологическая карта. Засыпка фундаментов под унифицированные стальные анкерно-угловые опоры типов У35-2, У110-1 и У110-2

Дата актуализации: 10.08.2017

К-1-19-5

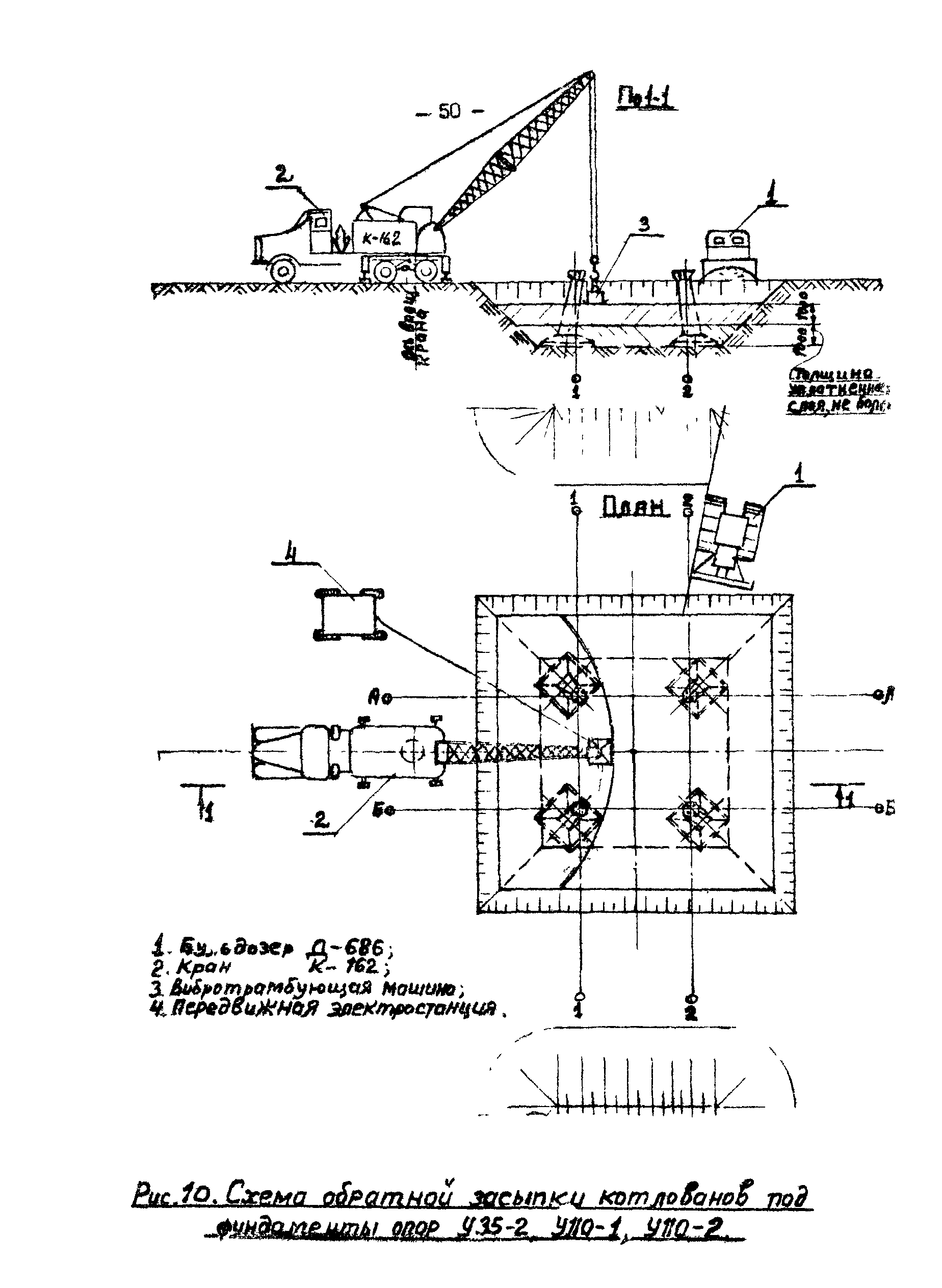
Типовая технологическая карта. Засыпка фундаментов под унифицированные стальные анкерно-угловые опоры типов У35-2, У110-1 и У110-2

Обозначение: К-1-19-5
Обозначение англ: К-1-19-5
Статус:не установлен срок действия
Название рус.:Типовая технологическая карта. Засыпка фундаментов под унифицированные стальные анкерно-угловые опоры типов У35-2, У110-1 и У110-2
Название англ.:Standard Process Chart - Backfilling of Foundations for Standardized Anchor-Angle Steel Supports Types U35-2, U110-1 and U110-2
Дата добавления в базу:01.09.2013
Дата актуализации:05.05.2017
Дата введения:01.01.1975
Оглавление:Введение
Общая часть
Материально-технические ресурсы (на одно звено рабочих)
Потребность в основных эксплуатационных материалах
Калькуляция трудозатрат на засыпку фундаментов и уплотнение грунта засыпки (на 100 м3 грунта)
Область применения
Технико-экономические показатели на засыпку котлованов с уплотнением грунта (На одну опору)
Организация и технология производственных работ
Организация и методы труда рабочих
Трудозатраты за засыпку и утрамбовку котлованов (на одну опору)
Разработан: Оргэнергострой
Утверждён: Минэнерго СССР (USSR Minenergo )
Расположен в:Техническая документация Экология СТРОИТЕЛЬНЫЕ МАТЕРИАЛЫ И СТРОИТЕЛЬСТВО Технология строительства Технология строительства в целом Строительство Справочные документы Технологические карты Линии электропередачи
Нормативные ссылки:
К-1-19-5К-1-19-5К-1-19-5К-1-19-5К-1-19-5К-1-19-5К-1-19-5К-1-19-5К-1-19-5К-1-19-5К-1-19-5К-1-19-5К-1-19-5К-1-19-5К-1-19-5К-1-19-5К-1-19-5

© 2013 Ёшкин Кот :-) Карта сайта