| ||||||||||||||||||||||||||||||||||
Скачать ГОСТ Р МЭК 61217-99 Аппараты дистанционные для лучевой терапии. Координаты, движения и шкалыДата актуализации: 10.08.2017
|
| Обозначение: | ГОСТ Р МЭК 61217-99 |
| Обозначение англ: | GOST R IEC 61217-99 |
| Статус: | отменен |
| Название рус.: | Аппараты дистанционные для лучевой терапии. Координаты, движения и шкалы |
| Название англ.: | Radiotherapy equipment. Coordinates, movements and scales |
| Дата добавления в базу: | 01.09.2013 |
| Дата актуализации: | 05.05.2017 |
| Дата введения: | 01.01.2015 |
| Область применения: | Стандарт распространяется на аппараты, применяемые в лучевой терапии, - изоцентрические гамма-терапевтические аппараты, изоцентрические медицинские ускорители, симуляторы и неизоцентрические аппараты, если они используются, а также на данные, относящиеся к лучевой терапии, в частности, данные изображения тела пациента, используемые в связи с применением систем планирования облучением. |
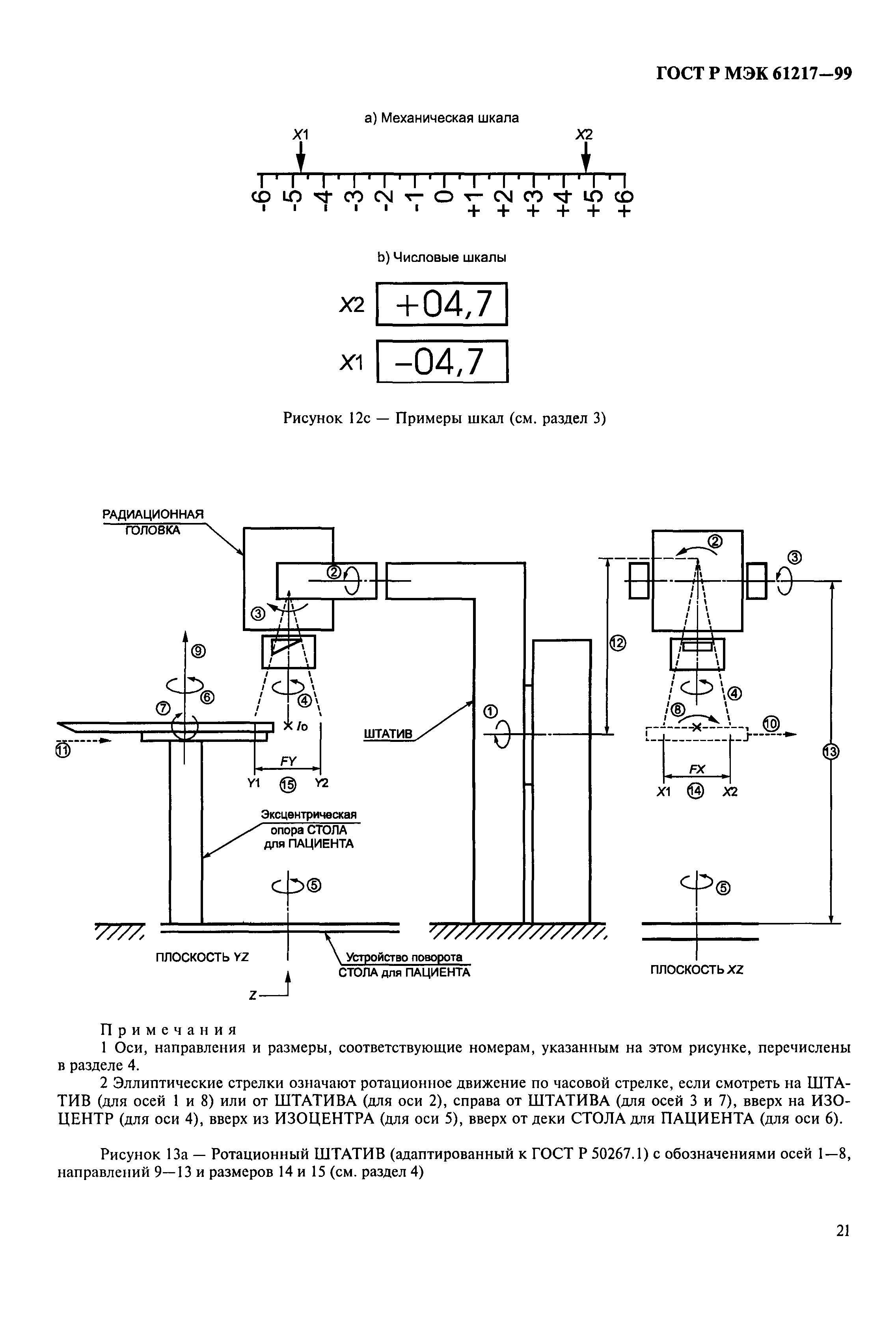
| Оглавление: | 1 Область применения 2 Системы координат 2.1 Общие положения 2.2 Неподвижная система координат - «f» (рисунок 1а) 2.3 Система координат ШТАТИВА - «g» (рисунок 4) 2.4 Система координат КОЛЛИМАТОРА ПУЧКА или ОГРАНИЧИТЕЛЯ ПУЧКА ИЗЛУЧЕНИЯ - «b» (рисунок 5) 2.5 Система координат КЛИНОВИДНОГО ФИЛЬТРА - «w» (рисунок 7) 2.6 Система координат ПРИЕМНИКА РЕНТГЕНОВСКОГО ИЗОБРАЖЕНИЯ - «r» (рисунки 6 и8) 2.7 Система координат опоры СТОЛА для ПАЦИЕНТА - «s» (рисунок 9) 2.8 Система координат деки СТОЛА для ПАЦИЕНТА- «е» (рисунки 10 и 11а -11с) 2.9 Система координат деки СТОЛА для ПАЦИЕНТА - «t» (рисунки 10 и 11а - 11с) 3 Шкалы и цифровые ДИСПЛЕИ 4 Движения частей АППАРАТА 5 Нулевые позиции АППАРАТА 6 Шкалы, градуировки, направления и ДИСПЛЕИ 6.1 Ротация ШТАТИВА (рисунки 14а и 14b) 6.2 Поворот КОЛЛИМАТОРА ПУЧКА или ОГРАНИЧИТЕЛЯ ПУЧКА ИЗЛУЧЕНИЯ (рисунки 15а и 15b) 6.3 Поворот КЛИНОВИДНОГО ФИЛЬТРА (рисунки 7 и 14а) 6.4 ПОЛЕ ОБЛУЧЕНИЯ или ОГРАНИЧЕННОЕ РАДИАЦИОННОЕ ПОЛЕ 6.5 Изоцентрический поворот опоры СТОЛА для ПАЦИЕНТА 6.6 Эксцентрический поворот деки СТОЛА для ПАЦИЕНТА 6.7 Линейные перемещения деки СТОЛА для ПАЦИЕНТА 6.8 Движения ПРИЕМНИКА РЕНТГЕНОВСКОГО ИЗОБРАЖЕНИЯ 6.9 Другие шкалы Приложение А Примеры преобразования координат различных систем координат Приложение В Библиография Приложение С Обоснование изменений в шкалах Приложение D Перечень дополнений и изменений к информации по шкалам, данной в ГОСТ Р 50267.1, ГОСТ Р 50267.11, ГОСТ Р МЭК 60976, ГОСТ Р МЭК 60977 Приложение Е Указатель терминов |
| Разработан: | ВНИИИМТ |
| Утверждён: | 29.12.1999 Госстандарт России (Russian Federation Gosstandart 831-ст) |
| Издан: | ИПК Издательство стандартов (2000 г. ) |
| Расположен в: | |
| Нормативные ссылки: |
|

















































