Информационная система
«Ёшкин Кот»

Скачать базу одним архивом
Скачать обновления
История создания базы
Карта сайта

Скачать ГОСТ 30827-2002 Топливо твердое минеральное. Определение истирающей способности (абразивности)

Дата актуализации: 10.08.2017

ГОСТ 30827-2002

Топливо твердое минеральное. Определение истирающей способности (абразивности)

Обозначение: ГОСТ 30827-2002
Обозначение англ: GOST 30827-2002
Статус:действует
Название рус.:Топливо твердое минеральное. Определение истирающей способности (абразивности)
Название англ.:Solid mineral fuel. Determination of abrasiveness
Дата добавления в базу:01.09.2013
Дата актуализации:05.05.2017
Дата введения:01.01.2004
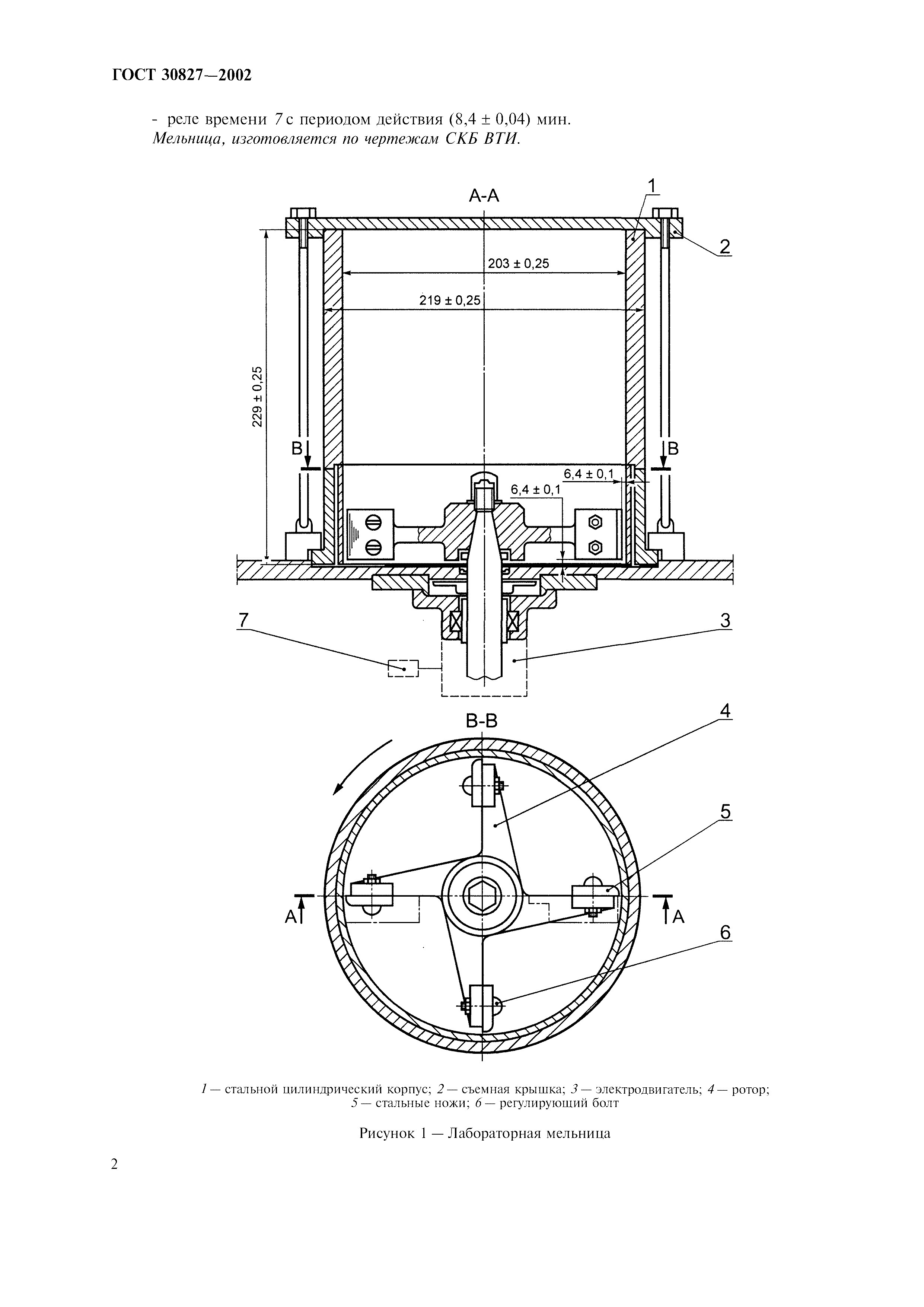
Область применения:Стандарт устанавливает метод определения истирающей способности каменных и бурых углей, антрацитов, лигнитов, горючих сланцев на лабораторной мельнице.
Оглавление:1 Область применения
2 Нормативные ссылки
3 Сущность метода
4 Аппаратура, материалы, реактивы
5 Отбор и подготовка проб
6 Подготовка к испытанию
7 Проведение испытания
8 Обработка результатов
9 Точность результатов измерений
10 Оформление результатов испытания
Разработан: ВТИ
ТК 179 Твердое минеральное топливо
Утверждён:03.06.2003 Госстандарт России (Russian Federation Gosstandart 179-ст)
06.11.2002 Межгосударственный Совет по стандартизации, метрологии и сертификации (Inter-Governmental Council on Standardization, Metrology, and Certification 22)
Издан: ИПК Издательство стандартов (2003 г. )
Расположен в:Техническая документация Электроэнергия ГОРНОЕ ДЕЛО И ПОЛЕЗНЫЕ ИСКОПАЕМЫЕ Угли Экология ГОРНОЕ ДЕЛО И ПОЛЕЗНЫЕ ИСКОПАЕМЫЕ Угли
Нормативные ссылки:
ГОСТ 30827-2002ГОСТ 30827-2002ГОСТ 30827-2002ГОСТ 30827-2002ГОСТ 30827-2002ГОСТ 30827-2002ГОСТ 30827-2002ГОСТ 30827-2002ГОСТ 30827-2002ГОСТ 30827-2002ГОСТ 30827-2002ГОСТ 30827-2002

© 2013 Ёшкин Кот :-) Карта сайта