| ||||||||||||||||||||||||||||||||
Скачать РД 34.22.402-94 Типовая инструкция по приемке и эксплуатации башенных градиренДата актуализации: 10.08.2017
|
| Обозначение: | РД 34.22.402-94 |
| Обозначение англ: | RD 34.22.402-94 |
| Статус: | действует |
| Название рус.: | Типовая инструкция по приемке и эксплуатации башенных градирен |
| Название англ.: | Model Guidelines for Acceptance and Operation of Chimney-Type Cooling Towers |
| Дата добавления в базу: | 01.09.2013 |
| Дата актуализации: | 05.05.2017 |
| Дата введения: | 01.01.1996 |
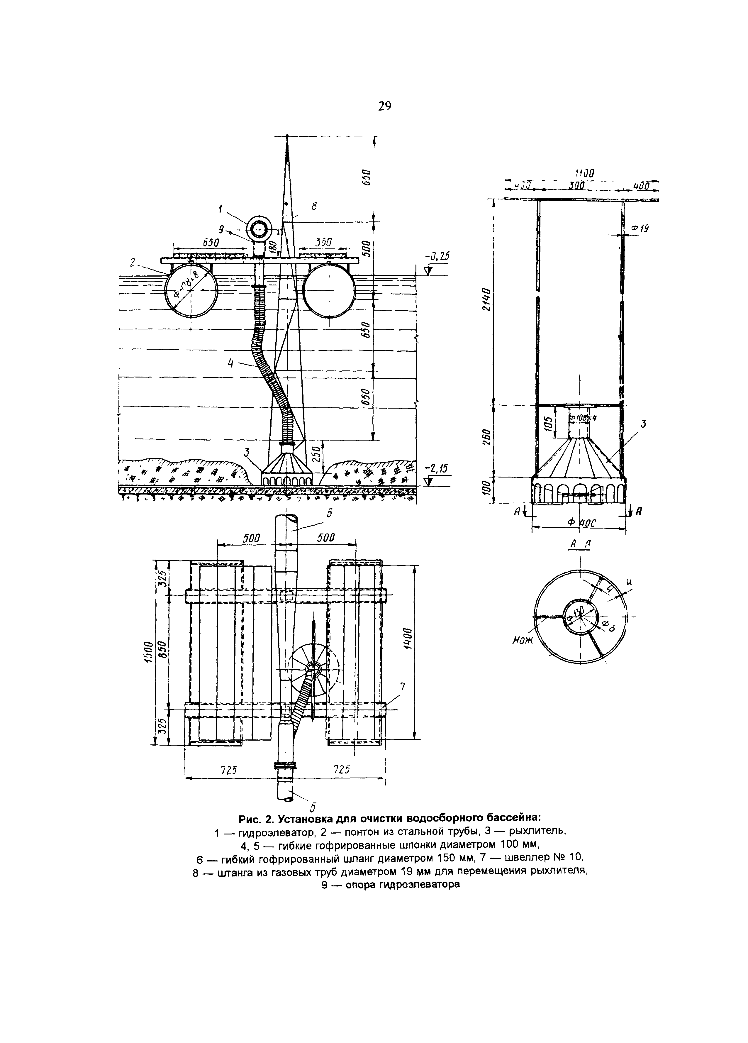
| Оглавление: | 1. Общая часть А. Приемка градирен в эксплуатацию 2. Права и обязанности рабочей комиссии 3. Порядок приемки строительных конструкций в эксплуатацию 3.1. Монолитные железобетонные элементы оболочки, водосборного бассейна и фундаментов каркаса обшивной оболочки 3.2. Сборные железобетонные конструкции 3.3. Арматурные работы 3.4. Металлические элементы каркаса обшивной оболочки, лестниц и площадок 3.5. Деревянные элементы обшивки, оросительного и водоулавливающего устройств 3.6. Асбестоцементные элементы оросительного устройства и обшивки оболочки 3.7. Алюминиевая обшивка 3.8. Трубопроводы водораспределительного устройства 3.9. Антикоррозионная защита строительных конструкций 3.10. Грозозащита и светоограждение 4. Пробный пуск градирни 5. Приемочные испытания градирни Б. Эксплуатация градирен 6. Подготовка градирни к пуску 7. Пуск градирни 8. Обслуживание градирни 8.1. Общие сведения 8.2. Водосборный бассейн 8.3 .Водораспределительное устройство 8.4. Ороситель 8.5. Водоуловитель 8.6. Вытяжная башня 8.7. Территория 9. Зимний режим работы градирни 10. Останов градирни 11. Техника безопасности при эксплуатации градирни 12. Контроль за работой градирни Приложение 1. Акт приемки в эксплуатацию приемочной комиссией законченной строительством (реконструкцией) градирни Приложение 2. Форма паспорта градирни Приложение 3. Перечень и формы производственно-технической документации, которую необходимо вести при строительстве, реконструкции, пробном пуске и испытании градирни Приложение 4. Нормативные характеристики башенных градирен площадью орошения 500-4200 м2, поправка на ветер |
| Разработан: | АО Фирма ОРГРЭС |
| Утверждён: | 23.12.1994 РАО ЕЭС России (UES of Russia RAO ) |
| Издан: | СПО ОРГРЭС (1997 г. ) |
| Расположен в: | |
| Нормативные ссылки: |
















































































