| ||||||||||||||||||||||||||||||||||||
Скачать РД 34.26.511-91 Типовая инструкция по эксплуатации газомазутного водогрейного котла типа КВГМ - 180Дата актуализации: 10.08.2017
|
| Обозначение: | РД 34.26.511-91 |
| Обозначение англ: | RD 34.26.511-91 |
| Статус: | действует |
| Название рус.: | Типовая инструкция по эксплуатации газомазутного водогрейного котла типа КВГМ - 180 |
| Название англ.: | Model Guidelines for Operation of Gas-Fuel-Oil Hot Water Boiler Type KVGM - 180 |
| Дата добавления в базу: | 01.09.2013 |
| Дата актуализации: | 05.05.2017 |
| Дата введения: | 01.01.1993 |
| Область применения: | Типовая инструкция устанавливает общий порядок, последовательность и условия выполнения основных технологических операций, обеспечивающих надежную, экономическую и экологически безопасную эксплуатацию газомазутных водогрейных котлов типа КВГМ-180. |
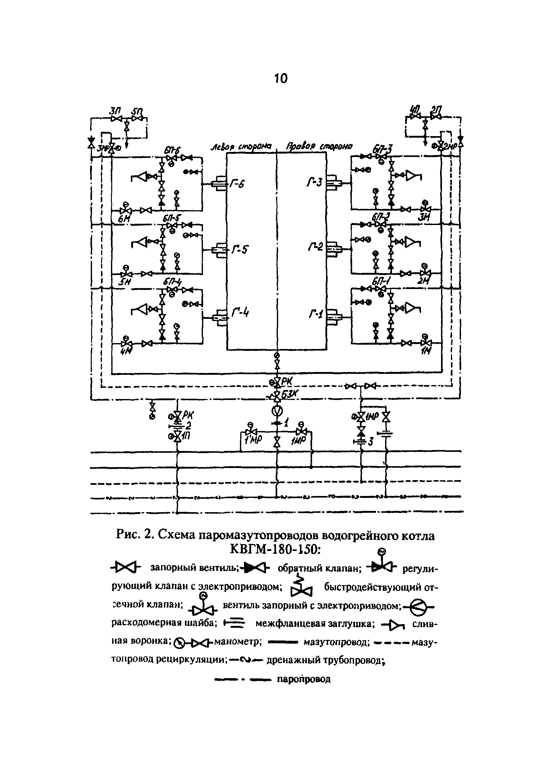
| Оглавление: | 1 Общие положения 2 Растопка котла 3 Перевод котла с одного вида топлива на другой 4 Обслуживание котла во время работы под нагрузкой 5 Останов котла 6 Аварийные положения 7 Основные указания по технике безопасности, взрыво- и пожаробезопасности Приложение 1 Краткое описание водогрейного котла КВГМ-180-150 Приложение 2 Примерная форма режимной карты водогрейного котла КВГМ-180-150 Приложение 3 Объем оснащения котла средствами измерения, авторегулирования, технологическими защитами, блокировками и сигнализацией |
| Разработан: | АО Фирма ОРГРЭС |
| Утверждён: | 29.12.1991 Главтехуправление Минэнерго СССР (Glavtekhupravleniye, USSR Minenergo ) |
| Издан: | СПО ОРГРЭС (1993 г. ) |
| Расположен в: | |
| Список изменений: |
|
| Нормативные ссылки: |
|











































Текстовое изменение № 1 от 11.01.1994
Текстовое изменение № 2 от 01.01.1997
