| ||||||||||||||||||||||||||||||||||
Скачать РД 34.27.406 Методические указания по наладке и испытаниям систем внутреннего пневмозолоудаления аэрожелобамиДата актуализации: 10.08.2017
|
| Обозначение: | РД 34.27.406 |
| Обозначение англ: | RD 34.27.406 |
| Статус: | действует |
| Название рус.: | Методические указания по наладке и испытаниям систем внутреннего пневмозолоудаления аэрожелобами |
| Название англ.: | Procedural Guidelines for Adjustment and Tests of Internal Pneumatic Ash Collection Systems |
| Дата добавления в базу: | 01.09.2013 |
| Дата актуализации: | 05.05.2017 |
| Дата введения: | 01.01.1988 |
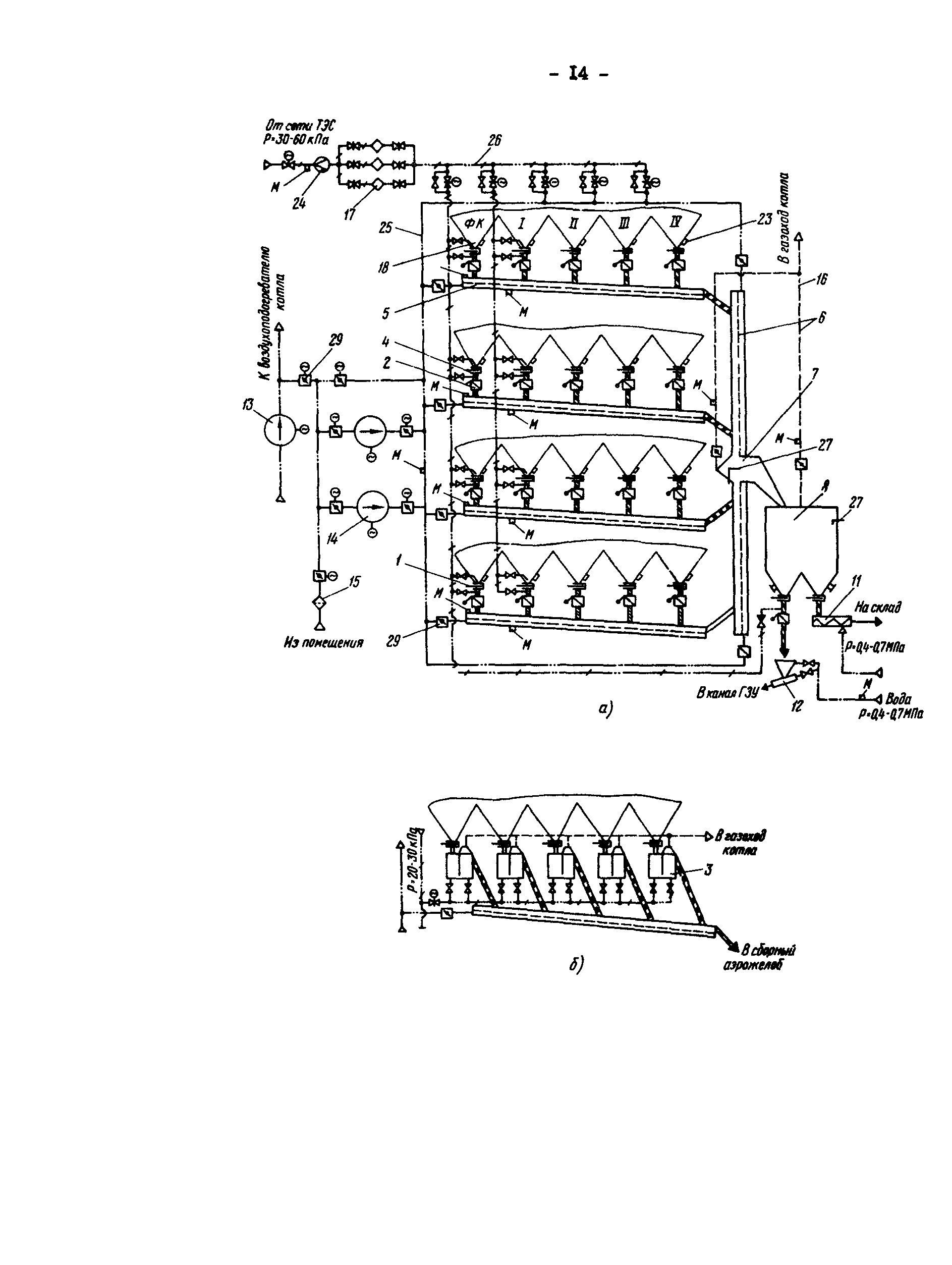
| Область применения: | Методические указания устанавливают единые правила проведения пусконаладочных работ и испытаний систем ПЗУА, (объем и последовательность их проведения). |
| Оглавление: | 1 Общие положения 2 Пусконаладочные работы 3 Испытание системы ПЗУА Приложение 1 Объем оснащения системы ПЗУА средствами измерения и автоматики Приложение 2 Данные для поверочного аэродинамического расчета системы ПЗУА Приложение 3 Расходные характеристики золосмесителей Приложение 4 Зависимости пропускной способности клапанов-мигалок от хода регулировочного болта |
| Разработан: | Уралтехэнерго |
| Утверждён: | 05.06.1987 Минэнерго СССР (USSR Minenergo ) |
| Издан: | СПО Союзтехэнерго (1989 г. ) |
| Расположен в: | |
| Нормативные ссылки: |
|















































































