| ||||||||||||||||||||||||||||||||||||
Скачать РД 34.27.105-90 Методические указания по расчету и эксплуатации аппаратов водяной обдувки поверхностей нагрева паровых котловДата актуализации: 10.08.2017
|
| Обозначение: | РД 34.27.105-90 |
| Обозначение англ: | RD 34.27.105-90 |
| Статус: | действует |
| Название рус.: | Методические указания по расчету и эксплуатации аппаратов водяной обдувки поверхностей нагрева паровых котлов |
| Название англ.: | Procedural Guidelines for Calculation and Operation of Apparatus for Water Blasting of Heating Surface of Steam Boilers |
| Дата добавления в базу: | 01.09.2013 |
| Дата актуализации: | 05.05.2017 |
| Дата введения: | 01.07.1991 |
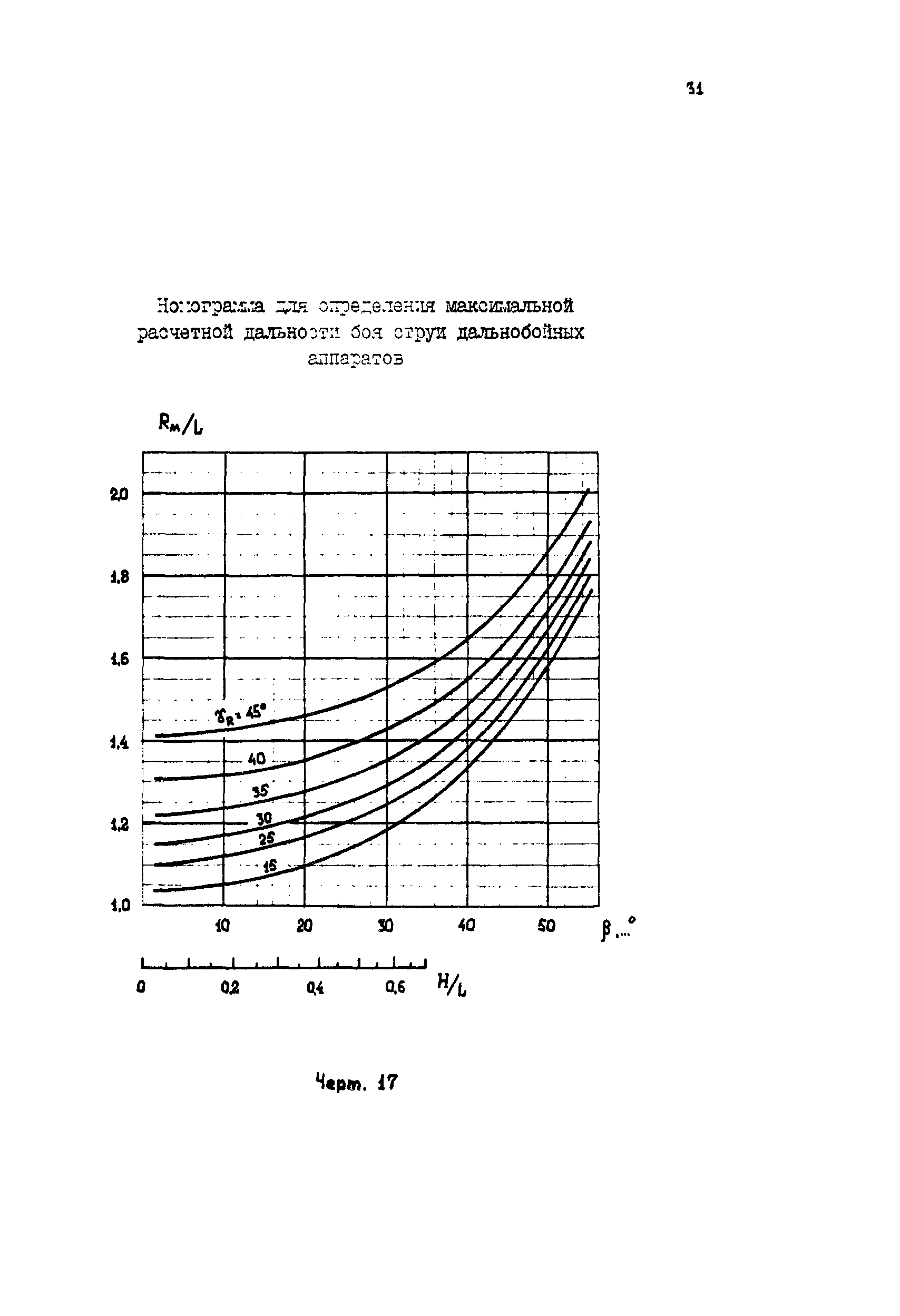
| Область применения: | Методические указания распространяются на аппараты водяной обдувки, предназначенные для профилактической очистки поверхностей нагрева на работающих паровых котлах, сжигающих топливо, и устанавливают технические требования к аппаратам, методы расчета и выбора схем установки, требования к режимам обдувки, наладке и эксплуатации. |
| Оглавление: | 1 Условные обозначения 2 Общие положения 3 Типы, параметры и область применения аппаратов 4 Схема подвода воды к аппаратам 5 Схемы установки и расчет зон очистки аппаратов 6 Наладка и эксплуатация аппаратов 7 Контроль за состоянием металла очищаемых поверхностей нагрева Приложение 1 Технические требования к аппаратам водяной обдувки Приложение 2 Описание и технические характеристики аппаратов водяной обдувки |
| Разработан: | Завод Котлоочистка Всесоюзный дважды ордена Трудового Красного Знамени теплотехнический научно-исследовательский институт им. Ф.Э. Дзержинского |
| Утверждён: | 29.11.1990 Минэнерго СССР (USSR Minenergo ) |
| Издан: | ВТИ (1990 г. ) |
| Расположен в: | |
| Заменяет собой: |
|
| Нормативные ссылки: |


































































