Информационная система
«Ёшкин Кот»

Скачать базу одним архивом
Скачать обновления
История создания базы
Карта сайта

Скачать ГОСТ Р ИСО/МЭК 8831-99 Информационная технология. Взаимосвязь открытых систем. Концепции и услуги передачи и обработки заданий

Дата актуализации: 10.08.2017

ГОСТ Р ИСО/МЭК 8831-99

Информационная технология. Взаимосвязь открытых систем. Концепции и услуги передачи и обработки заданий

Обозначение: ГОСТ Р ИСО/МЭК 8831-99
Обозначение англ: GOST R ISO/IEC 8831-99
Статус:действует
Название рус.:Информационная технология. Взаимосвязь открытых систем. Концепции и услуги передачи и обработки заданий
Название англ.:Information technology. Open systems interconnection. Job transfer and manipulation concepts and services
Дата добавления в базу:01.09.2013
Дата актуализации:05.05.2017
Дата введения:01.01.2000
Оглавление:Предисловие
Раздел 1. Общее описание
   1.1 Назначение
   1.2 Нормативные ссылки
   1.3 Определения
      1.3.1 Определения услуг СПВ
      1.3.2 Определения услуг ПОЗ
   1.4 Сокращения
   1.5 Соглашения
Раздел 2. Обзор
   2.1 Обзор и общее описание
      2.1.1 Обзор
      2.1.2 Содержимое спецификации работы
      2.1.3 Проформы и порождение
      2.1.4 Исходные, принимающие и исполняющие агентства
      2.1.5 Задания ВОС
      2.1.6 Обработка спецификаций работы
      2.1.7 Отчетность и функция монитора
      2.1.8 Исполнение, совмещение и восстановление
      2.1.9 Управление передачами
      2.1.10 Управление отчетами
      2.1.11 Выполнение работы
      2.1.12 Управление передачами
      2.1.13 Полномочия и учет
      2.1.14 Идентификация спецификаций работы
      2.1.15 Ответственность службы отчетности
      2.1.16 Документы
      2.1.17 Промежуточные системы ПОЗ
   2.2 Обзор службы
   2.3 Базовые и расширенные реализующие системы
   2.4 Модель спецификации услуг
Раздел 3. Определение примитивов
   3.1 Сервисные примитивы ПОЗ
      3.1.1 Группы сервисных примитивов
      3.1.2 Компоненты групп сервисных примитивов
      3.1.3 Параметры примитивов, относящихся к СИВ
      3.1.4 Последовательность групп сервисных примитивов
      3.1.5 Последовательность сервисных примитивов
   3.2 Нотация для сервисных примитивов и определение структуры данных
      3.2.1 Базовые типы данных
      3.2.2 Механизмы структурирования
      3.2.3 Определение базовых типов данных
   3.3 События ПОЗ и параметры отчетов
      3.3.1 Категории событий
      3.3.2 Отчеты
      3.3.3 Параметр «диагностическая информация»
   3.4 Поля концептуальных структур данных
      3.4.1 Спецификации работы
      3.4.2 Параметры задания ВОС
      3.4.3 Параметры подзадания ВОС
      3.4.4 Параметры действия ПОЗ
      3.4.5 Проформы
      3.4.6 Списки заголовков
      3.4.7 Записи управления передачей
   3.5 Документы ПОЗ
      3.5.1 Документ «отображение-отчета» ПОЗ
      3.5.2 Документ «отображение-работы» ПОЗ
      3.5.3 Документ «отображение-ЗУП» ПОЗ
   3.6 Параметры сервисных примитивов ПОЗ
      3.6.1 Примитивы запроса и подтверждения J-INITIATE
      3.6.2 Сервисные примитивы J-DISPOSE
      3.6.3 Сервисные примитивы J-GIVE
      3.6.4 Примитивы индикации и ответа J-ENQUIRE
      3.6.5 Примитив запроса J-MESSAGE
      3.6.6 Примитив запроса J-SPAWN
      3.6.7 Примитив запроса J-END-SIGNAL
      3.6.8 Примитивы индикации и ответа J-STATUS
      3.6.9 Примитивы индикации J-HOLD, J-RELEASE, J-KILL, J-STOP
      3.6.10 Краткое описание
Раздел 4. Базовый класс
   4.1 Группы примитивов и типы документов для базового класса
      4.1.1 Группы сервисных примитивов
      4.1.2 Типы документов
   4.2 Концептуальные структуры данных для базового класса
      4.2.1 Отчеты
      4.2.2 Спецификации работы
      4.2.3 Операции перемещения документов
      4.2.4 Операции выполнения работы
      4.2.5 Операции перемещения отчетов
      4.2.6 Проформы
      4.2.7 Прозрачность проформ
      4.2.8 Записи управления передачей
      4.2.9 Документы ПОЗ
   4.3 Параметры группы примитивов J-INITIATE для базового класса
      4.3.1 Параметры верхнего уровня
      4.3.2 Параметры задания ВОС
      4.3.3 Параметры подзадания ВОС
      4.3.4 Параметры действия ПОЗ
      4.3.5 Проформы
      4.3.6 Краткое описание информации, содержащейся в примитиве запроса J-INITIATE базового класса
   4.4 Другие группы примитивов в базовом классе
      4.4.1 Примитив J-DISPOSE
      4.4.2 Примитив J-GIVE
      4.4.3 Другие группы примитивов
   4.5 Сводный перечень примитивов и параметров базового класса
Приложение А. Соглашения по услугам ПОЗ
   А.1 Введение
   А.2 Назначение
   А.3 Ссылки
   А.4 Определения
   А.5 Модель ПОЗ
   А.6 Сервисные примитивы
   А.7 Временные диаграммы
   А.8 Соглашения по наименованиям сервисных примитивов
Приложение В. Регистры типов документов
   В.1 Введение
   В.2 Назначение элемента
   В.3 Идентификация
   В.4 Семантика документов
   В.5 Синтаксис передачи
   В.6 Взаимоотношения синтаксиса и семантики
   В.7 Синтаксические соглашения
   В.8 Содержимое регистра
Приложение С. Консультативный материал
   С.1 Введение
   С.2 Архитектура
   С.3 Служба отчетности
   С.4 Обработка
   С.5 Примитивы J-INITIATE
   С.6 Присвоение имен
   С.7 Аутентификация
   С.8 Терминология ПОЗ
   С.9 Параметры заданий ВОС
   С.10 Идентификация систем административного управления
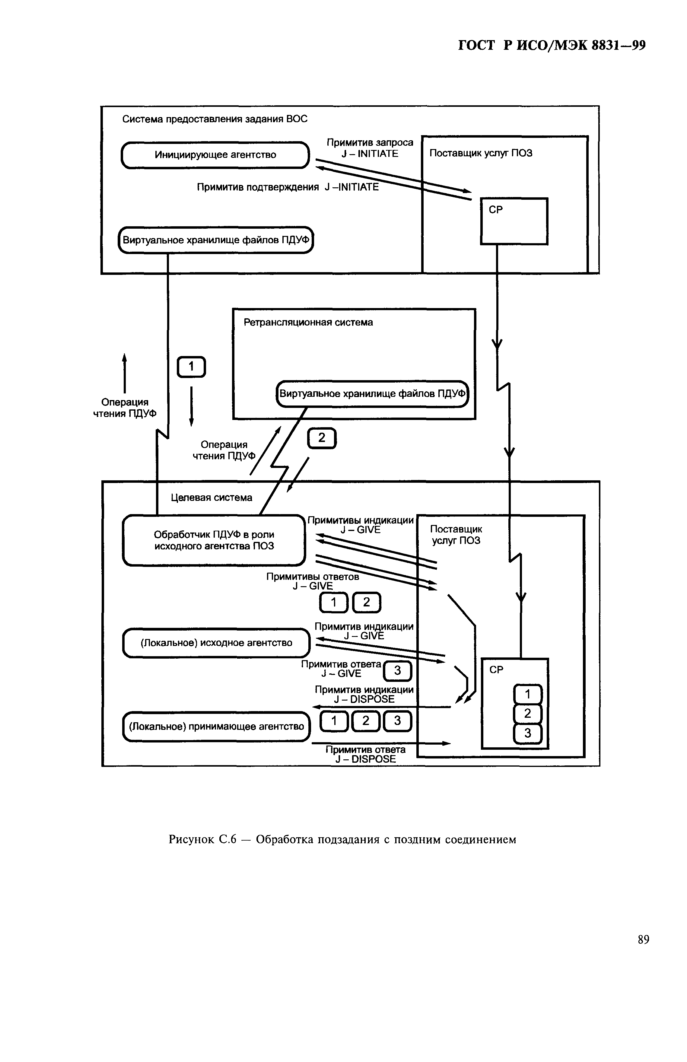
   С.11 Активность ПОЗ (подзадания)
   С.12 Действия при ошибках
   С.13 Документы
   С.14 Ретрансляционные системы ПОЗ
   С.15 Протоколы доступа к агентству
   С.16 Временные соотношения между сервисными примитивами
   С.17 Подмножества и соответствие
   С.18 Взаимодействие базовых и расширенных реализаций
   С.19 Протокол ПОЗ
   С.20 Примеры механизма назначения полномочий
Приложение D. Словарь терминов
Утверждён:25.03.1999 Госстандарт России (Russian Federation Gosstandart 95)
Расположен в:Техническая документация Электроэнергия ИНФОРМАЦИОННЫЕ ТЕХНОЛОГИИ. МАШИНЫ КОНТОРСКИЕ Взаимосвязь открытых систем Прикладной уровень Экология ИНФОРМАЦИОННЫЕ ТЕХНОЛОГИИ. МАШИНЫ КОНТОРСКИЕ Взаимосвязь открытых систем Прикладной уровень
Заменяет собой:
ГОСТ Р ИСО/МЭК 8831-99ГОСТ Р ИСО/МЭК 8831-99ГОСТ Р ИСО/МЭК 8831-99ГОСТ Р ИСО/МЭК 8831-99ГОСТ Р ИСО/МЭК 8831-99ГОСТ Р ИСО/МЭК 8831-99ГОСТ Р ИСО/МЭК 8831-99ГОСТ Р ИСО/МЭК 8831-99ГОСТ Р ИСО/МЭК 8831-99ГОСТ Р ИСО/МЭК 8831-99ГОСТ Р ИСО/МЭК 8831-99ГОСТ Р ИСО/МЭК 8831-99ГОСТ Р ИСО/МЭК 8831-99ГОСТ Р ИСО/МЭК 8831-99ГОСТ Р ИСО/МЭК 8831-99ГОСТ Р ИСО/МЭК 8831-99ГОСТ Р ИСО/МЭК 8831-99ГОСТ Р ИСО/МЭК 8831-99ГОСТ Р ИСО/МЭК 8831-99ГОСТ Р ИСО/МЭК 8831-99ГОСТ Р ИСО/МЭК 8831-99ГОСТ Р ИСО/МЭК 8831-99ГОСТ Р ИСО/МЭК 8831-99ГОСТ Р ИСО/МЭК 8831-99ГОСТ Р ИСО/МЭК 8831-99ГОСТ Р ИСО/МЭК 8831-99ГОСТ Р ИСО/МЭК 8831-99ГОСТ Р ИСО/МЭК 8831-99ГОСТ Р ИСО/МЭК 8831-99ГОСТ Р ИСО/МЭК 8831-99ГОСТ Р ИСО/МЭК 8831-99ГОСТ Р ИСО/МЭК 8831-99ГОСТ Р ИСО/МЭК 8831-99ГОСТ Р ИСО/МЭК 8831-99ГОСТ Р ИСО/МЭК 8831-99ГОСТ Р ИСО/МЭК 8831-99ГОСТ Р ИСО/МЭК 8831-99ГОСТ Р ИСО/МЭК 8831-99ГОСТ Р ИСО/МЭК 8831-99ГОСТ Р ИСО/МЭК 8831-99ГОСТ Р ИСО/МЭК 8831-99ГОСТ Р ИСО/МЭК 8831-99ГОСТ Р ИСО/МЭК 8831-99ГОСТ Р ИСО/МЭК 8831-99ГОСТ Р ИСО/МЭК 8831-99ГОСТ Р ИСО/МЭК 8831-99ГОСТ Р ИСО/МЭК 8831-99ГОСТ Р ИСО/МЭК 8831-99ГОСТ Р ИСО/МЭК 8831-99ГОСТ Р ИСО/МЭК 8831-99ГОСТ Р ИСО/МЭК 8831-99ГОСТ Р ИСО/МЭК 8831-99ГОСТ Р ИСО/МЭК 8831-99ГОСТ Р ИСО/МЭК 8831-99ГОСТ Р ИСО/МЭК 8831-99ГОСТ Р ИСО/МЭК 8831-99ГОСТ Р ИСО/МЭК 8831-99ГОСТ Р ИСО/МЭК 8831-99ГОСТ Р ИСО/МЭК 8831-99ГОСТ Р ИСО/МЭК 8831-99ГОСТ Р ИСО/МЭК 8831-99ГОСТ Р ИСО/МЭК 8831-99ГОСТ Р ИСО/МЭК 8831-99ГОСТ Р ИСО/МЭК 8831-99ГОСТ Р ИСО/МЭК 8831-99ГОСТ Р ИСО/МЭК 8831-99ГОСТ Р ИСО/МЭК 8831-99ГОСТ Р ИСО/МЭК 8831-99ГОСТ Р ИСО/МЭК 8831-99ГОСТ Р ИСО/МЭК 8831-99ГОСТ Р ИСО/МЭК 8831-99ГОСТ Р ИСО/МЭК 8831-99ГОСТ Р ИСО/МЭК 8831-99ГОСТ Р ИСО/МЭК 8831-99ГОСТ Р ИСО/МЭК 8831-99ГОСТ Р ИСО/МЭК 8831-99ГОСТ Р ИСО/МЭК 8831-99ГОСТ Р ИСО/МЭК 8831-99ГОСТ Р ИСО/МЭК 8831-99ГОСТ Р ИСО/МЭК 8831-99ГОСТ Р ИСО/МЭК 8831-99ГОСТ Р ИСО/МЭК 8831-99ГОСТ Р ИСО/МЭК 8831-99ГОСТ Р ИСО/МЭК 8831-99ГОСТ Р ИСО/МЭК 8831-99ГОСТ Р ИСО/МЭК 8831-99ГОСТ Р ИСО/МЭК 8831-99ГОСТ Р ИСО/МЭК 8831-99ГОСТ Р ИСО/МЭК 8831-99ГОСТ Р ИСО/МЭК 8831-99ГОСТ Р ИСО/МЭК 8831-99ГОСТ Р ИСО/МЭК 8831-99ГОСТ Р ИСО/МЭК 8831-99ГОСТ Р ИСО/МЭК 8831-99ГОСТ Р ИСО/МЭК 8831-99ГОСТ Р ИСО/МЭК 8831-99ГОСТ Р ИСО/МЭК 8831-99ГОСТ Р ИСО/МЭК 8831-99ГОСТ Р ИСО/МЭК 8831-99ГОСТ Р ИСО/МЭК 8831-99ГОСТ Р ИСО/МЭК 8831-99ГОСТ Р ИСО/МЭК 8831-99ГОСТ Р ИСО/МЭК 8831-99ГОСТ Р ИСО/МЭК 8831-99ГОСТ Р ИСО/МЭК 8831-99

© 2013 Ёшкин Кот :-) Карта сайта