Информационная система
«Ёшкин Кот»

Скачать базу одним архивом
Скачать обновления
История создания базы
Карта сайта

Скачать ГОСТ Р 50434-92 Устройства числового программного управления для металлообрабатывающего оборудования. Производственный канал асинхронной передачи данных и физический уровень. Полудуплексная передача данных

Дата актуализации: 10.08.2017

ГОСТ Р 50434-92

Устройства числового программного управления для металлообрабатывающего оборудования. Производственный канал асинхронной передачи данных и физический уровень. Полудуплексная передача данных

Обозначение: ГОСТ Р 50434-92
Обозначение англ: GOST R 50434-92
Статус:введен впервые
Название рус.:Устройства числового программного управления для металлообрабатывающего оборудования. Производственный канал асинхронной передачи данных и физический уровень. Полудуплексная передача данных
Название англ.:Industrial asynchronous date link and physical layer. Physical interconnection and two-way alternate communication
Дата добавления в базу:01.09.2013
Дата актуализации:05.05.2017
Дата введения:01.07.1994
Область применения:Стандарт описывает физические интерфейсы и протоколы связи при соединении "точка-точка" между программируемыми устройствами, такими как : станки с ЧПУ, промышленные роботы, программируемые контроллеры, измерительное или другое оборудование автоматизированного производства, - с ЭВМ верхнего ранга. Применяемый протокол связи гарантирует надежную передачу данных. Данные передаются последовательно по битам в асинхронном режиме.
Оглавление:0 Введение и назначение
1 Ссылки
2 Определения и аббревиатуры передаваемых управляющих символов
3 Скорость передачи данных
4 Физический уровень (Уровень 1)
5 Уровень звена данных (Уровень 2 )
Приложение А (информационное) Значения выдержек времени таймеров
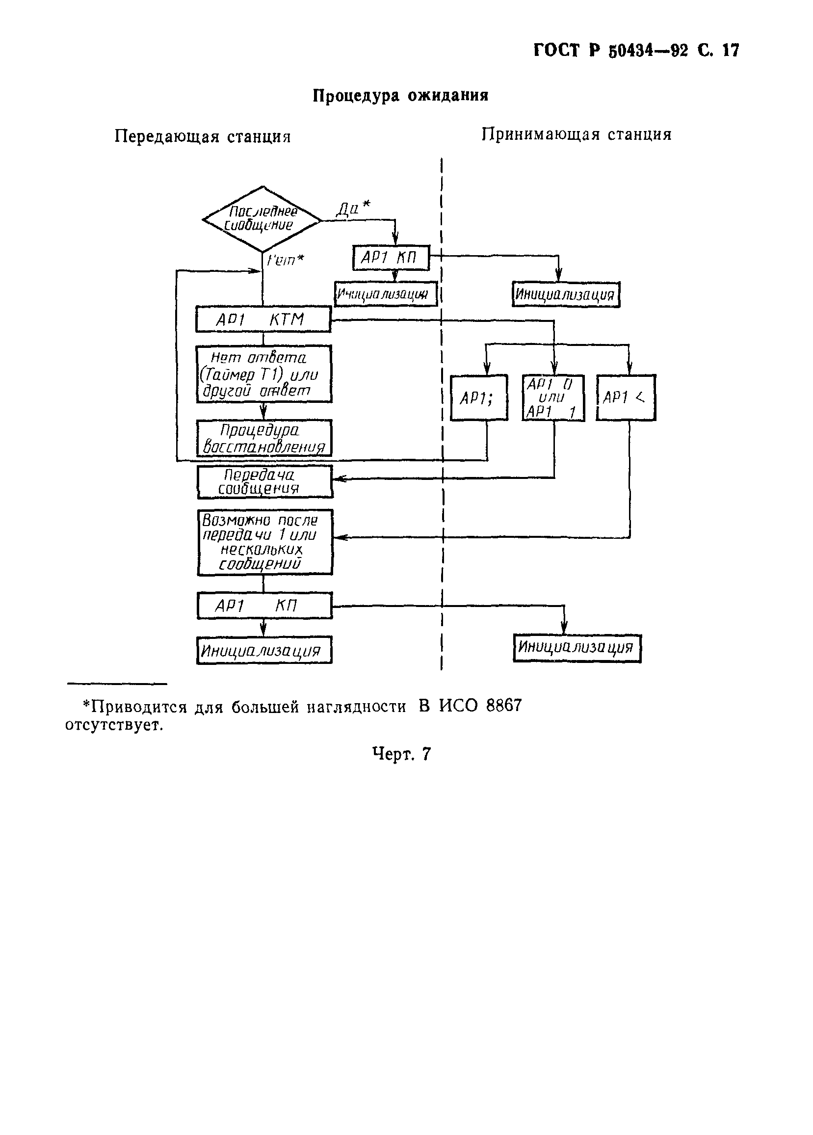
Приложение В (информационное) Диаграммы процедур управления каналом связи
Приложение С (информационное)
Приложение D (информационное)
Разработан: ТК 69 Системы промышленной автоматизации и интеграции
Утверждён:16.12.1992 Госстандарт России (Russian Federation Gosstandart 1543)
Издан: Издательство стандартов (1993 г. )
Расположен в:Техническая документация Электроэнергия МАШИНОСТРОЕНИЕ Промышленные автоматизированные системы Станки с числовым программным управлением Экология МАШИНОСТРОЕНИЕ Промышленные автоматизированные системы Станки с числовым программным управлением
Нормативные ссылки:
ГОСТ Р 50434-92ГОСТ Р 50434-92ГОСТ Р 50434-92ГОСТ Р 50434-92ГОСТ Р 50434-92ГОСТ Р 50434-92ГОСТ Р 50434-92ГОСТ Р 50434-92ГОСТ Р 50434-92ГОСТ Р 50434-92ГОСТ Р 50434-92ГОСТ Р 50434-92ГОСТ Р 50434-92ГОСТ Р 50434-92ГОСТ Р 50434-92ГОСТ Р 50434-92ГОСТ Р 50434-92ГОСТ Р 50434-92ГОСТ Р 50434-92ГОСТ Р 50434-92ГОСТ Р 50434-92ГОСТ Р 50434-92ГОСТ Р 50434-92

© 2013 Ёшкин Кот :-) Карта сайта