| ||||||||||||||||||||||||||||||||||
Скачать ГОСТ Р 41.13-99 Единообразные предписания, касающиеся официального утверждения транспортных средств категорий M, N и O в отношении торможенияДата актуализации: 10.08.2017
|
| Обозначение: | ГОСТ Р 41.13-99 |
| Обозначение англ: | GOST R 41.13-99 |
| Статус: | заменен |
| Название рус.: | Единообразные предписания, касающиеся официального утверждения транспортных средств категорий M, N и O в отношении торможения |
| Название англ.: | Uniform provisions concerning the approval of vehicles of categories M, N and O with regard to braking |
| Дата добавления в базу: | 01.09.2013 |
| Дата актуализации: | 05.05.2017 |
| Дата введения: | 01.01.2009 |
| Область применения: | Стандарт вводит в дествие Правила ЕЭК ООН № 13. Правила применяются к торможению отдельных механических транспортных средств и отдельных прицепов, относящихся к категориям М, N, и О. |
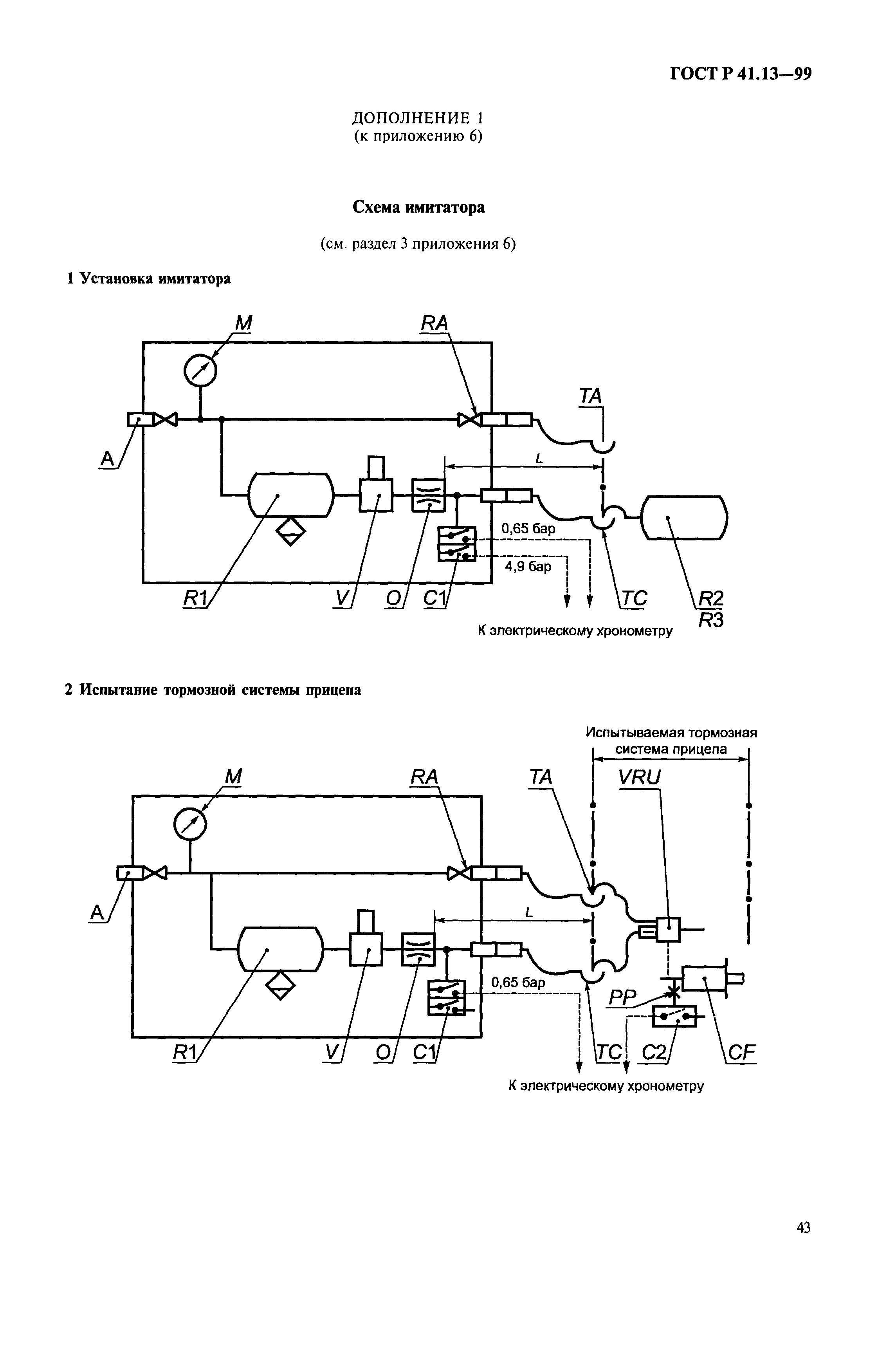
| Оглавление: | 1 Область применения 2 Определения 3 Заявка на официальное утверждение 4 Официальное утверждение 5 Спецификация 6 Испытания 7 Изменение типа транспортного средства или его тормозной системы и распространение официального утверждения 8 Соответствие производства 9 Санкции. налагаемые за несоответствие производства 10 Окончательное прекращение производства 11 Наименования и адреса технических служб, уполномоченных производить испытания для официального утверждения, и административных органов 12 Переходные положения Приложение 1 Системы, методы и условия торможения, на которые настоящие Правила не распространяются Приложение 2 Сообщение, касающееся официального утверждения, распространения официального утверждения, отказа в официальном утверждении, отмены официального утверждения или окончательного прекращения производства типа транспортного средства в отношении торможения на основании Правил ЕЭК ООН № 13. Дополнение 1 Перечень данных о транспортном средстве для официальных утверждений на основании ПРАВИЛ ЕЭК ООН № 90 Приложение 3 Схемы знаков официального утверждения Приложение 4 Испытания и характеристики тормозных систем Приложение 5 Дополнительные положения, применимые к транспортным средствам, на которые распространяется маргинальный номер 10221 приложения В к ДОПОГ Приложение 6 Метод измерения времени срабатывания для транспортных средств, оборудованных пневматическими тормозными системами. Дополнение 1 Схема имитатора Приложение 7 Требования к источникам и резервуарам энергии (аккумуляторам энергии) Приложение 8 Требования, касающиеся специфических условий для пружинных тормозов Приложение 9 Требования к системам стояночного тормоза с механической блокировкой тормозных цилиндров (стопорные тормоза) Приложение 10 Распределение торможения между осями транспортных средств и условия совместимости транспортного средства-тягача и прицепа Приложение 11 Случаи, в которых испытания типа I и/или II (или II А), или типа III не проводятся Дополнение 1 Таблицы I, II и III Дополнение 2 Альтернативные процедуры проведения испытаний типа I и типа III тормозов, установленных на прицепах Дополнение 3 Образец бланка протокола испытаний, предписанного в 3.6 дополнения 2 Приложение 12 Условия контроля транспортных средств, оборудованных инерционными тормозами Дополнение 1 IРисунки 1-8 Дополнение 2 Протокол испытания устройства управления инерционного тормоза Дополнение 3 Протокол испытания тормоза Дополнение 4 Протокол испытания совместимости устройства управления инерционного тормоза, приводного устройства и тормозов прицепа Приложение 13 Требования к испытаниям тормозных систем, оборудованных антиблокировочными устройствами Дополнение 1 Обозначения и определения Дополнение 2 Использование силы сцепления Дополнение 3 Характеристики покрытий с различным сцеплением Дополнение 4 Способ выбора поверхности с низким коэффициентом сцепления Приложение 14 Условия испытаний для прицепов с электрическими тормозными системами Дополнение 1 Соотношение между коэффициентом торможения прицепа и средним устойчивым замедлением состава, состоящего из транспортного средства-тягача и прицепа (груженый и порожний прицеп) Приложение 15 Методы испытаний тормозных накладок на инерционном динамометрическом стенде |
| Разработан: | ВНИИНМАШ |
| Утверждён: | 26.05.1999 Госстандарт России (Russian Federation Gosstandart 184) |
| Издан: | ИПК Издательство стандартов (2000 г. ) |
| Расположен в: | |
| Чем заменён: |



















































































































