Информационная система
«Ёшкин Кот»

Скачать базу одним архивом
Скачать обновления
История создания базы
Карта сайта

Скачать ГОСТ 9208-85 Одежда форменная. Шинели однобортные для военнослужащих. Технические условия

Дата актуализации: 10.08.2017

ГОСТ 9208-85

Одежда форменная. Шинели однобортные для военнослужащих. Технические условия

Обозначение: ГОСТ 9208-85
Обозначение англ: GOST 9208-85
Статус:действует
Название рус.:Одежда форменная. Шинели однобортные для военнослужащих. Технические условия
Название англ.:Uniform. Woven cloth single-breasted greatcoats for servicemen. Specifications
Дата добавления в базу:01.09.2013
Дата актуализации:05.05.2017
Дата введения:01.01.1987
Оглавление:1. Типы и основные размеры
2. Технические требования
3. Правила приемки и методы контроля качества
4. Маркировка, упаковка, транспортировка и хранение
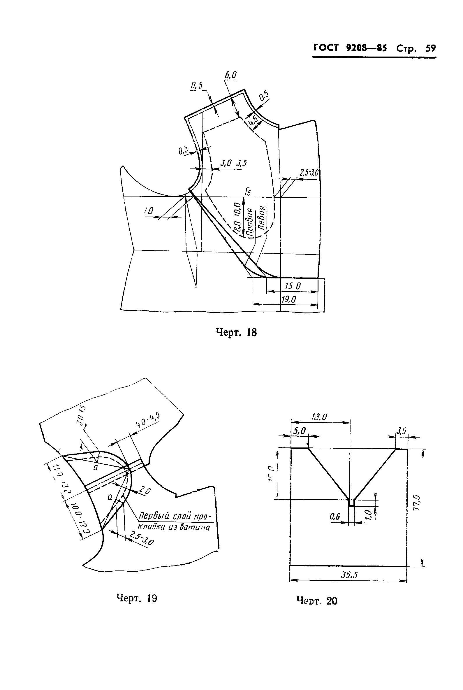
Приложение 1. Спецификация деталей шинели
Приложение 2. Пособие для построения чертежей лекал деталей шинели
Приложение 3. Особенности обработки шинелей
Утверждён:22.03.1985 Госстандарт СССР (USSR Gosstandart 693)
Расположен в:Техническая документация Электроэнергия ШВЕЙНАЯ ПРОМЫШЛЕННОСТЬ Одежда Экология ШВЕЙНАЯ ПРОМЫШЛЕННОСТЬ Одежда
Заменяет собой:
  • ГОСТ 9208-72 «Шинели суконные однобортные. Размеры и технические требования»
  • ГОСТ 23019-78 «Одежда форменная для солдат СА. Нормы припусков при конструировании изделий»
  • ГОСТ 23507-79 «Одежда форменная для матросов и старшин ВМФ. Нормы припусков при конструировании изделий»
ГОСТ 9208-85ГОСТ 9208-85ГОСТ 9208-85ГОСТ 9208-85ГОСТ 9208-85ГОСТ 9208-85ГОСТ 9208-85ГОСТ 9208-85ГОСТ 9208-85ГОСТ 9208-85ГОСТ 9208-85ГОСТ 9208-85ГОСТ 9208-85ГОСТ 9208-85ГОСТ 9208-85ГОСТ 9208-85ГОСТ 9208-85ГОСТ 9208-85ГОСТ 9208-85ГОСТ 9208-85ГОСТ 9208-85ГОСТ 9208-85ГОСТ 9208-85ГОСТ 9208-85ГОСТ 9208-85ГОСТ 9208-85ГОСТ 9208-85ГОСТ 9208-85ГОСТ 9208-85ГОСТ 9208-85ГОСТ 9208-85ГОСТ 9208-85ГОСТ 9208-85ГОСТ 9208-85ГОСТ 9208-85ГОСТ 9208-85ГОСТ 9208-85ГОСТ 9208-85ГОСТ 9208-85ГОСТ 9208-85ГОСТ 9208-85ГОСТ 9208-85ГОСТ 9208-85ГОСТ 9208-85ГОСТ 9208-85ГОСТ 9208-85ГОСТ 9208-85ГОСТ 9208-85ГОСТ 9208-85ГОСТ 9208-85ГОСТ 9208-85ГОСТ 9208-85ГОСТ 9208-85ГОСТ 9208-85ГОСТ 9208-85ГОСТ 9208-85ГОСТ 9208-85ГОСТ 9208-85ГОСТ 9208-85ГОСТ 9208-85ГОСТ 9208-85ГОСТ 9208-85ГОСТ 9208-85ГОСТ 9208-85ГОСТ 9208-85ГОСТ 9208-85ГОСТ 9208-85ГОСТ 9208-85ГОСТ 9208-85

© 2013 Ёшкин Кот :-) Карта сайта