Информационная система
«Ёшкин Кот»

Скачать базу одним архивом
Скачать обновления
История создания базы
Карта сайта

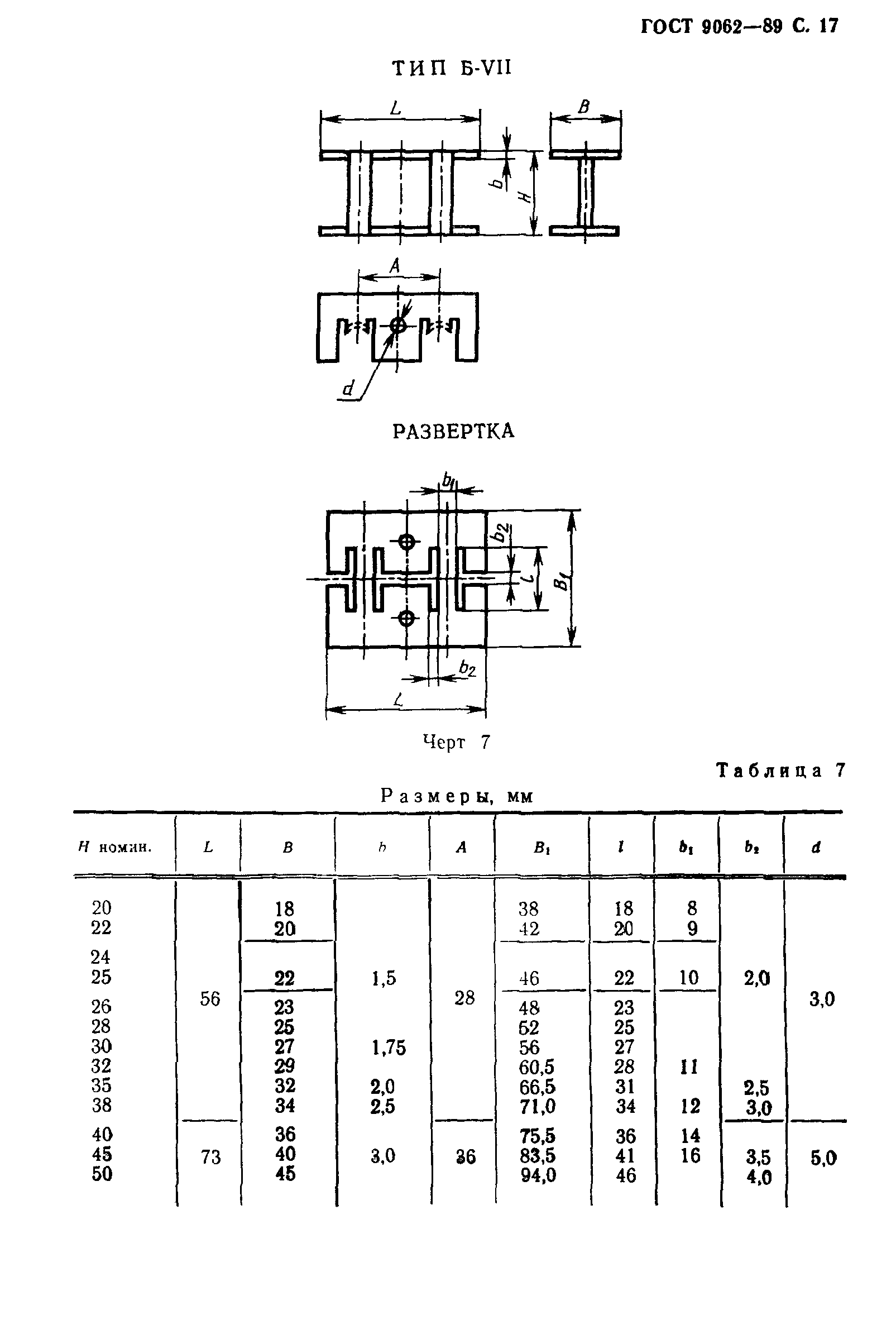
Скачать ГОСТ 9062-89 Жеребейки для чугунных и стальных отливок. Общие технические условия

Дата актуализации: 10.08.2017

ГОСТ 9062-89

Жеребейки для чугунных и стальных отливок. Общие технические условия

Обозначение: ГОСТ 9062-89
Обозначение англ: GOST 9062-89
Статус:действует
Название рус.:Жеребейки для чугунных и стальных отливок. Общие технические условия
Название англ.:Chaplets for iran and steel. General specifications
Дата добавления в базу:01.09.2013
Дата актуализации:05.05.2017
Дата введения:01.01.1991
Оглавление:1. Типы и основные размеры
2. Технические требования
3. Маркировка, упаковка и хранение
4. Гарантии изготовителя
Утверждён:18.12.1989 Госстандарт СССР (USSR Gosstandart 3768)
Расположен в:Техническая документация Электроэнергия МАШИНОСТРОЕНИЕ Оборудование для бесстружечной обработки Оборудование для литья Экология МАШИНОСТРОЕНИЕ Оборудование для бесстружечной обработки Оборудование для литья
ГОСТ 9062-89ГОСТ 9062-89ГОСТ 9062-89ГОСТ 9062-89ГОСТ 9062-89ГОСТ 9062-89ГОСТ 9062-89ГОСТ 9062-89ГОСТ 9062-89ГОСТ 9062-89ГОСТ 9062-89ГОСТ 9062-89ГОСТ 9062-89ГОСТ 9062-89ГОСТ 9062-89ГОСТ 9062-89ГОСТ 9062-89ГОСТ 9062-89ГОСТ 9062-89ГОСТ 9062-89ГОСТ 9062-89ГОСТ 9062-89ГОСТ 9062-89ГОСТ 9062-89ГОСТ 9062-89ГОСТ 9062-89

© 2013 Ёшкин Кот :-) Карта сайта