Скачать ГОСТ 8519-93 Топливопроводы высокого давления дизелей и их соединения. Общие технические условияДата актуализации: 10.08.2017 ГОСТ 8519-93
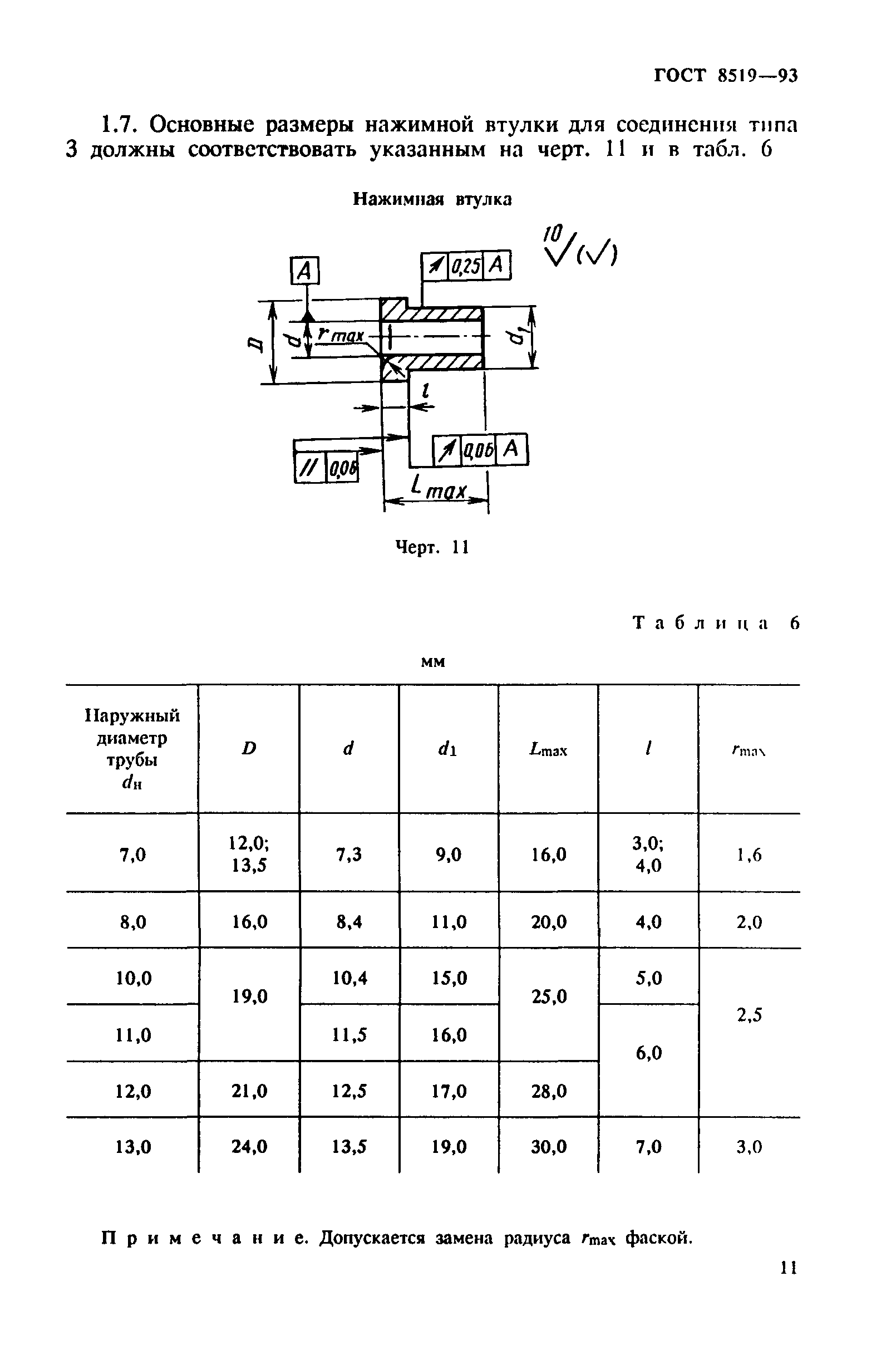
Топливопроводы высокого давления дизелей и их соединения. Общие технические условия| Обозначение: | ГОСТ 8519-93 | | Обозначение англ: | GOST 8519-93 | | Статус: | взамен | | Название рус.: | Топливопроводы высокого давления дизелей и их соединения. Общие технические условия | | Название англ.: | Diesel high-pressure fuel lines and connections. General specifications | | Дата добавления в базу: | 01.09.2013 | | Дата актуализации: | 05.05.2017 | | Дата введения: | 01.01.1995 | | Область применения: | Стандарт распространяется на топливопроводы высокого давления наружным диаметром не более 13 мм и внутренним диаметром не более 5 мм и их соединения с конусообразной уплотняющей поверхностью для дизелей всех назначений.
Стандарт не распространяется на топливопроводы и их соединения для судовых дизелей, поднадзорных Регистру и требующих внешней противопожарной защиты. | | Оглавление: | 1. Типы, основные параметры и размеры 2. Технические требования 3. Методы испытаний 4. Транспортирование и хранение 5. Гарантии изготовителя | | Разработан: | Госстандарт России
| | Утверждён: | 02.06.1994 Комитет РФ по стандартизации, метрологии и сертификации (Russian Federation Committee on Standardization, Metrology and Certification 160) 21.10.1993 Межгосударственный Совет по стандартизации, метрологии и сертификации (Inter-Governmental Council on Standardization, Metrology, and Certification )
| | Издан: | Издательство стандартов (1995 г. )
| | Расположен в: |
| | Заменяет собой: | | | Нормативные ссылки: |   ГОСТ 1050-88 «Прокат сортовой, калиброванный, со специальной отделкой поверхности из углеродистой качественной конструкционной стали. Общие технические условия»  ГОСТ 11017-80 «Трубы стальные бесшовные высокого давления. Технические условия»  ГОСТ 15150-69 «Машины, приборы и другие технические изделия. Исполнения для различных климатических районов. Категории, условия эксплуатации, хранения и транспортирования в части воздействия климатических факторов внешней среды»  ГОСТ 9.303-84 «Единая система защиты от коррозии и старения. Покрытия металлические и неметаллические неорганические. Общие требования к выбору»  ГОСТ 23170-78 «Упаковка для изделий машиностроения. Общие требования»  ГОСТ 9.014-78 «Единая система защиты от коррозии и старения. Временная противокоррозионная защита изделий. Общие требования»  ГОСТ 15846-79 «Продукция, отправляемая в районы Крайнего Севера и труднодоступные районы. Упаковка, маркировка, транспортирование и хранение»  ГОСТ 24705-81 «Основные нормы взаимозаменяемости. Резьба метрическая. Основные размеры»  ГОСТ 2789-73 «Шероховатость поверхности. Параметры и характеристики»  ГОСТ 16093-81 «Основные нормы взаимозаменяемости. Резьба метрическая. Допуски. Посадки с зазором»  ГОСТ 305-82 «Топливо дизельное. Технические условия»  ГОСТ 10549-80 «Выход резьбы. Сбеги, недорезы, проточки и фаски» ГОСТ 14192-77 «Маркировка грузов» ГОСТ 6572-91 «Покрытия лакокрасочные тракторов и сельскохозяйственных машин. Общие технические требования»
|
                  
|