Информационная система
«Ёшкин Кот»

Скачать базу одним архивом
Скачать обновления
История создания базы
Карта сайта

Скачать ГОСТ 8106-70 Лампы электронные маломощные. Методы испытаний на внутриламповые замыкания и обрывы

Дата актуализации: 10.08.2017

ГОСТ 8106-70

Лампы электронные маломощные. Методы испытаний на внутриламповые замыкания и обрывы

Обозначение: ГОСТ 8106-70
Обозначение англ: GOST 8106-70
Статус:взамен
Название рус.:Лампы электронные маломощные. Методы испытаний на внутриламповые замыкания и обрывы
Название англ.:Low-power vacuum valves. Methods of internal shorts and breaks tests
Дата добавления в базу:01.09.2013
Дата актуализации:05.05.2017
Дата введения:01.01.1971
Область применения:Стандарт распространяется на лампы электронные мощностью рассеиваемой анодом, до 25 Вт и устанавливает: метод механического возбуждения; метод индикации при постоянных напряжения на электродах испытываемой лампы с запоминающими индикаторами; метод индикации при переменных напряжениях на электродах испытываемой лампы.
Оглавление:1 Общие требования
2 Метод механического возбуждения
3 Метод индикации при постоянных напряжениях на электродах испытываемой лампы
4 Метод индикации при переменных напряжениях на электродах
5 Проведение испытаний
Приложение 1 Двухрожковый молоточек для испытаний ламп на замыкания и обрывы
Приложение 2
Приложение 3 Кинематическая схема устройства для механического возбуждения ламп при испытании на замыкания и обрывы
Приложение 4 Блок-схемы при испытании ламп на отсутствие замыканий и обрывов при подаче постоянного напряжения на электроды испытываемой лампы
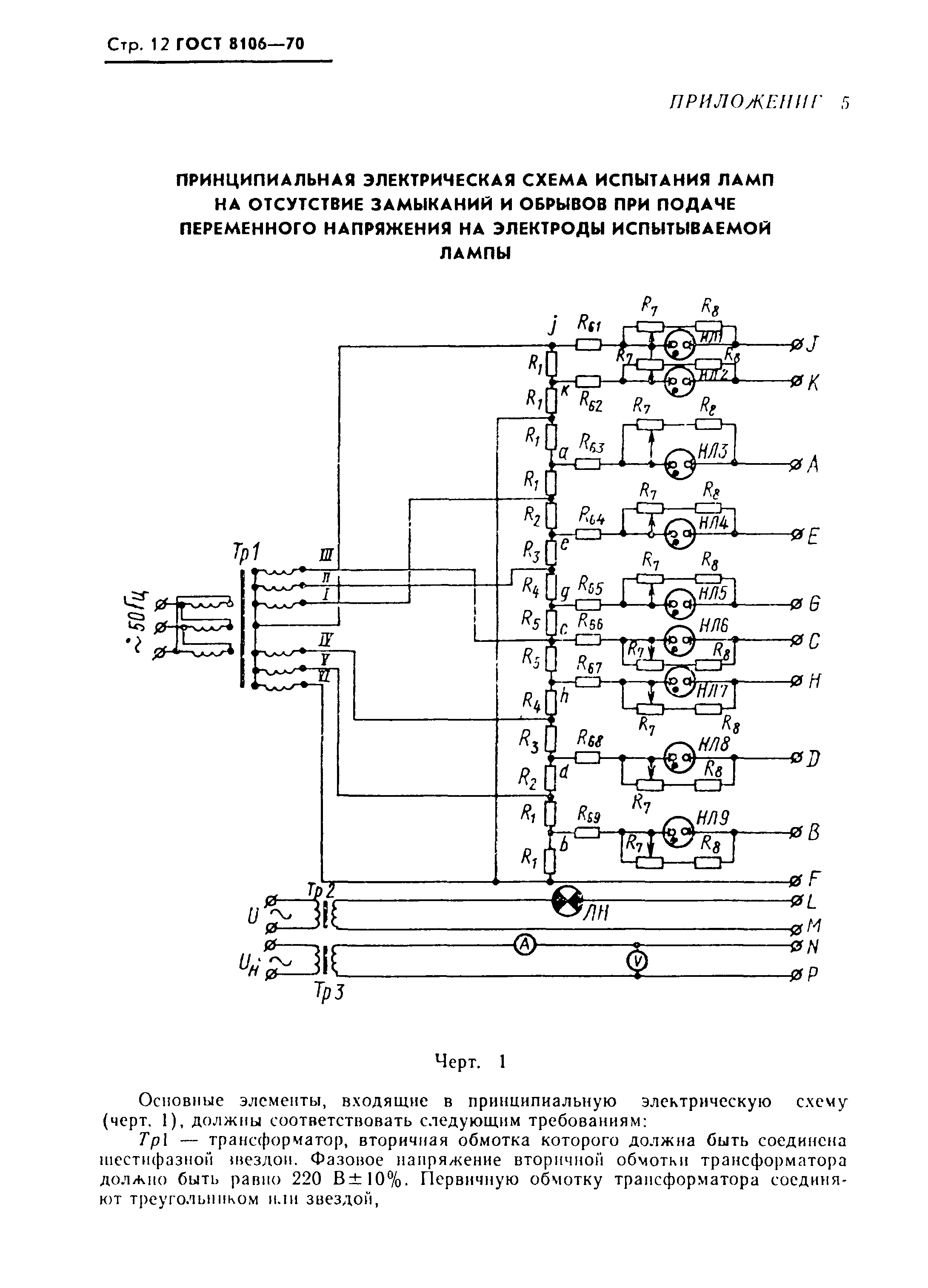
Приложение 5 Принципиальная электрическая схема испытания ламп на отсутствие замыканий и обрывов при подаче переменного напряжения на электроды испытываемой лампы
Приложение 6 (справочное) Таблица перевода значений ускорения в систему СН
Утверждён:07.07.1970 Комитет стандартов, мер и измерительных приборов при Совете Министров Союза ССР (1030)
Расположен в:Техническая документация Электроэнергия ЭЛЕКТРОНИКА Электронные лампы Экология ЭЛЕКТРОНИКА Электронные лампы
Заменяет собой:
  • ГОСТ 8106-56 «Лампы электронные маломощные. Методы испытаний на короткие замыкания и обрывы»
ГОСТ 8106-70ГОСТ 8106-70ГОСТ 8106-70ГОСТ 8106-70ГОСТ 8106-70ГОСТ 8106-70ГОСТ 8106-70ГОСТ 8106-70ГОСТ 8106-70ГОСТ 8106-70ГОСТ 8106-70ГОСТ 8106-70ГОСТ 8106-70ГОСТ 8106-70ГОСТ 8106-70ГОСТ 8106-70ГОСТ 8106-70

© 2013 Ёшкин Кот :-) Карта сайта