| ||||||||||||||||||||||||||||||||||||||||
Скачать ГОСТ 6570-75 Счетчики электрические активной и реактивной энергии индукционные. Общие технические условияДата актуализации: 10.08.2017
|
| Обозначение: | ГОСТ 6570-75 |
| Обозначение англ: | GOST 6570-75 |
| Статус: | не действует |
| Название рус.: | Счетчики электрические активной и реактивной энергии индукционные. Общие технические условия |
| Название англ.: | Electrical induction active and reactive energy meters. General technical specifications |
| Дата добавления в базу: | 01.09.2013 |
| Дата актуализации: | 05.05.2017 |
| Дата введения: | 01.01.1976 |
| Дата окончания срока действия: | 01.07.1997 |
| Область применения: | Стандарт распространяется на стационарные однофазные и трехфазные электрические счетчики индукционной системы (в дальнейшем—счетчики), применяемые для учета активной и реактивной энергии переменного тока частотой от 45 до 65 Гц в условиях умеренного и тропического климата в закрытых помещениях при отсутствии в воздухе этих помещений агрессивных паров и газов. Стандарт не распространяется на образцовые счетчики, на счетчики полной энергии, счетчики с предварительной оплатой, счетчики с указателем максимума нагрузки, счетчики с датчиком импульсов, счетчики потерь энергии в меди и стали, а также на измерительные трансформаторы, подключаемые к счетчикам. Стандарт полностью соответствует СТ СЭВ 1108—78. |
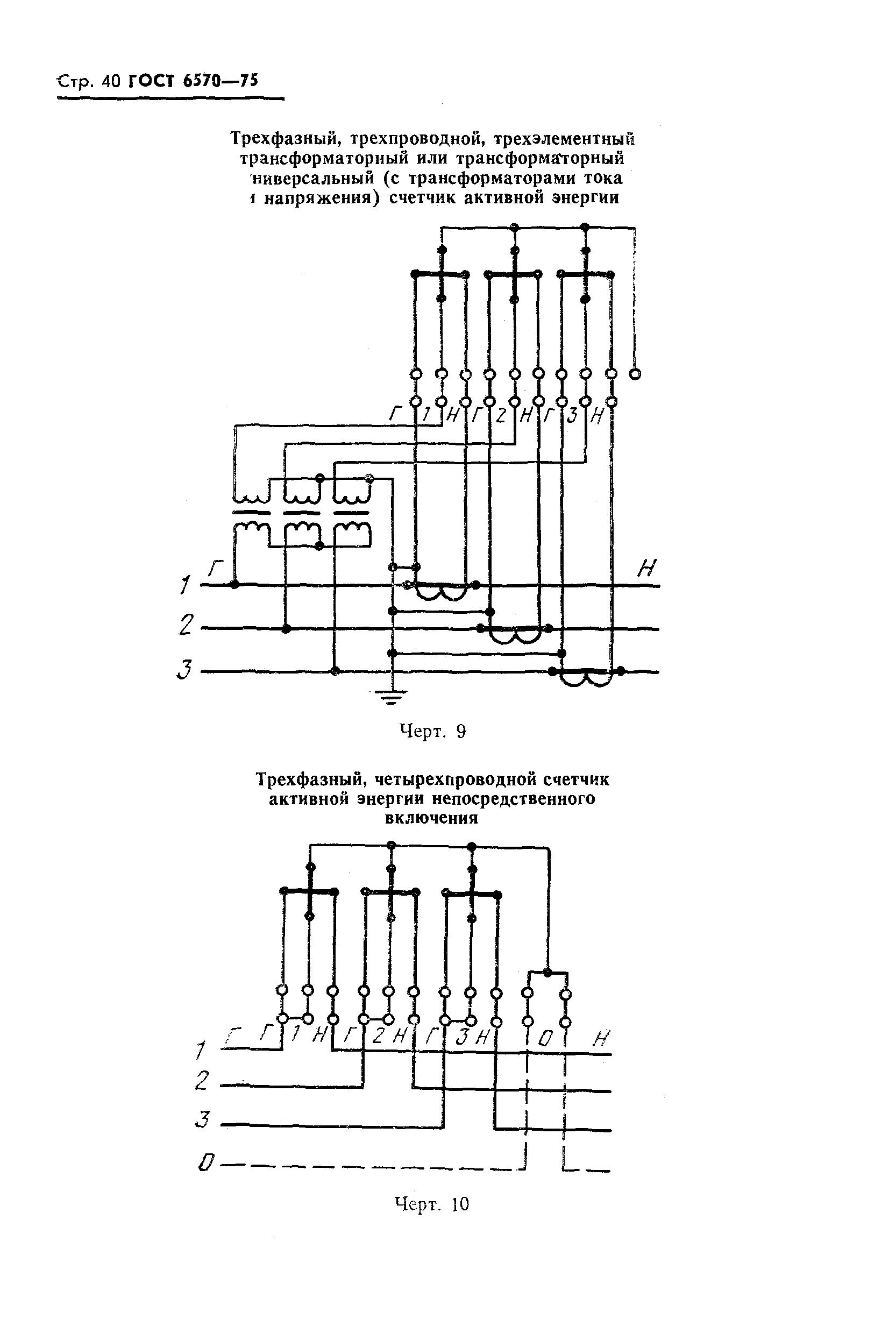
| Оглавление: | 1 Технические требования 2 Требования безопасности 3 Правила приемки 4 Методы испытаний 5 Маркировка, упаковка, транспортирование и хранение 6 Гарантии изготовителя Приложение 1 Схемы включения счетчиков Приложение 2 Обозначения счетчиков Приложение 3 Пояснения к терминам, используемым в настоящем стандарте |
| Утверждён: | 27.02.1975 Госстандарт СССР (USSR Gosstandart 527) |
| Издан: | Издательство стандартов (1987 г. ) |
| Расположен в: | |
| Список изменений: |
|
| Заменяет собой: |
|
| Чем заменён: | |
| Нормативные ссылки: |
|
















































