| ||||||||||||||||||||||||||||||||||
Скачать ГОСТ 588-81 Цепи тяговые пластинчатые. Технические условияДата актуализации: 10.08.2017
|
| Обозначение: | ГОСТ 588-81 |
| Обозначение англ: | GOST 588-81 |
| Статус: | действует |
| Название рус.: | Цепи тяговые пластинчатые. Технические условия |
| Название англ.: | Pulling block chains |
| Дата добавления в базу: | 01.09.2013 |
| Дата актуализации: | 05.05.2017 |
| Дата введения: | 01.07.1981 |
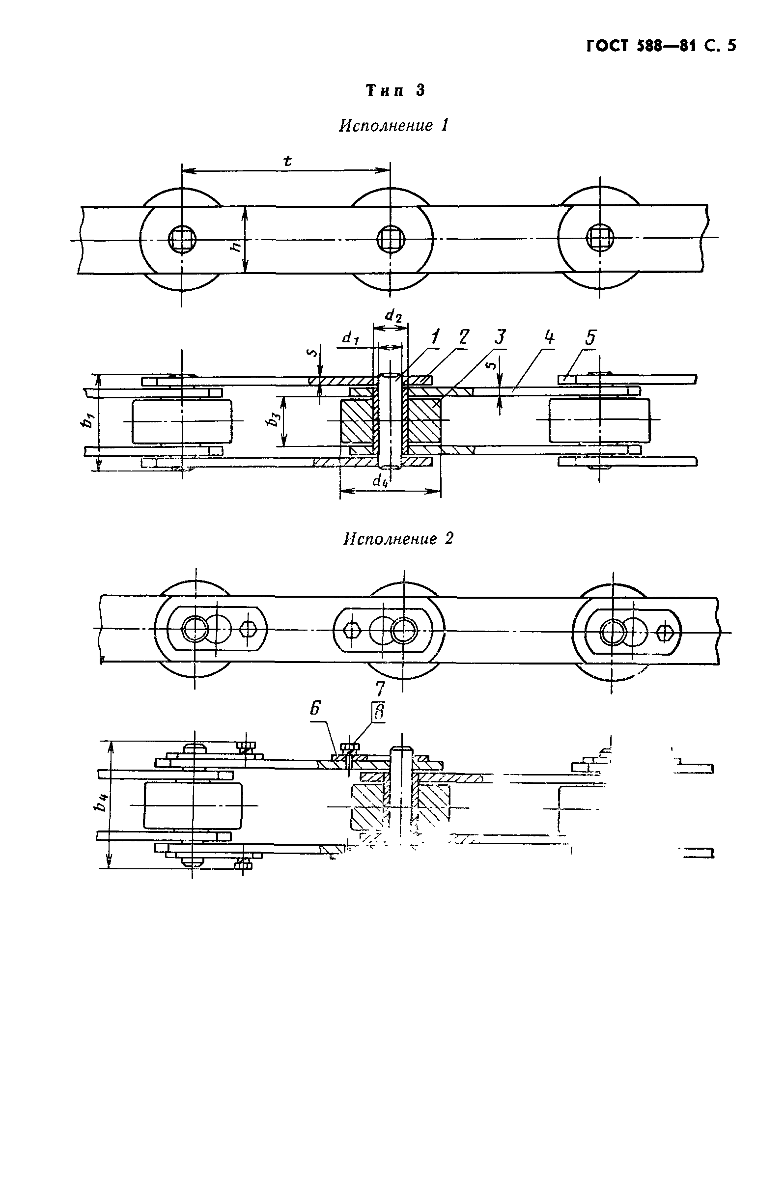
| Область применения: | Стандарт распространяется на тяговые пластинчатые втулочные, роликовые и катковые цепи, применяемые в подъемно-транспортных машинах и других механизмах. |
| Оглавление: | 1 Типы, исполнения, основные параметры и размеры цепей 2 Типы, исполнения и основные размеры присоединительных элементов 3 Технические требования 4 Приемка 5 Методы испытаний 6 Маркировка, упаковка, транспортирование и хранение 7 Гарантии изготовителя |
| Утверждён: | 15.01.1981 Госстандарт СССР (USSR Gosstandart 5) |
| Издан: | Издательство стандартов (1987 г. ) |
| Расположен в: | |
| Заменяет собой: |
|
| Нормативные ссылки: |
|

























