Информационная система
«Ёшкин Кот»

Скачать базу одним архивом
Скачать обновления
История создания базы
Карта сайта

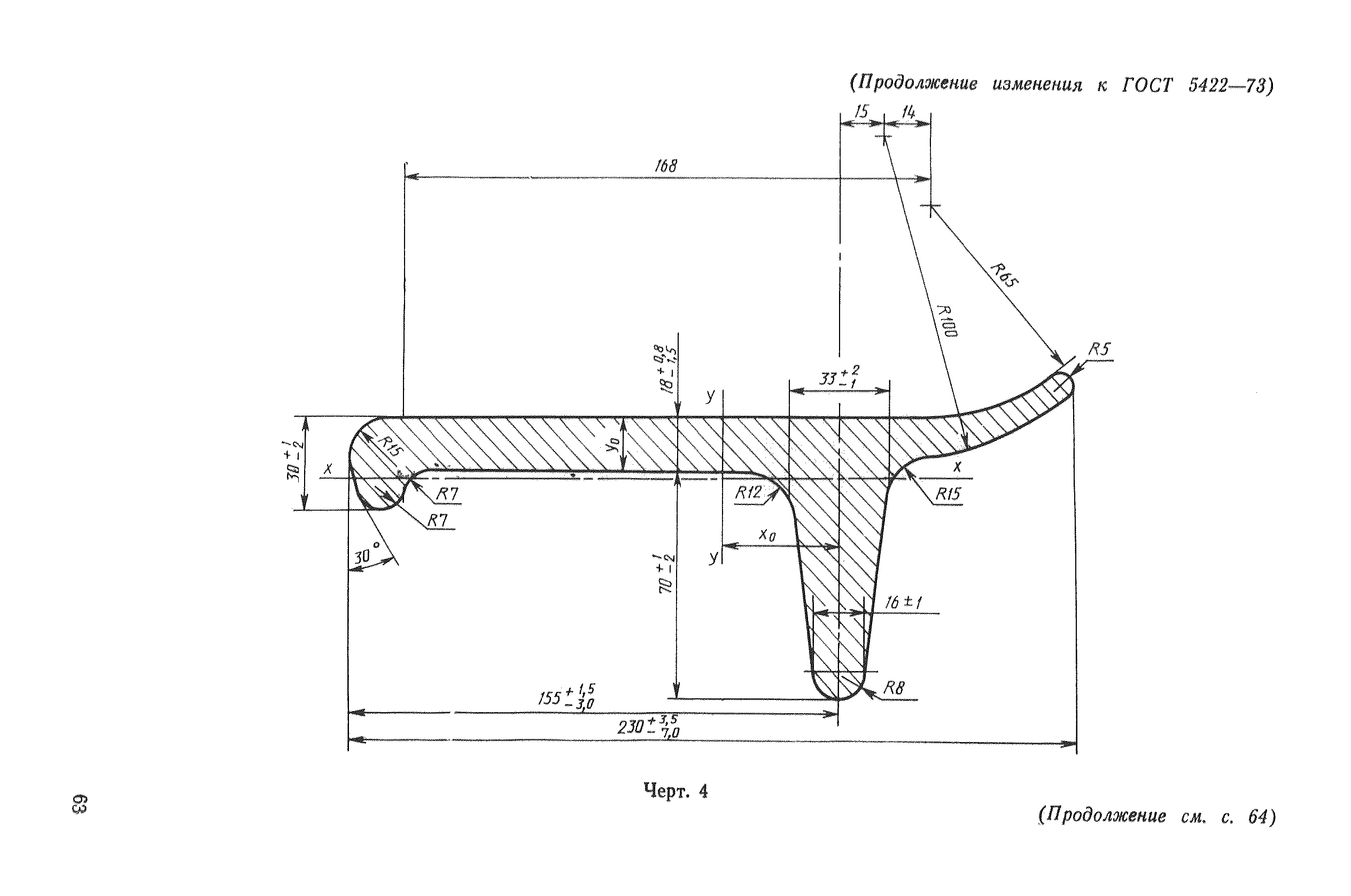
Скачать ГОСТ 5422-73 Профили стальные горячекатаные специальные для тракторов. Технические условия

Дата актуализации: 10.08.2017

ГОСТ 5422-73

Профили стальные горячекатаные специальные для тракторов. Технические условия

Обозначение: ГОСТ 5422-73
Обозначение англ: GOST 5422-73
Статус:взамен
Название рус.:Профили стальные горячекатаные специальные для тракторов. Технические условия
Название англ.:Hot-rolled special steel sections for tractors. Technical specifications
Дата добавления в базу:01.09.2013
Дата актуализации:05.05.2017
Дата введения:01.01.1974
Область применения:Стандарт распространяется на горячекатаные профили, предназначенные для тракторов.
Оглавление:1 Сортамент
2 Технические требования
3 Правила приемки
4 Методы испытаний
5 Маркировка, упаковка, транспортирование и хранение
Разработан: Украинский научно-исследовательский институт металлов
Челябинский филиал НАТИ
Утверждён:05.02.1973 Государственный комитет стандартов Совета Министров СССР (USSR National Committee on Standards at the Cabinet of Ministers 262)
Издан: Издательство стандартов (1974 г. )
Издательство стандартов (1993 г. )
Издательство стандартов (1991 г. )
ИПК Издательство стандартов (2003 г. )
Расположен в:Техническая документация Электроэнергия МЕТАЛЛУРГИЯ Продукция из чугуна и стали Стальные профили Экология МЕТАЛЛУРГИЯ Продукция из чугуна и стали Стальные профили
Список изменений:
Заменяет собой:
Нормативные ссылки:
ГОСТ 5422-73ГОСТ 5422-73ГОСТ 5422-73ГОСТ 5422-73ГОСТ 5422-73ГОСТ 5422-73ГОСТ 5422-73ГОСТ 5422-73

Текстовое изменение № 2 от 01.10.1988

№ 2№ 2№ 2№ 2№ 2№ 2

© 2013 Ёшкин Кот :-) Карта сайта