| ||||||||||||||||||||||||||
Скачать ГОСТ 5392-80 Резцы зубострогальные для прямозубых конических колес. Технические условияДата актуализации: 10.08.2017
|
| Обозначение: | ГОСТ 5392-80 |
| Обозначение англ: | GOST 5392-80 |
| Статус: | действует |
| Название рус.: | Резцы зубострогальные для прямозубых конических колес. Технические условия |
| Название англ.: | Gear shaping tools for common bevel gears, machined by rolling method. Specifications |
| Дата добавления в базу: | 01.09.2013 |
| Дата актуализации: | 05.05.2017 |
| Дата введения: | 01.01.1982 |
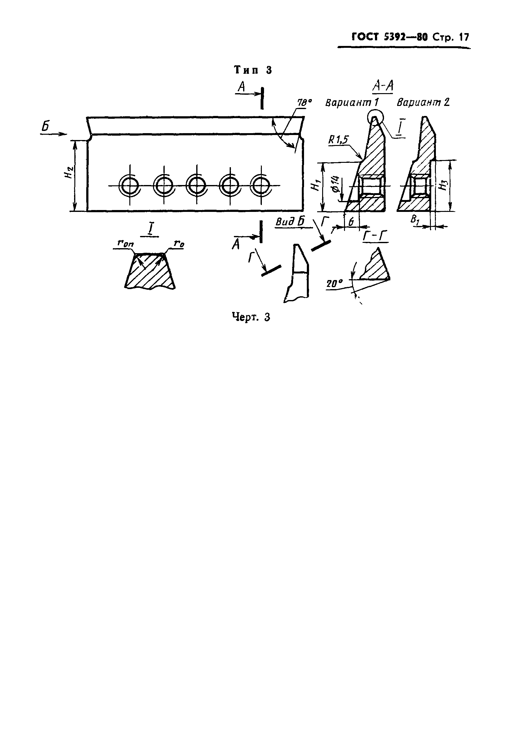
| Оглавление: | 1. Типы и основные размеры 2. Технические требования 3. Правила приемки 4. Методы контроля и испытаний 5. Упаковка, маркировка, транспортирование и хранение Приложение 1. Конструктивные размеры и геометрические параметры резцов |
| Утверждён: | 13.08.1980 Госстандарт СССР (USSR Gosstandart 4220) |
| Расположен в: |






















