Информационная система
«Ёшкин Кот»

Скачать базу одним архивом
Скачать обновления
История создания базы
Карта сайта

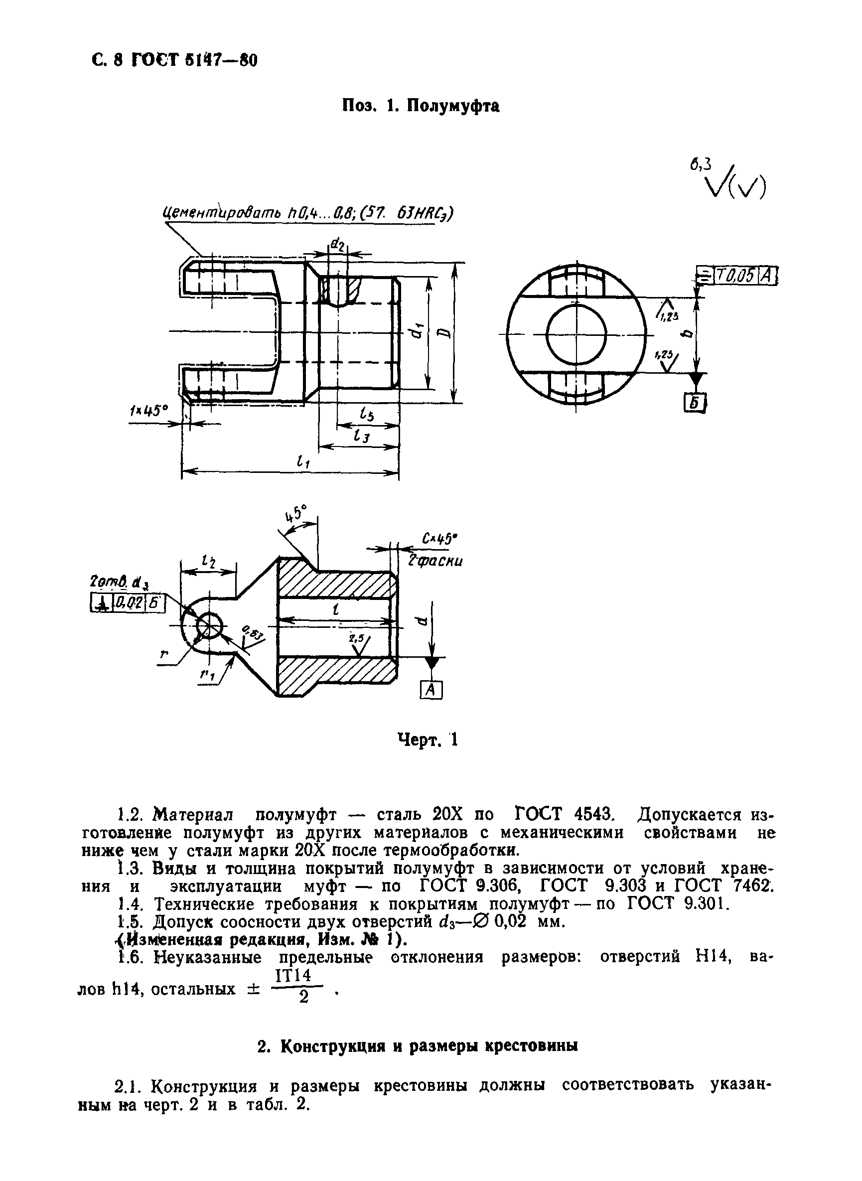
Скачать ГОСТ 5147-80 Муфты шарнирные. Основные параметры. Конструкция и размеры

Дата актуализации: 10.08.2017

ГОСТ 5147-80

Муфты шарнирные. Основные параметры. Конструкция и размеры

Обозначение: ГОСТ 5147-80
Обозначение англ: GOST 5147-80
Статус:заменен
Название рус.:Муфты шарнирные. Основные параметры. Конструкция и размеры
Название англ.:Joint clutches. Basic parameters. Design and dimensions
Дата добавления в базу:01.10.2014
Дата актуализации:05.05.2017
Дата введения:01.01.2002
Область применения:Стандарт распространяется на малогабаритные шарнирные муфты общемашиностроительного применения, предназначенные для соединения цилиндрических валов, которые устанавливают под углом до 45 град. при передаче крутящего момента от 11,2 до 1120 Н*м без смягчения динамических нагрузок, климатических исполнений У и Т для категорий 1 - 3, климатических исполнений УХЛ и О для категории 4 по ГОСТ 15150.
Оглавление:Приложение 1 (обязательное) Конструкция и размеры деталей, входящих в муфту
Приложение 2 (рекомендуемое) Крепежные изделия
Разработан: Министерство станкостроительной и инструментальной промышленности СССР
Утверждён:18.06.1980 Государственный комитет СССР по стандартам (USSR National Committee on Standards 2877)
Издан: Издательство стандартов (1980 г. )
Издательство стандартов (1993 г. )
Расположен в:Техническая документация Электроэнергия МЕХАНИЧЕСКИЕ СИСТЕМЫ И УСТРОЙСТВА ОБЩЕГО НАЗНАЧЕНИЯ Валы и муфты Муфты Экология МЕХАНИЧЕСКИЕ СИСТЕМЫ И УСТРОЙСТВА ОБЩЕГО НАЗНАЧЕНИЯ Валы и муфты Муфты
Список изменений:
Заменяет собой:
  • ГОСТ 5147-69 «Муфты шарнирные. Основные параметры и размеры»
Чем заменён:
Нормативные ссылки:
ГОСТ 5147-80ГОСТ 5147-80ГОСТ 5147-80ГОСТ 5147-80ГОСТ 5147-80ГОСТ 5147-80ГОСТ 5147-80ГОСТ 5147-80ГОСТ 5147-80ГОСТ 5147-80ГОСТ 5147-80ГОСТ 5147-80ГОСТ 5147-80ГОСТ 5147-80ГОСТ 5147-80ГОСТ 5147-80ГОСТ 5147-80

Текстовое изменение № 3 от 01.07.1991

№ 3№ 3

© 2013 Ёшкин Кот :-) Карта сайта